https://www.epo.org/en/searching-for-patents/helpful-resources/patent-knowledge-news/euro-2020-innovation-sports-shoes

From Euro 2020 to innovation in sports shoes

 

To play football you need patented shoes.

 

With football fans in Europe and beyond glued to the TV since Euro 2020 kicked off, we thought now would be a good time to share some fun facts about a major invention that has had a big impact on sports-shoe development.

Let's start with a quick look at the footwear industry today. If the pandemic has changed the way we work, shop and live our lives, it has only confirmed our penchant for the casual ease and comfort of athleisure fashion. In the non-athletic footwear segment, the popularity of trainers is growing in tandem with the number of patents for their manufacture. In the athletic footwear segment, major players such as Nike, adidas, Puma, New Balance, Asics and Under Armour dominate both the market and patent filings. The increasing attractiveness of these brands and the high prices they fetch have led to a rise in counterfeiting in developing economies, making intellectual property rights and their enforcement essential.

Sports shoes and patents go way back ...

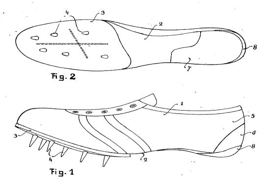
As early as 1936, Jesse Owens earned a place in the history books by winning four gold medals at the Berlin Olympics. He achieved these incredible feats wearing a new type of running shoe made with long spikes especially for the track and a low-cut leather upper which was supple enough to allow the foot to bend while running.

 

Photo: Imago images/adidas

Interestingly, Jesse got the sophisticated footwear from a certain Adi Dassler, the founder of adidas.

 

DE1605642U

Changes in shoe construction since that historic summer have also affected how patents are examined. For decades, the shoe's main component, the sole, was moulded. Sole components were fixed to uppers by simple mechanical means, i.e. gluing and stitching. Layers of different materials were glued together to form the soles, and only simple shapes were used. Patent examiners searching prior art in footwear would mostly limit their search to their field. They would also face simple inventive-step problems as they would generally combine documents relating only to footwear.

How modern shoes are made now and in the future has been turned upside-down by new innovative developments such as 3D printing of shoe components. And this has disrupted how we search and examine. Nowadays, footwear prior art can come from areas as unrelated - and non-obvious - as aeronautics. So, as Stephen Hawking once said, "remember to look up at the stars and not down at your feet". Prior-art searching today is an interdisciplinary task that is becoming increasingly advanced. When diving into substantive examination, essential questions on inventive step have become application-related.

One thing is certain: disruptive innovation disrupts the way we examine patents. To stay on top of our game, we need to adapt as well.