https://www.epo.org/en/searching-for-patents/helpful-resources/patent-knowledge-news/patenticulars

Patenticulars

Image
Easter eggs in basket keyvisual

Easter egg hunting challenge

 

Ready for an intellectual Easter egg hunt, where we get to test you on your patent information knowledge?
Here are a number of egg-related challenges. See how many eggs you can put in your basket!

Challenge 1

We once published an article in Patent Knowledge News about eggs. When was this, and what was the article about?

Challenge 2

Is there a classification symbol for eggs? If so, which one?

Challenge 3

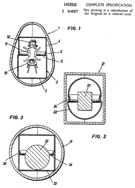
Find an Easter-themed device designed primarily for children, and patented by an inventor who is also the applicant. The invention, which comprises a holder and a rotating axis, makes it easier to decorate eggs with pencils, pens or paint.
Hint: the publication year is the same year as the discovery of the remains of a famous human ancestor from around 3.2 million years ago.

Challenge 4

This is the drawing of a famous chocolate egg published in a patent document in 1976. Who was the applicant? How long was the patent valid in the UK?

 

Challenge 5

Hi, I'm an Easter bunny. It's common knowledge to us Easter Bunnies that the "0" in the C0 marker for the Unitary Patent is really an Easter egg. Well, it does look like an Easter egg, doesn't it?

What colour will the symbol for the Unitary Patent have in Espacenet and the Register?

Challenge 6

Find inventions for devices that separate egg yolks from egg whites.
Hint: it's always a good idea to include relevant classification symbols in your search.

Challenge 7

Ever since childhood, we've known that it's the Easter bunny who lays those colourful Easter eggs and hides them for us to find. But is this fantasy or fact? Well, actually, we have proof that the Easter bunny really exists. Can you find one of these incredibly shy and rare creatures in Espacenet?
Hint: see if you can find the right subgroup for A63H 13 in Espacenet Classification search.

Challenge 8

Search in Espacenet for inventions which enable users to place "Easter eggs" on web pages.
Hint: inventors from the US and the UK came together to produce these inventions.
Hint 2: there are also Easter eggs which are neither egg-shaped nor coloured nor made of chocolate. Especially in the world of media, Easter eggs can even take on completely different meanings.


Keywords: Espacenet, classification, CPC