https://www.epo.org/fr/searching-for-patents/helpful-resources/patent-knowledge-news/pk-news-vous-souhaite-de-bonnes

PK News vous souhaite de bonnes vacances !

Chères lectrices, chers lecteurs,

Quelle heure est-il ? L'heure de l'été, des vacances, du repos et de la détente ! Patent Knowledge News aussi fera une pause estivale et vous retrouvera le 12 septembre avec des nouvelles fraîches du monde de la connaissance des brevets.

Nous tenons à remercier ici toutes les personnes qui ont répondu à notre enquête de satisfaction sur Patent Knowledge News. Cette enquête maintenant terminée nous a apporté des avis très précieux et quelques propositions d'amélioration utiles que nous essaierons de mettre en place à l'avenir.

Avant de vous laisser partir pour une pause estivale bien méritée, voici quelques technologies inventives et drôles pour vous tenir au frais, vous hydrater et vous divertir pendant vos vacances.

1.    Ombrelle à bière


Source 1: US2003075208A1

Vous craignez que votre boisson fraîche ne chauffe sous le soleil brûlant de cet été ? Pas d'inquiétude grâce à cette invention : une petite ombrelle détachable où vous clipsez le récipient pour le garder à l'ombre en permanence. Une solution stylée et pratique, si vous voulez notre avis !

2.    Support rotatif pour cornet de glace


Source 2: US10278409B1

Vous en avez assez de vous salir les mains quand vous mangez une glace en cornet ? Alors cette invention est idéale pour vous. Elle comporte un petit réceptacle retenant les gouttes de glace mais aussi une poignée pour tourner le cornet et ainsi savourer pleinement votre glace. Tout simplement génial !

3.    Lunettes pour animaux domestiquess


Source 3: JP2002156612A

N'oublions pas nos chers animaux de compagnie. Voici une invention faite pour eux : une paire de lunettes de soleil munie d'une attache pour l'empêcher de glisser. Vos animaux en ont-ils besoin ? Probablement pas, mais ils auront à coup sûr un look sensationnel !

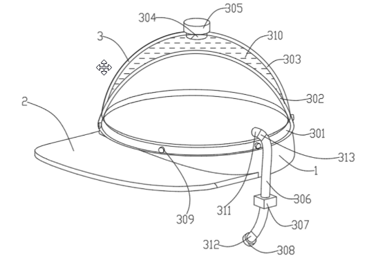
4.    Casquette rafraîchissante sous la chaleur estivale


Source 4: CN212754453U

Hydratation en permanence ? Oui. Protection contre le soleil ? Deux fois oui. Cette casquette multifonctions vous permet de boire de l'eau par une paille tout en vous protégeant du soleil grâce à sa visière intégrée. Idéale pour les personnes actives et sportives en randonnée mais aussi pour celles qui préfèrent bronzer tranquillement près de la piscine !

5.    Sport et jeu


Source 5: EP2890465A2

Pour terminer, voici un jeu idéal pour la plage cet été : un anneau à lancer puis à rattraper avec un bâton. Une sorte de frisbee avec bâton. Un jeu nouveau qui rendra certainement jaloux les autres amateurs de plage !


Voilà pour aujourd'hui. En espérant que vous avez apprécié cet article sur des inventions tout en fraîcheur, nous vous souhaitons de bonnes vacances !