AUS DEN VERTRAGS- / ERSTRECKUNGSSTAATEN
DE Deutschland
Urteil des Bundesgerichtshofs vom 2. März 1999
(X ZR 85/96)*
Stichwort "Spannschraube"
Artikel 69 EPÜ und Auslegungsprotokoll
Schlagwort: "Auslegung und Schutzbereich des (europäischen) Patents - Auslegung nach Gesamtinhalt der Patentschrift - Verständnis des Fachmanns - Patentschrift als eigenes Lexikon - Äquivalente Ausführungsform (verneint) - EP 0 319 521 - Auslegungsregeln"
Leitsätze:
1. Bei der Auslegung eines europäischen Patents ist nicht am Wortlaut zu haften, sondern auf den technischen Gesamtzusammenhang abzustellen, den der Inhalt der Patentschrift dem Fachmann vermittelt. Nicht die sprachliche oder logisch-wissenschaftliche Bestimmung der in der Patentschrift verwendeten Begriffe ist entscheidend, sondern das Verständnis des unbefangenen Fachmanns.
2. Patentschriften stellen im Hinblick auf die dort gebrauchten Begriffe gleichsam ihr eigenes Lexikon dar. Weichen diese vom allgemeinen (technischen) Sprachgebrauch ab, ist letztlich nur der aus der Patentschrift sich ergebende Begriffsinhalt maßgeblich.
3. Der Schutzbereich eines europäischen Patents kann nicht auf Ausführungsformen erstreckt werden, die Ersatzmittel verwenden, die völlig oder bis zu einem praktisch nicht mehr erheblichen Umfang auf den mit dem Patent erstrebten Erfolg verzichten.
Sachverhalt und Anträge
Die Klägerin ist ausschließliche Lizenznehmerin an dem europäischen Patent 0 319 521 (Klagepatent) (...).
Anspruch 1 des (...) Klagepatents lautet:
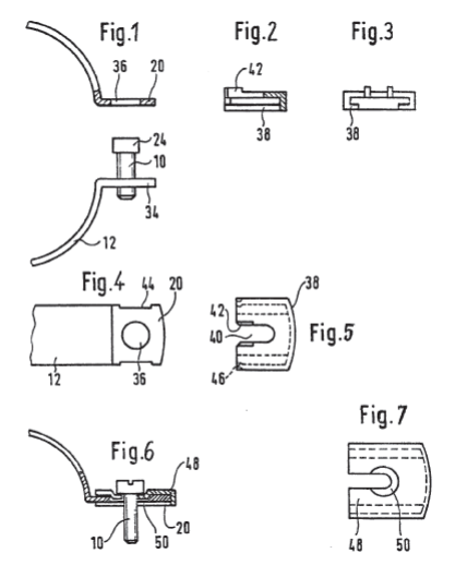
"Rohrschelle, bestehend aus einem ringförmigen Bügel (12) mit wenigstens einer Öffnung, die durch eine Spannschraube (10) schließbar ist, deren Fuß auf der einen Seite der Öffnung mit Gewindeeingriff gelagert und deren Kopf (24) auf der anderen Seite der Öffnung durch ein Loch (36) in einem am Bügel (12) angebrachten Flansch (20) hindurchführbar und festlegbar ist, dadurch gekennzeichnet, daß der Kopf (24) der Spannschraube (10) mit Bezug auf deren Mittellängsachse axial durch das Loch (36) im Flansch (20) hindurchführbar ist und durch eine vor dem Spannen zwischen Kopf (24) und Flansch (20) eingeführte, mit einem am Ende offenen Langloch (40) ausgebildete Unterlegscheibe (38) gehalten ist." (...)

Dateiname X 072 DE E.PDF
Die Beklagte (...) vertreibt Rohrschellen (...). Für diese ist unter Berücksichtigung des Klagepatents 1993 das europäische Patent 0 471 989 erteilt worden. (...) Die Klägerin hat die Beklagte wegen Patentverletzung im Gebiet der Bundesrepublik Deutschland (...) in Anspruch genommen.
Das Landgericht hat der Klage stattgegeben. Das Berufungsgericht hat (...) die Klage abgewiesen. Dagegen richtet sich die Revision der Klägerin, mit der sie die Wiederherstellung des landgerichtlichen Urteils begehrt. Die Beklagte bittet um Zurückweisung des Rechtsmittels.
Aus den Gründen
Die Revision bleibt ohne Erfolg.
I. 1. Die Erfindung betrifft eine Rohrschelle, die aus einem ringförmigen Bügel mit wenigstens einer Öffnung besteht, die durch eine Spannschraube geschlossen werden kann (Sp. 1 Z. 4 ff. der Klagepatentschrift).
Rohrschellen dieser Art waren am Prioritätstag des Klagepatents bekannt. Nach der Klagepatentschrift (Sp. 1 Z. 13-33) ist beispeisweise eine solche Rohrschelle in der deutschen Offenlegungsschrift 3 308 459 beschrieben. (...) Die Klagepatentschrift befaßt sich weiter mit der aus der deutschen Offenlegungsschrift 3 346 423 bekannten Rohrschelle (Sp. 1 Z. 34-54) (...).
2. Hiervon ausgehend wird als Aufgabe bezeichnet, eine Rohrschelle der bekannten Art zur Verfügung zu stellen, "die sich auch mit einer sehr kurzen Spannschraube gut handhaben und leicht schließen läßt". (...)
Im einzelnen besteht die Lösung in einer Kombination der folgenden Merkmale:
1. Die Rohrschelle besteht aus
a) einem ringförmigen Bügel (12)
b) mit wenigstens einer Öffnung,
c) die durch eine Spannschraube (10) schließbar ist.
2. Der Fuß der Spannschraube (10) ist auf der einen Seite der Öffnung mit Gewindeeingriff gelagert.
3. Der Kopf (24) der Spannschraube (10) ist
a) auf der anderen Seite der Öffnung durch ein Loch (36) in einem am Bügel (12) angebrachten Flansch (20) hindurchführbar, und zwar
aa) mit Bezug auf deren Mittelachse axial,
b) und dort durch eine Unterlegscheibe (38) gehalten,
aa) die mit einem an einem Ende offenen Langloch (40) ausgebildet ist und
bb) die vor dem Spannen zwischen Kopf (24) und Flansch (20) eingeführt ist. (...)
II. Nach ständiger Rechtsprechung des Senats unterliegt die Auslegung des Klagepatents durch den Tatrichter der vollen Nachprüfung durch das Revisionsgericht. Dieses ist an die Auslegung des Berufungsgerichts nicht gebunden; vielmehr kann es das Klagepatent selbst auslegen (u.a. Urteil. v. 22.3.1983 - X ZR 9/82, GRUR 1983, 497, 498 - Absetzvorrichtung; Urteil v. 26.9.1996 - X ZR 72/94, GRUR 1997, 116, 117 - Prospekthalter m.w.N.). Die Grundlagen der Auslegung liegen allerdings im Bereich der Tatsachenfeststellung des Tatrichters, die (...) für das Revisionsgericht bindend ist, falls insoweit keine zulässigen und begründeten Revisionsangriffe erhoben worden sind. In den Tatsachenbereich gehört es, wenn im Rahmen der Ermittlung des in der Patentschrift offenbarten Erfindungsgegenstandes festgestellt wird, wie der Durchschnittsfachmann die in den Patentansprüchen verwendeten Begriffe unter Berücksichtung der Beschreibung und der Zeichnungen versteht und welche konkreten Vorstellungen er mit ihnen und mit dem geschilderten Erfindungsgedanken verbindet (u.a. Urteil v. 20.12.1979 - X ZR 85/78, GRUR 1980, 280, 281 - Rolladenleiste; Urteil v. 22.9.1983 - X ZR 9/82, GRUR 1983, 497, 1987 - Absetzvorrichtung; Urteil v. 26.9.1996 X ZR 72/94, GRUR 1997, 116 Prospekthalter; vgl. auch Urteil v. 5.6.1997 - X ZR 73/95, NJW 197, 3377 - Weichvorrichtung II1).
III. 1. Das Berufungsgericht hat zu dem - einzigen streitigen - Merkmal 3 b) bb) des Patentanspruchs 1 des Klagepatents im wesentlichen ausgeführt: Das Verständnis des Fachmanns werde davon geprägt, was mit dem Merkmal der "eingeführten Unterlegscheibe" erreicht werden solle. Der Fachmann erkenne, daß man derartige Rohrschellen nur dann mit minimal kurzen Schrauben ausstatten könne und daß nur dann minimale Drehwege zum Anziehen der Schrauben benötigt würden, wenn nach dem Hindurchführen des Schraubenkopfes durch das Loch des Flansches die Unterlegscheibe auf einer Bahn zwischen den Ebenen in Spannposition geführt werde, welche durch die Flanschfläche und die Schraubenkopfspannfläche gebildet werden. (...)
2. Die Revision beanstandet, das Berufungsgericht habe das Merkmal 3 b) bb) fehlerhaft in dem Sinne gedeutet, daß die Unterlegscheibe geradlinig (translatorisch) und nicht auf einer Kreisbahn in die Spannposition gebracht werde. (...) Damit habe das Berufungsgericht den Hauptanspruch des Klagepatents unter seinen Wortlaut eingeschränkt. Diese Interpretation lasse die zur Auslegung von Patentschriften entwickelten Grundsätze der Rechtsprechung außer acht und übergehe wesentliches Vorbringen der Klägerin. (...)
3. Damit hat die Revision keinen Erfolg.
a) Zutreffend geht das Berufungsgericht von den Grundsätzen aus, die der Senat in ständiger Rechtsprechung zur Auslegung eines europäischen Patents entwickelt hat. Nach Art. 69 Abs. 1 EPÜ wird der Schutzbereich des Patents durch den Inhalt der Patentansprüche bestimmt, wobei die Beschreibung und die Zeichnungen zur Auslegung der Patentansprüche heranzuziehen sind. Inhalt bedeutet nicht Wortlaut, sondern Sinngehalt. Maßgebend ist (...) der Offenbarungsgehalt der Patentschrift, soweit dieser Niederschlag in den Ansprüchen gefunden hat. Dies ergibt sich aus dem Protokoll über die Auslegung des Art. 69 Abs. 1. (...). Danach dient die Auslegung nicht nur zur Behebung etwaiger Unklarheiten in den Patentansprüchen, sondern auch zur Klarstellung der in den Patentansprüchen verwendeten technischen Begriffe sowie zur Klärung der Bedeutung und der Tragweite der Erfindung (st. Rspr. des Sen. als BGHZ 105, 1 - Ionenanalyse2; BGHZ 133, 1 - Autowaschvorrichtung3; vgl. auch zu § 14 PatG: BGH Z 98, 12 - Formstein4). Für die Beurteilung entscheidend ist dabei die Sicht des in dem jeweiligen Fachgebiet tätigen Fachmanns. Begriffe in den Patentansprüchen und in der Patentbeschreibung sind deshalb so zu deuten, wie sie der angesprochene Durchschnittsfachmann nach dem Gesamtinhalt der Patentschrift unter Berücksichtigung von Aufgabe und Lösung der Erfindung versteht (Urteil v. 31.1.1984 - X ZR 7/82, GRUR 1984, 425, 426 - Bierklärmittel; Urteil v. 26.9.1996 - X ZR 72/94, GRUR 116, 117 f. - Prospekthalter; Urteil v. 29.4.1997 X ZR 101/93, GRUR 1998, 133, 134 - Kunststoffaufbereitung.
Aus der Sicht des fachkundigen Lesers wird durch das streitige Merkmal 3 b) bb) des Anspruchs 1 des Klagepatents dem Wortlaut nach nur Schutz für eine Unterlegscheibe begehrt, die vor dem Spannen zwischen Schraubenkopf und Flansch eingeführt ist. Auf welche Weise die Unterlegscheibe in die Spannposition gebracht wird, erschließt sich aus dem Wortlaut nicht. Um den Sinngehalt und die Bedeutung dieses Merkmals verstehen zu können, wird der Fachmann zu ermitteln suchen, was mit dem streitigen Merkmal im Hinblick auf die Erfindung erreicht werden soll. Das Verständnis des Fachmanns wird sich deshalb entscheidend an dem in der Patentschrift zum Ausdruck gekommenen Zweck des einzelnen Merkmals orientieren (Benkard/Ullmann, Patentgesetz Gebrauchsmustergesetz, 9. Aufl., § 13 PatG Rdn. 72). Dabei wird der Fachmann nicht nur den Wortlaut aller Patentansprüche, sondern den gesamten Inhalt der Klagepatentschrift zu Rate ziehen. Belehrt der Stand der Technik ihn darüber, daß eine Auslegung in dieser oder jener Richtung nicht in Betracht kommen kann, etwa deshalb, weil die betreffende Vorrichtung nicht ausführbar erscheint, so wird er diese Auslegungsmöglichkeit verwerfen, auch wenn sie nach dem Wortlaut an sich in Betracht käme. Bei solcher Sachlage ist die durch das Patent gekennzeichnete Lehre auf die verbleibende Ausführung beschränkt, die der dem Durchschnittsfachmann bekannte Stand der Technik als ausführbar zuläßt und die der Fachmann allein in Betracht zieht. Der Inhalt einer Patentschrift kann daher den Offenbarungsgehalt eines Patents begrenzen, wenn der Fachmann der Gesamtheit der Patentschrift eine engere Lehre entnimmt, als diejenige, die der Wortlaut eines Merkmals zu vermitteln scheint (vgl. Benkard/Ullmann, a.a.O., § 14 PatG Rdn. 67).
b) Dementsprechend hat das Berufungsgericht (...) den Sinngehalt des Patentanspruchs 1 des Klagepatents ermittelt. Es hat dabei festgestellt, wie der (...) Fachmann den Begriff "eingeführte Unterlegscheibe" im Patentanspruch 1 des Klagepatents (...) versteht. Nach den (...) Feststellungen des Berufungsgerichts wird der Fachmann aufgrund der ihm in der Klagepatentschrift vermittelten Kenntnisse über den Stand der Technik und des mit der Erfindung zu lösenden technischen Problems erkennen, daß die im Stand der Technik benutzten langen Schrauben und Schraubwege Folgen der ungünstigen Bewegung zwischen Spannschraubenkopf und Spannflansch sind und nicht Folge des "Eingeführtseins". Er wird ferner erkennen, daß bei der einen Lösung des Standes der Technik deshalb lange Schrauben erforderlich sind, weil der Schraubenkopf auf einer Kreisbahn mit Drehmittelpunkt nahe der Flansche in Spannposition bewegt wird, während bei der anderen Lösung nach dem Stand der Technik die langen Schrauben dadurch bedingt sind, daß Schraubenkopf und Flanschfläche auf einer angenähert zykloiden- oder evolventenförmigen Bahn zueinander in Spannposition gebracht werden. Durch diese Erkenntnisse wird der Fachmann davon abgehalten, die Lehre des Merkmals 3 b) bb) im Sinne der Revision dahin zu verstehen, das es nur auf das "Eingeführtsein" ankommt. Vielmehr wird er diese Lehre dahin deuten, das sie sich darauf bezieht, auf welchem Weg bzw. mit welcher Bewegungsform die Unterlegscheibe in Spannposition gebracht wird. (...)
Dieser (...) vom Berufungsgericht tatrichterlich festgestellte und für das Revisionsverfahren hinzunehmende Sinngehalt bedeutet keine Beschränkung unter den Wortlaut, sondern eine Auslegung gemäß dem Wortlaut, wie er vom Fachmann nach dem Gesamtinhalt der Klagepatentschrift sinnvoll verstanden werden muß.
c) Die Revision kann dem nicht entgegenhalten, aus dem Wortlaut des Merkmals 3 b) bb) (...) folge, daß es nicht auf die Bewegung des Einführens der Unterlegscheibe, sondern auf den Zustand ankomme, der durch das "Einführen" bewirkt worden sei (...). Ob im allgemeinen technischen Sprachgebrauch das Wort "eingeführt" in diesem Sinne verstanden wird, kann dahinstehen. Für die Auslegung eines Patents ist nicht am Wortlaut zu haften, sondern auf den technischen Gesamtzusammenhang abzustellen, den der Inhalt dem Durchschnittsfachmann vermittelt. Der Patentanspruch ist nicht wörtlich in philologischer Betrachtung, sondern seinem technischen Sinn nach aufzufassen, das heißt der Erfindungsgedanke muß unter Ermittlung von Aufgabe und Lösung, wie sie sich aus dem Patent ergeben, bestimmt werden. Der Senat hat daher die rein sprachliche Ausdeutung eines in der Patentschrift verwendeten Begriffs abgelehnt und auf den technischen Sinn der in der Patentschrift benutzten Worte und Begriffe abgestellt (Urteil v. 30.6.1964 - X ZR 109/63, GRUR 1964, 612, 615 - Bierabfüllung; Urteil v. 12.11.1974 - X ZR 76/68, GRUR 1975, 422, 424 - Streckwalze II, vgl. auch für das Einspruchsverfahren Senatsbeschl. v. 17.1.1995 - X ZB 15/93, GRUR 195, 330, 332 - Elektrische Steckverbindung). Dies gilt auch für die Auslegung eines europäischen Patents. Entscheidend ist deshalb nicht die sprachliche oder logisch-wissenschaftliche Begriffsabstimmung, sondern die Auffassung des praktischen Fachmanns (...). Diese Auffassung wird, soweit ersichtlich, auch im europäischen Ausland geteilt (vgl. EPA GRUR Int. 1994, 59, 60, 61 - Waschmittel/UNILEVER5, m.w.N.; House of Lords GRUR Int. 1982, 136 - Stahlträger II; Court of Appeal R.P.C. 1997, 737, 752).
(...) Zwar können der allgemeine Sprachgebrauch wie auch der allgemeine technische Sprachgebrauch Anhaltspunkte für das Verständnis des Fachmanns geben. (...) Allerdings wird stets zu berücksichtigen sein, daß Patentschriften im Hinblick auf die dort gebrauchten Begriffe gleichsam ihr eigenes Lexikon darstellen, die Begriffe abweichend vom allgemeinen Sprachgebrauch benutzt werden können und daß letztlich nur der aus der Patentschrift sich ergebende Begriffsinhalt maßgeblich ist. Deshalb wird für einen Rückgriff auf den allgemeinen Sprachgebrauch um so weniger Raum sein, desto eindeutiger der Wortlaut des Merkmals und seine Bestimmung aus dem Inhalt der Patentschrift erscheint (...).
e) Nicht durchdringen kann die Revision mit der Rüge, das Berufungsgericht habe bei der Auslegung des europäischen Klagepatents dessen englische und französische Fassung berücksichtigen müssen. Nach Art. 70 Abs. 1 EPÜ stellt der Wortlaut eines europäischen Patents in der Verfahrenssprache (...) in jedem Vertragsstaat die verbindliche Fassung dar. Der Wortlaut der Patentansprüche in den anderen Amtssprachen des Europäischen Patentamts ist demgegenüber ohne Gewicht. Er läßt lediglich Rückschlüsse darauf zu, wie der Übersetzer den Wortlaut in der Verfahrenssprache verstanden hat. (...)
IV. Das Berufungsgericht hat die Verletzung des Klagepatents durch die angegriffene Rohrschelle verneint, weil diese weder dem Wortlaut nach noch mit patentrechtlich äquivalenten Mitteln von der Lehre des Patentanspruchs 1 Gebrauch mache.
1. (...)
2. Das Berufungsgericht hat eine wortlautgemäße Verwirklichung des zwischen den Parteien streitigen Merkmals 3 b) bb) verneint. Es hat dazu ausgeführt: Bei der angegriffenen Ausführungsform werde die Fangplatte (Unterlegscheibe) vor dem Spannen nicht im Sinne des streitigen Merkmals geradlinig zwischen Kopf und Flansch "eingeführt". Vielmehr werde die Fangplatte auf einer Kreisbahn, deren Drehpunkt in der Nähe eines Rohrschellenflansches liege, in Spannposition gebracht. Damit verzichte die angegriffene Ausführungsform auf den Nutzen der Lehre des Merkmals 3 b) bb) und bediene sich hinsichtlich der Bewegungsform von Schraubenkopf und Spannfläche eines Rohrschellenflansches der aus dem Stand der Technik bekannten kreisförmigen Bewegungsform, die mit der im Merkmal 3 b) bb) angesprochenen "Einführung" der Unterlegscheibe zwischen Kopf und Flansch nicht gemeint sei.
Die hiergegen vorgebrachten Rügen der Revision haben keinen Erfolg.
(...) Maßgebend ist, daß im Unterschied zur Lehre des Klagepatents bei der angegriffenen Vorrichtung die Fangplatte auf einer Kreisbahn in Spannposition gebracht wird und durch diese Bewegungsform gerade auf die Vorteile verzichtet, die mit dem Einführen der Unterlegscheibe im Sinne des Merkmals 3 b) bb) bezweckt sind.
3. Nach Auffassung des Berufungsgerichts ist die angegriffene Rohrschelle der patentgemäßen Lösung auch nicht patentrechtlich äquivalent, weil die von der Klägerin beanspruchten Mittel den patentgemäßen in der technischen Funktion nicht entsprächen und mit ihnen nicht im wesentlichen gleichwirkend seien. (...)
Die Revision macht demgegenüber geltend, das Berufungsgericht habe auch prüfen müssen, ob die Verletzungsform der geschützten Vorrichtung unter dem Gesichtspunkt der "verschlechterten Ausführung" patentrechtlich äquivalent sei, wozu es nach der Rechtsprechung genüge, daß die angegriffene Ausführungsform die Vorteile der Erfindung in einem praktisch erheblichen Masse erreiche. Das sei auch hier der Fall, wenn man entgegen der Meinung des Berufungsgerichts davon ausgehe, daß die erfinderische Leistung des Klagepatents sich nicht auf das Ziel beschränke, eine mit möglichst kurzen Spannschrauben verwendbare Rohrschelle zur Verfügung zu stellen, (...).
Auch hiermit hat die Revision keinen Erfolg. (...) Wie bereits vorstehend ausgeführt und im angefochtenen Urteil rechtsfehlerfrei festgestellt wurde, steht die Verkürzung der Spannschrauben und Spannwege eindeutig im Vordergrund der Lehre des Klagepatents. Sie ist nicht lediglich eine von mehreren in etwa gleichgewichtigen Teilaspekten, wie die Revision meint. Die Lehre des Klagepatents beschränkt sich auch nicht auf eine "gewisse Verkürzung" in völlig unbestimmter Größenordnung. Sie will vielmehr ganz betont die Verwendung "sehr kurzer" Schrauben ermöglichen, die mit "wenigen Umdrehungen" gespannt werden können (Sp. 1 Z. 54; Sp. 2 Z. 7-9). Gerade dies wird bei der angegriffenen Ausführungsform nicht erreicht (...). Es kann daher keine Rede davon sein, daß das der geschützten Erfindung zugrundeliegende Problem, sehr kurze Spannschrauben und sehr kurze Spannwege vorzusehen, bei der angegriffenen Form noch in einem praktisch erheblichen Maße gelöst wird. Damit fehlt eine entscheidende Voraussetzung für die Annahme einer Patentverletzung durch äquivalente Mittel. Nach den Grundsätzen, die der Senat zum alten Recht herausgebildet hat, liegt Äquivalenz im patentrechtlichen Sinne nur dann vor, wenn bei den sich gegenüberstehenden Ausführungsformen Aufgabe und technischer Erfolg gleich, die zur Lösung der Aufgabe und damit zur Erzielung des gleichen Erfolges verwendeten Mittel aber verschieden sind. Erforderlich ist demnach, daß das Ersatzmittel, welches bei der angegriffenen Ausführungsform anstelle des im Patent ausdrücklich empfohlenen Mittels benutzt wird, zur Erfüllung der im Patent gestellten konkreten Aufgabe dient und den vom Patent angestrebten Erfolg - zumindest im wesentlichen - erreicht (BGH, Urteil v. 14.7.1966 - Ib ZR 79/64, GRUR 1967, 84, 85 - Christbaumbehang II; Senatsurteil v. 29.4.1997 - X ZR 101/93, GRUR 1998, 133, 135 - Kunststoffaufbereitung; vgl. dazu auch ÖOGH, Urt. v. 3.4.1984, GRUR Int. 1985, 766, 767; Benkard/Ullmann, a.a.O., § 14 Rdn. 130, 149). Diese Grundsätze gelten auch für die Bemessung des Schutzbereichs eines europäischen Patents. Sie entsprechen dem in der englischen Rechtsprechung im Rahmen der sog. "Catnic"-Fragen entwickelten und auch auf den Schutzbereich europäischer Patente angewendeten Grundsatz, daß Abwandlungen außerhalb des Schutzbereichs eines Patents liegen, wenn sie wesentliche Auswirkungen auf die Funktionsweise einer Erfindung haben (vgl. Court of Appeal v. 16.6.1995 in Sachen K.v.R., GRUR Int. 1997, 374 - Zigarettenblättchen). Der Schutzbereich eines europäischen Patents kann daher nicht auf Ausführungsformen erstreckt werden, die Ersatzmittel verwenden, die völlig oder bis zu einem praktisch nicht mehr erheblichen Umfang auf den mit dem Patent erstrebten Erfolg verzichten. (...)
DE 2/01
* Amtliche Leitsätze und Auszug aus den Gründen der Entscheidung, die vollständig veröffentlicht sind in Mitt. 1999, 304.