INFORMATION FROM THE CONTRACTING / EXTENSION STATES
DE Germany
Judgment of the Bundesgerichtshof (Federal Court of Justice), 10th Civil Senate, dated 11 September 2001 - (X ZR 168/98)*
Headword: "Luftverteiler" (air distributor)
Articles 87(1), 88(2) and 89 EPC
Article 4F Paris Convention
Keyword: "Priority - Concept of the same invention - Different priorities for one claim - EP 359 698"
Headnote
The subject-matter of a European patent application concerns the same invention as a previous application within the meaning of Article 87(1) EPC only if the combination of features claimed in the European application is disclosed to the skilled person in the previous application as a whole as forming part of the invention as filed. Individual features cannot be combined in one and the same claim with different priorities (in line with EPO Enlarged Board of Appeal opinion G 2/981).
Summary of facts and submissions
The defendant is the registered proprietor of the German part of European patent No. 359 698 (patent in suit). The patent application was filed on 27 April 1989, claiming the priority of German utility model application No. 88 07 929 of 20 June 1988. Claim 1 of the patent in suit, which was published on 22 December 1993, reads as follows:
"Gas distributor, air distributor in particular for blowing fine streams of air into water, with
- a solid, plate-like base element (1);
- a membrane (2) (= rubber, perforated gas or air distribution sheet or plate) disposed over the base element (1);
- an attachment device (4) for releasable, gas-tight connection of rim areas of the membrane (2) to corresponding rim areas of the base element (1) such that the membrane (2), in the absence of or with little gas, in particular air and/or O2 supply, lies saturated on at least one surface or the base element (1);
- essentially web-shaped elements over the membrane (2) and holding this down, on its surfaces in particular, which prevent the arching of the membrane (2) when gas, in particular air and/or O2, is being supplied;
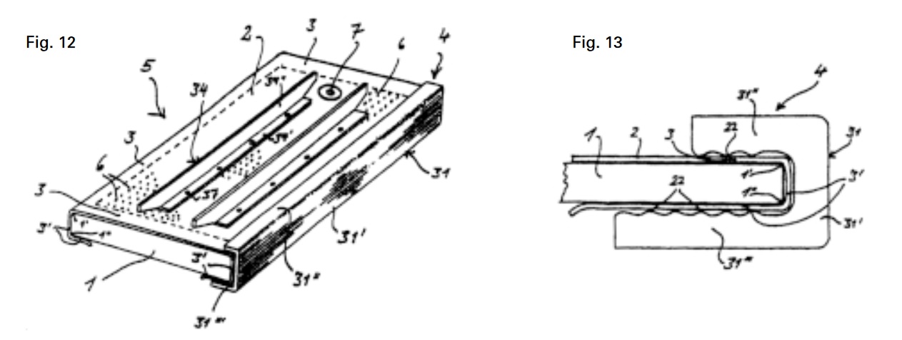
- the attachment device (4) including at least a U-shaped clasping area for clasping the membrane (2), in which the membrane (2) either holds a rim area of the plate-shaped base element (1) or lies somewhat U-shaped in a groove-like recess (3; 13) of the plate-like base element (1) and is also provided with a clamp-fitting profile sealing element (9, 10; 14, 15; 19, 20, 19', 20') which brings about at least two lines of clamping of the membrane (2) in essentially opposite clamping areas of the clasping area, when in operation, at the latest."
(...) Figures 12 and 13 of the patent specification, reproduced below, show a typical embodiment of the invention.

In a revocation action the plaintiff claimed that the patent in suit did not involve an inventive step vis-à-vis the state of the art before the priority date or vis-à-vis utility model No. 88 07 929 and could not claim the latter's priority, and that it was anticipated by public prior use in the priority interval. The plaintiff sought partial revocation of the patent in suit (...).
The Bundespatentgericht (Federal Patents Court) dismissed the action in a judgment published in Mitt. 1998, 430.
That is the subject of the plaintiff's appeal, the gist of which is that:
the patent in suit should be revoked with effect for Germany in respect of claims 1 to 7 and 10 and also to the extent that claims 16 to 19, 21 to 26 and 30 refer back directly and/or indirectly to claims 1 to 7 and 10.
The defendant opposes the appeal.
(...)
From the reasons
The appeal is admissible and allowable. The patent in suit is unpatentable to the extent contested by the revocation action (...).
I. The patent in suit concerns a gas distributor, in particular an air distributor for blowing fine streams of air into water. According to the description, the invention (...) is based on a gas distributor featuring a solid, plate-like base element with a rubber, perforated gas or air distribution sheet or plate disposed over it as a membrane. An attachment device, defined in detail in the patent in suit, forms a releasable, gas-tight connection between rim areas of the membrane and corresponding rim areas of the base element. In the absence of a gas supply, the membrane lies flat on at least one surface of the base element. In the presence of a gas supply, essentially web-shaped hold-down elements disposed over the membrane, especially on its surface, prevent arching of the membrane.
One such gas distributor is described in European patent application No. 171 452, cited in the specification of the patent in suit, in which the membrane is connected at its edges with the base element by means of edge strips screwed or riveted to the membrane lying beneath them and to the base element. (...)
The patent in suit's specification sees it as a disadvantage that the connection between the base element, the membrane and the edge strip which functions as a seal is relatively complex with respect to materials, manufacturing and assembly.
The resultant technical problem is that of providing a gas distributor with reliably gas-tight connection means which is inexpensive to manufacture and allows simple assembly and disassembly for membrane exchange purposes.
The patent in suit's solution consists of a gas distributor with the following features:
1. The gas distributor comprises
1.1 a solid, plate-like base element (1),
1.2 a rubber, perforated gas or air distributor sheet or plate disposed as a membrane over the base element (1).
2. An attachment device (4) provides a releasable, gas-tight connection between rim areas of the membrane (2) and corresponding rim areas of the base element (1), such that the membrane (2), in the absence of or with little gas supply, lies flat on at least one surface of the base element (1).
3. The attachment device (4)
3.1 includes at least a U-shaped clasping area for clasping the membrane (2), in which the latter
3.1.1 either holds a rim area of the base element (1) or
3.1.2 lies somewhat U-shaped in a groove-like recess (3; 13) of the base element (1),
3.2 is provided with a clamp-fitting profile sealing element (9, 10; 14, 15; 19, 20; 19', 20') which brings about at least two lines of clamping of the membrane (2) in essentially opposite clamping areas of the clasping area, when in operation, at the latest.
4. Essentially web-shaped hold-down elements are disposed over the membrane (2), on its surface in particular, which prevent the arching of the membrane (2) in the presence of a gas supply.
II. The subject-matter of claim 1 is not patentable because it is obvious to the skilled person from the prior art (Articles 52(1) and 56 EPC). (...)
For the relevant skilled person, (...) the invention is an obvious result of combining the gas distributors described in utility model No. 88 07 929 and European patent application No. 171 452.
1. The utility model, registered on 18 August 1988, must be considered as prior art because the patent in suit has not validly claimed the priority of the relevant application.
(a) The subject-matter outlined in feature groups 1 to 4 of claim 1 of the patent in suit is (...) not disclosed in the utility model application as forming part of the invention as filed. All that is disclosed there in that sense is a gas distributor with features 1 to 3, not one in which there are also essentially web-shaped hold-down elements disposed over the membrane which prevent the arching of the membrane in the presence of a gas supply.
The description of the utility model explains that an air distributor (dispenser) for the fine jet aeration of water is already known from European patent application No. 171 452, in which the air dispenser features a perforated air dispensing foil disposed over a solid plate and connected tightly at its edges with the solid plate by means of edge strips, and in which web strips are disposed over the air dispensing foil and directly connected with the solid plate. The edge strips which function as sealing elements are necessary to provide a gas-tight connection between the air dispensing foil and the solid plate around the periphery. The connection linking the edge strips, air dispensing foil and/or web strips to the solid plate is made by self-tapping screws or rivets, or alternatively by the provision of brackets clamping the edge of the solid plate at intervals to the associated edge strip and the edge area of the air dispensing foil between them (p. 2, lines 7-19). The connection provided for in the European patent application between solid plate, air dispensing foil and edge strips is described as relatively complex with respect to materials, manufacturing and assembly (p. 2, line 27 - p. 3, line 4), the object of the invention thus being to provide a connection means with the features of the prior-art portion of claim 1 configured such that, while constituting a very good gas seal, it requires little engineering and manufacturing effort and can be assembled, disassembled and maintained quickly and simply (p. 3, lines 9-19). To achieve this, the connection means is to comprise at least one clamp-fitting profile sealing element per edge area, its profile configured such that there is a clamp-fit and sealing connection between each edge area of the air dispensing foil and the associated edge area of the solid plate.
Web strips which are or could be disposed over the air dispensing foil as in the gas distributor in the European patent application are not mentioned in the further description of the invention, nor are they depicted in the drawings. Thus it is not explicitly disclosed that the air distributor according to the invention could be provided with such strips. Their being mentioned in the introduction to the description makes no difference, as that refers only to the known air distributor. They have specifically not been included in the generic portion of the claim, which is otherwise modelled on the European patent application; instead, an explanation of their connection with the solid plate is provided in the context of the explanation of the prior-art edge connection means regarded as disadvantageous and requiring improvement by the utility model (p. 2, lines 7-19).
Nor would the skilled person derive as natural from the utility model documents the possibility of providing web strips for the air distributor for which utility model protection was sought. Under the Senate's case law, however, besides what it actually describes, a document forming part of the state of the art within the meaning of Article 3(1), second sentence, PatG and Article 54(2) EPC is held to disclose and hence anticipate everything which the skilled person will naturally or almost inevitably infer or will, if he reads the documents carefully, automatically realise and take as read (BGHZ 128, 270, 276, f. - elektrische Steckverbindung, Senate judgment of 30.9.1999 - X ZR 168/96, GRUR 2000, 296, 297 - Schmierfettzusammensetzung). The same applies to determining the content of an original application which is the basis for effectively claiming priority or examining an inadmissible extension, with the proviso that it depends on whether the relevant skilled person of average knowledge and abilities can regard such a natural inference as forming part of the invention as filed. Any practical technical teaching extends beyond the content of the original application if the application documents as a whole do not make clear that it is intended to be included as subject-matter in the protection sought with the application (Senate judgment of 21.9.1993 - X ZR 50/91, Mitt. 1996, 204, 206 - Spielfahrbahn; Senate decision of 20.6.2000 - X ZB 5/99, GRUR 2000, 1015, 1016 - Verglasungsdichtung; BGH decision of 5.10.2000 - X ZR 184/98, GRUR 2001, 140, 141 - Zeittelegramm). The application documents do not, however, make it clear that gas distributors with web strips modelled on European patent application No. 171 452 were intended to be included in the protection sought with the utility model application.
The application relates only to the edge connection between sheet (foil) and solid plate, to which all the claims are directed as well, and does not concern itself with the top surface of the sheet and any web strips mounted there. It merely mentions that if the pulling forces acting on the clamping connection according to the invention rise, for example because the elastic sheet arches as the gas pressure rises, the clamping effect is in fact advantageously reinforced (p. 4, lines 19-25). That in any event is not an effect which necessitates the mounting of web strips. As the expert has convincingly demonstrated, the skilled person on the priority date did not naturally assume that excessive arching in gas distributors of the generic type had to be prevented by means of web strips. Rather, he had the option of making the clamping connection stronger to match the magnitude of the force acting in the direction of the arching. Thus the invention as filed did not involve providing the gas distributor with web strips.
(b) Hence the priority of the utility model cannot be effectively claimed under Article 87(1) EPC for the patent in suit, since the patent in suit does not concern the same invention as the utility model application.
The Senate endorses the opinion of 31 May 2001 (G 2/98)1, in which the Enlarged Board of Appeal of the European Patent Office interpreted the requirement of the same invention referred to in Article 87(1) EPC as meaning that the priority of a previous application in respect of a claim in a European patent application in accordance with Article 88 EPC is to be acknowledged only if the skilled person can derive the subject-matter of the claim directly and unambiguously, using common general knowledge, from the previous application as a whole. The following considerations are paramount:
The EPC may not put the applicant in a worse position than is provided for by the basic principles concerning priority laid down in the Paris Convention (Senate, BGHZ 82, 88, 97 - Roll- und Wippbrett2). Under that Convention's Article 4F, priority may not be refused on the ground that a patent application contains one or more elements (French version: éléments; German version: Merkmale) that were not included in the application whose priority is claimed, provided that there is unity of invention within the meaning of the law of the country. An element within the meaning of Article 4F Paris Convention does not have the sense of a feature claim, however; it refers to subject-matter which is explicitly or implicitly disclosed in the original documents but which under Article 4H Paris Convention does not necessarily have to be defined in a claim. This is in line with the unity proviso which Article 4F Paris Convention imposes on the combination of multiple elements in a subsequent application. It also reflects the procedural purpose of the provision, which is that the applicant should not have to file multiple subsequent applications in other countries (see Lins, Das Prioritätsrecht für inhaltlich geänderte Nachmeldungen, p. 27). Hence an interpretation of the concept of the same invention referred to in Article 87(1) EPC which equates it with the concept of the same subject-matter referred to in Article 87(4) EPC is not inconsistent with the Paris Convention.
Yet Article 88(2), second sentence, EPC provides that multiple priorities may be claimed for any one claim. Given this provision's legislative history, however, as the Enlarged Board's opinion shows, the intent was not to allow different priorities for parts of one and the same claim, but to regulate cases where alternative embodiments of an invention ("OR claims") are each disclosed in different earlier applications.
Ultimately, the determining factor, as set out in the Enlarged Board's opinion, is the effect of the priority right under Article 89 EPC, which is that the date of priority counts as the date of filing of the European patent application for the purposes of Article 54(2) and (3) and Article 60(2) EPC. The subsequent applicant would enjoy an objectively unjustified advantage if this effect were to be extended to the subject-matter of the subsequent application as a whole even after further development of the invention (through addition of a further feature in the subsequent application). That would be inconsistent with the principle of equal treatment for applicants and third parties on the basis of a unified concept of disclosure, and also with the purpose of Article 54(3) EPC, which in the case of two European applications concerning the same subject-matter grants the right to the patent (only) to the applicant who first disclosed the claimed subject-matter as a whole.
Such unjustified favouring of the subsequent applicant could be avoided if it were possible to distinguish between features added in the subsequent application which influence the function and effect of the invention (in the sense of the essential technical meaning of the feature combination originally disclosed) and those which do not. However, no practically usable criteria are available for this purpose. The distinction sometimes applied by the technical boards of appeal between essential and non-essential additional features was rightly held by the Enlarged Board to be inapplicable for reasons of legal certainty. The approach taken by the Bundespatentgericht in the contested decision grants priority to the subsequent application only within the scope of the feature combination disclosed in the first application if the subsequent application complements the original inventive thought in the sense of a further embodiment, as is generally the case with features of a true sub-claim. This approach would necessarily entail ascribing to the original inventive thought an embodiment which is not disclosed as such in the first application, and therefore abandoning the unitary concept of the invention for which protection is sought, under which only that which is in the application itself determines what is disclosed as forming part of the invention as filed. Furthermore, if a distinction had to be drawn between, on the one hand, a feature combination 1 to 4 in which feature 4 merely complements features 1 to 3 and, on the other hand, a feature combination 1 to 4 in which features 1 to 3 also acquire a different technical significance as parts of the complete combination, in certain cases this could give rise to problems which would be detrimental to legal certainty in the assessment of effective claims for priority. The ultimate negative consequence for the applicant would be that, in a subsequent application for the complete combination 1 to 4, the according of a priority right for feature combination 1 to 3 would not help him if, during the priority interval, the complete combination 1 to 4 were filed by a third party or - as asserted by the plaintiff in the present case - became public because it merely enjoyed the priority of the date of filing (see Senate, BGHZ 63, 150, 154 - Allopurinol; Lins/Gramm, GRUR Int. 1983, 634/635; Hellfeld, Mitt. 1997, 294, 296/297; Tönnies, GRUR Int. 1998, 451, 453). Thus, especially in rapidly developing fields of technology, this interpretation of priority rights would in the final analysis be inadequate (Joos, GRUR Int. 1998, 456, 459 f.) and would be likely to give the applicant the illusory certainty that subsequent filing of the invention in a further developed form was not prejudicial to priority.
Accordingly, the subject-matter of a European patent application concerns the same invention as a previous application within the meaning of Article 87(1) EPC only if the combination of features claimed with the European patent application is disclosed to the skilled person in the previous application as a whole as forming part of the invention as filed. Individual features cannot be combined in one and the same claim with different priorities.
The consequence for the case in dispute is that the patent in suit, whose subject-matter according to all its claims necessarily includes feature 4, cannot claim the priority of utility model No. 88 07 929, which does not disclose that feature as forming part of the invention.
2. The skilled person, in thinking about a suitable configuration for an air distributor as described in utility model No. 88 07 929, found it immediately obvious to provide it with web strips such as are found in European patent application No. 171 452.
Their purpose in the air distributor according to the European patent application, as described there on p. 4, lines 31-34, is to prevent arching of the perforated air distributor foil in the presence of an air supply. In the utility model, as mentioned, arching is indeed described as advantageous because it advantageously reinforces the desired clamping effect of the edge connection arrangement (p. 4, lines 19-25). Yet there is always an arching of the foil - either of the foil as a whole or the parts of it engaged by the web strips; so the reference in the utility model to the advantage to be seen therein did not stop the skilled person (...) from using web strips. In fact, to the skilled person (...) on the filing date it seemed equally possible, depending on the suitability and interpretation of the clamping force of the profile sealing element, to construct the air distributor in such a way that there was greater arching (without web strips) or smaller arching (with web strips). By choosing the second alternative he arrived at the subject-matter of the patent in suit.
(...)
* Translation of the official headnote and of an extract from the reasons. The full German text is published in GRUR Int. 2002, 146.
1 OJ EPO 2001, 413; GRUR Int. 2002, 80.