Article 77
Citation: OJ EPO 2021, A77
Online publication date: 30.9.2021
BOARDS OF APPEAL
Decision of the Enlarged Board of Appeal of 10 March 2021 - G 1/19
(Language of the proceedings)
Composition of the board:
Chairman:
C. Josefsson
Members:
F. Blumer
G. Eliasson
A. Aslan
I. Beckedorf
T. Bokor
A. Ritzka
Appellant (Applicant):
Bentley Systems (UK) Limited
Headword:
Pedestrian simulation
Relevant legal provisions:
EPC Art. 52(1), 52(2), 52(3), 56, 112(1)(a)
Law of non-Contracting States:
United States: 35 U.S.C. § 101
Decisions of national courts cited:
Germany: Bundesgerichtshof X ZB 15/67 (Rote Taube); X ZB 11/98 (Logikverifikation)
Keyword:
"Admissibility of referral - (yes)" – Transitional provisions of the EPC 2000" – "Patentability of computer-implemented simulations"
Headnote:
1. A computer-implemented simulation of a technical system or process that is claimed as such can, for the purpose of assessing inventive step, solve a technical problem by producing a technical effect going beyond the simulation's implementation on a computer.
2. For that assessment it is not a sufficient condition that the simulation is based, in whole or in part, on technical principles underlying the simulated system or process.
3. The answers to the first and second questions are no different if the computer-implemented simulation is claimed as part of a design process, in particular for verifying a design.
Table of Contents
A. Summary of the Proceedings
I. The referred questions
II. The application in suit
III. Examination proceedings / decision under appeal
IV. Appeal proceedings
V. Proceedings before the Enlarged Board of Appeal
B. Legal Background
I. Provisions of the EPC
II. Established case law on computer-implemented inventions including simulations
(a) Requirements under Article 52 EPC
(b) COMVIK approach to the patentability of computer-implemented inventions
(c) Opinion G 3/08
(d) Two-hurdle approach
(e) Case law on the patentability of simulations
C. Interpretation of the referred questions
I. "Computer-implemented simulation" and "computer-implemented method of modelling"
II. "Technical system or process" and "technical principles underlying the simulated system or process"
III. "Technical problem" and "Technical effect going beyond the simulation's implementation"
IV. "Computer-implemented simulation as such"
D. Admissibility of the referral
I. Requirements for admissibility
II. Criteria for assessing the admissibility of the referred questions
(a) Distinction between questions of law and questions of fact
(b) Answers required for a decision on appeal
(c) Necessity of ensuring a uniform application of law
(d) Point of law of fundamental importance
(e) Impact of the Enlarged Board's answers to the referred questions
III. Admissibility of the referred questions
(a) Question 1
(b) Question 2A
(c) Question 2B
(d) Question 3
E. Patentability of computer-implemented simulations
I. Technicality as required by the case law on computer-implemented inventions
(a) What is "technical"
(b) Technicality of computer-implemented inventions using the two-hurdle approach
(c) Aspects of technicality in computer-implemented inventions
(d) Direct link with physical reality
(e) Potential technical effects
(f) Virtual or calculated technical effects
(g) Criterion of a "tangible effect"
II. Features of a simulation
III. COMVIK approach applied to computer-implemented simulations
(a) Elements of a computer-implemented simulation
(b) Technical features of a "simulation as such"
(c) Relevance of the technical nature of the simulated system or process
(d) Arguments raised in support of the relevance of the technical nature of the simulated system or process
IV. Existing case law on simulations
V. Conclusions for the application of the COMVIK approach to simulations
F. Implications for the referred questions
I. Question 1 – Solution of a technical problem by a simulation as such
II. Question 2b – Technical principles as a sufficient condition
III. Question 3 – Simulation as part of a design process
G. Order
A. Summary of the Proceedings
I. The referred questions
1. By interlocutory decision T 489/14 dated 22 February 2019 (OJ EPO 2019, A86, the "referring decision") Technical Board of Appeal 3.5.07 (the "referring board") referred, on the basis of Article 112(1)(a) EPC, the following questions of law (the "referred questions") to the Enlarged Board of Appeal (the "Enlarged Board") for decision:
1. In the assessment of inventive step, can the computer-implemented simulation of a technical system or process solve a technical problem by producing a technical effect which goes beyond the simulation's implementation on a computer, if the computer-implemented simulation is claimed as such?
2. [2A] If the answer to the first question is yes, what are the relevant criteria for assessing whether a computer-implemented simulation claimed as such solves a technical problem? [2B] In particular, is it a sufficient condition that the simulation is based, at least in part, on technical principles underlying the simulated system or process?
3. What are the answers to the first and second questions if the computer-implemented simulation is claimed as part of a design process, in particular for verifying a design?
(Numbers [2A] and [2B] were added by the Enlarged Board.)
II. The application in suit
2. European patent application 03793825.5, published as international application WO 2004/023347, is entitled "Simulation of the movement of an autonomous entity through an environment". The invention relates in particular to the modelling and the simulation of movements of a pedestrian in an environment. The simulation of an individual pedestrian's movement may form part of the simulation of a pedestrian crowd's movement in a building. Modelling a building and simulating the movement of a crowd within the building may be useful for verifying whether the design of the building fulfils certain requirements, for example in the case of an evacuation of a stadium or a railway station.
3. Whereas the prior art described in the application used macroscopic models for such purposes (e.g. describing a pedestrian crowd as a quasi-uniform medium, such as a fluid, without regard to individual pedestrians), the approach used in the application is based on the modelling of an individual pedestrian with their own individual intention of reaching a destination, a personal profile – which may include a preferred walking speed and/or a step length – and a surrounding personal space in which the absence of obstacles (building structures and other pedestrians) is sought.
4. Originally filed claim 1 reads as follows:
"1. A method of simulating movement of an autonomous entity through an environment, the method comprising:
providing a provisional path through a model of the environment from a current location to an intended destination;
providing a profile for said autonomous entity;
determining a preferred step towards said intended destination based upon said profile and said provisional path;
determining a personal space around said autonomous entity;
determining whether said preferred step is feasible by considering whether obstructions infringe said personal space."
5. The simulation of crowd movement implies the application of such simulation of an individual's single step to a large number of individuals and the repetition of this process over a large number of steps. The application contains many parameters which can be used to refine the model of a pedestrian's movement.
6. Fig. 2 of the application shows, as a simple example, the possible movement of a pedestrian (5) from a starting location (6) to an ultimate destination (9), moving around walls (2) and other fixed obstacles (4) while avoiding other pedestrians (10).

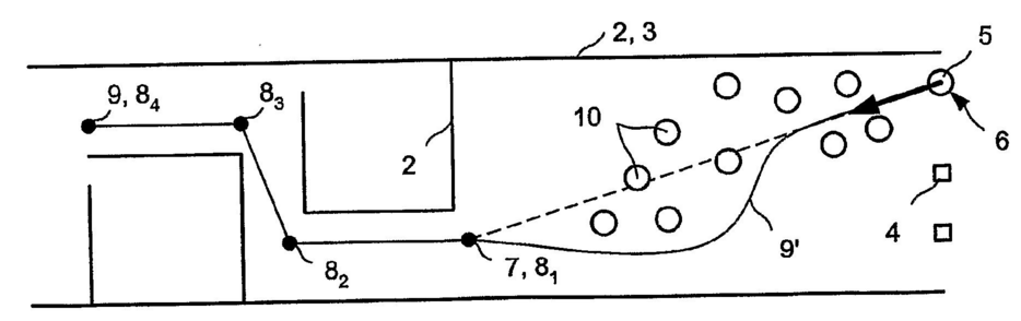
7. There are aspects of the simulation which are based not only on physical boundaries (such as the walls of an "environment" or building) but also on considerations about human behaviour, such as a "personal space" in which no obstacles are tolerated.
III. Examination proceedings / decision under appeal
8. In the course of the examination proceedings, the claimed methods were limited, inter alia, by specifying that the methods were "computer-implemented" and by further limiting the parameters underlying the "preferred step" taken by the autonomous entity.
9. In its decision to refuse the application, the examining division held that only the use of a computer contributed to the technical character of the claimed method. Consequently, the technical problem to be solved was formulated as technically implementing a method of simulating the movement of an autonomous entity through an environment comprising the steps defined in the pertinent claim. The solution of said problem, namely the use of a computer, was not inventive.
IV. Appeal proceedings
10. In its appeal against the refusal, the appellant argued in particular that the method steps of the claimed invention were technical features or physical parameters. Even if the method steps were considered to be non-technical, they still contributed to the technical character of the invention since they resulted in a technical effect by virtue of their interaction with the computer. Reference was made to T 641/00 (COMVIK, OJ EPO 2003, 352) and to T 1227/05 (OJ EPO 2007, 574), the latter concerning simulations.
11. In its communication accompanying the summons to oral proceedings, the referring board took the view that the steps forming the claimed method were in themselves non-technical and could contribute to the technical character of the claim only to the extent that their combination interacted with the technical features of the claim to produce a technical effect. Such a technical effect could be present if the design of the simulation steps was motivated by technical considerations of the internal functioning of the computer on which the simulation was implemented, or if the technical effect was part of the overall purpose of the claimed method. The referring board tended to the view that the claimed simulation method did not serve a technical purpose and therefore did not contribute to the technical character of the invention.
12. Claim 1 of the main request underlying the referring decision reads as follows (reference signs omitted):
"1. A computer-implemented method of modelling pedestrian crowd movement in an environment, the method comprising:
simulating movement of a plurality of pedestrians through the environment, wherein simulating movement of each pedestrian comprises:
providing a provisional path through a model of the environment from a current location to an intended destination;
providing a profile for said pedestrian;
determining a preferred step, to a preferred position, towards said intended destination based upon said profile and said provisional path, wherein determining said preferred step comprises determining a dissatisfaction function expressing a cost of taking a step comprising a sum of an inconvenience function expressing a cost of deviating from a given direction and a frustration function expressing a cost of deviating from a given speed;
defining a neighbourhood around said preferred position;
identifying obstructions in said neighbourhood, said obstructions including other pedestrians and fixed obstacles;
determining a personal space around said pedestrian;
determining whether said preferred step is feasible by considering whether obstructions infringe said personal space over the course of the preferred step."
13. Claim 1 of the first auxiliary request differs from claim 1 of the main request in that "environment" is replaced by "building structure".
14. The second auxiliary request differs from the first auxiliary request in that certain details about the pedestrian's walking speed are added.
15. Claim 1 of the third auxiliary request differs from claim 1 of the second auxiliary request in that the following is added at the end of the claim:
"and displaying the simulated movement as a sequential set of snapshots showing the current position of each pedestrian in the model as it progresses over time".
16. The fourth auxiliary request differs from the higher-ranking requests in that it refers to methods of iteratively designing a building structure. Its claim 1 differs from claim 1 of the third auxiliary request in that the beginning of the claim (the text before "providing a provisional path") is replaced by:
"1. A method of designing a building structure, the method comprising:
providing a model of said building structure;
simulating movement of a plurality of pedestrians through said building structure using a computer, wherein simulating movement of each pedestrian step comprises:"
and in that the following text is added at the end of the claim:
"and revising said model of said building structure in dependence upon movement of the pedestrians".
17. The fifth auxiliary request is also based on the third auxiliary request, claiming methods of modelling pedestrian crowd movements. Its claim 1 differs from claim 1 of the third auxiliary request in that the following text is inserted before "and displaying the simulated movement":
"if the preferred step is not feasible, then:
determining a region in which to seek a compromise step, wherein determining the region in which to seek the compromise step comprises adapting step parameters for determining said region in dependence upon memory of past conditions; and
determining whether at least one compromise step is feasible;"
V. Proceedings before the Enlarged Board of Appeal
18. Having regard to Article 9 of the Rules of Procedures of the Enlarged Board of Appeal (RPEBA), the President of the European Patent Office was invited by letter of 7 May 2019 to comment in writing on the points of law referred to the Enlarged Board. The President's comments were submitted by letter dated 27 August 2019.
19. In May 2019, a communication from the Enlarged Board concerning case G 1/19 was published (OJ EPO 2019, A50), inviting third parties to file written statements in accordance with Article 10 RPEBA. By September 2019, twenty-three amicus curiae briefs were received in response. These are published on the internet website of the Enlarged Board under "epo.org/law-practice/case-law-appeals/eba.html" and are now referred to by the numbering given below:
(1) Philips International B.V.
(2) Siemens AG
(3) Swen Kiesewetter-Köbinger
(4) FEMIPI – European Federation of Intellectual Property Agents in Industry
(5) CIPA – Chartered Institute of Patent Attorneys
(6) Patentanwaltskammer
(7) Bundesverband Deutscher Patentanwälte
(8) IBM United Kingdom Ltd.
(9) epi – Institute of Professional Representatives before the European Patent Office
(10) FICPI – International Federation of Intellectual Property Attorneys
(11) ipo – Intellectual Property Owners Association
(12) VPP – Vereinigung von Fachleuten des Gewerblichen Rechtsschutzes
(13) MAGMA Gießereitechnologie GmbH
(14) Reinier B. Bakels
(15) IP Federation
(16) Martin Wilming
(17) Altair IP
(18) Bardehle Pagenberg
(19) CNCPI – Compagnie Nationale des Conseils en Propriété Industrielle
(20) AIPPI – International Association for the Protection of Intellectual Property
(21) Michael M. Fischer
(22) Stefan Schohe
(23) efpia – European Federation of Pharmaceutical Industries and Associations
20. Apart from a very few exceptions, the authors of the amicus curiae briefs can be attributed to one of the following groups:
(i) independent members of the patent profession (mainly patent attorneys) and associations of such professionals;
(ii) large enterprises and industry associations supporting a broad patentability of computer-implemented simulations and other computer-implemented inventions.
21. By letter of 1 September 2019, the appellant filed comments on the referred questions and requested that oral proceedings be appointed. The oral proceedings were arranged for 15 July 2020. In preparation for them, the Enlarged Board issued a communication on 22 June 2020. The communication included a short summary setting out in simplified form the approaches chosen in the amicus curiae briefs in support of the patentability of computer-implemented simulations, and it listed several questions that the Enlarged Board considered relevant for the oral proceedings.
22. During the oral proceedings, representatives of the appellant and of the President of the EPO addressed the Enlarged Board.
B. Legal Background
23. The referred questions may only be understood, and the admissibility of the referral assessed, in the context of the relevant legal background (including the pertinent case law). In the following, the Enlarged Board will therefore provide a short overview of the applicable EPC provisions and their interpretation by the boards of appeal and the Enlarged Board.
I. Provisions of the EPC
24. According to Article 52(1) EPC, "European patents shall be granted for any inventions, in all fields of technology, provided that they are new, involve an inventive step and are susceptible of industrial application". The reference to "all fields of technology" was introduced in the course of the EPC's revision (EPC 2000) to bring Article 52 EPC into line with Article 27 of the Agreement on Trade-Related Aspects of Intellectual Property Rights (TRIPS). The amendment makes clear, on the one hand, that patent protection is reserved for creations in the technical field (see OJ EPO Special edition 4/2007, 48). The claimed subject-matter must have a "technical character", or, more precisely, involve a "technical teaching", i.e. an instruction addressed to a skilled person as to how to solve a particular technical problem using particular technical means (Basic Proposal for the Revision of the EPC, document MR/2/00, page 43, no. 4). On the other hand, the term "all fields of technology" expresses the intent of TRIPS not to exclude from patentability any technical inventions, whatever field of technology they belong to, and therefore, in particular, not to exclude programs for computers as mentioned in and excluded under Article 52(2)(c) EPC (T 1173/97, OJ EPO 1999, 609, Reasons, point 2.3). The Basic Proposal explicitly states that the above considerations on the technical character of inventions apply to the assessment of computer programs (page 43, no. 4).
25. Article 52(2) EPC contains a non-exhaustive list of "non-inventions", i.e. subject-matter which is not to be regarded as an invention within the meaning of Article 52(1) EPC (T 154/04, OJ EPO 2008, 46, Reasons, points 6, 8). The list includes "schemes, rules and methods for performing mental acts, playing games or doing business, and programs for computers" (Article 52(2)(c) EPC). Even though the "non-inventions" in Article 52(2)(c) EPC cover a broad range of exclusions, they have in common that they refer to activities which do not aim at any direct technical result but are rather of an abstract and intellectual character (T 22/85, OJ EPO 1990, 12, Reasons, point 2). Article 52(3) EPC limits the exclusion from patentability of the subject-matter and activities referred to in Article 52(2) EPC to "such subject-matter or activities as such". This limitation is understood as a bar to a broad interpretation of the "non-inventions" listed in Article 52(2) EPC (G 2/12, OJ EPO 2016, A27, Reasons, point VII.2(3)(b), penultimate paragraph, referring to T 154/04, Reasons, point 6).
26. Article 56 EPC gives a negative definition of the "inventive step" required under Article 52(1) EPC, by setting out that an invention shall be considered as involving an inventive step "if, having regard to the state of the art, it is not obvious to a person skilled in the art". In order to assess inventive step in an objective and predictable manner, the so-called "problem-solution approach" was developed, consisting of the following stages:
(i) determining the "closest prior art";
(ii) assessing the technical results (or effects) achieved by the claimed invention when compared with the "closest prior art" determined;
(iii) defining the technical problem to be solved, the object of the invention being to achieve said results; and
(iv) considering whether or not the claimed solution, starting from the closest prior art and the objective technical problem, would have been obvious to the skilled person (see, for example, Case Law of the Boards of Appeal, 9th ed. 2019, I.D.2).
27. The application underlying the present referral was filed in 2003, before the entry into force of the EPC 2000. The Act revising the EPC of 29 November 2000 ("Revision Act", OJ EPO Special Edition 4/2001, 3) provides in Article 7 ("Transitional provisions") that the revised version of the EPC applies to all European patent applications filed after its entry into force (i.e. filed after 13 December 2007) and that it does not apply to applications pending at that time, "unless otherwise decided by the Administrative Council of the European Patent Organisation". Under Article 7(2) of the Revision Act, the Administrative Council issued its Decision of 28 June 2001 on the transitional provisions under Article 7 of the Revision Act ("Transitional Provisions", OJ EPO Special Edition 4/2001, 139). Article 1, point 1, of these Transitional Provisions contains a list of revised Articles of the EPC which "shall apply to European patent applications pending at the time of their entry into force and to European patents already granted at that time". The list includes Article 52 EPC, which makes it clear that revised Article 52(1), (2) and (3) EPC applies to the application in issue. For those Articles of the EPC which are not specifically addressed in the Transitional Provisions, the referring board apparently applied the text of the EPC 2000. The Enlarged Board does not see any reason to deviate from the referring decision in this respect and concludes that for all purposes of the present referral the revised or adapted Articles of the EPC apply.
II. Established case law on computer-implemented inventions including simulations
(a) Requirements under Article 52 EPC
28. A method involving technical means is an invention within the meaning of Article 52(1) EPC. This assessment is made without reference to the prior art (T 258/03, OJ EPO 2004, 575, Headnote I and Reasons, points 4.1 to 4.7; T 388/04, OJ EPO 2007, 16, Headnote I; T 1082/13, Reasons, point 1.1). This approach has sometimes been described as the "any technical means" or "any hardware" approach (see reference in G 3/08, OJ EPO 2011, 10, Reasons, point 10.6).
29. According to the established case law, a claim directed to a computer-implemented invention avoids exclusion under Article 52 EPC merely by referring to the use of a computer, a computer-readable storage medium or other technical means (T 697/17, Reasons, point 3.4). A technical feature may be described at a high level of abstraction or functionally, and it may be implicitly evident that a certain claimed method is computer-implemented and hence technical (T 697/17, Reasons, point 3.3 and 3.5). On the other hand, the mere possibility of making use of an unspecified computer for performing a claimed method is not enough to establish the use of technical means for the purposes of Article 52 EPC (T 388/04, Reasons, point 3).
(b) COMVIK approach to the patentability of computer-implemented inventions
30. Decision T 154/04 summarised the jurisprudence of the boards of appeal on the application of Articles 52, 54 and 56 EPC in the context of subject-matter and activities excluded from patentability under Article 52(2) EPC in the following principles (T 154/04, Reasons, point 5; see also amicus curiae brief (1)):
(A) Article 52(1) EPC sets out four requirements to be fulfilled by a patentable invention: there must be an invention, and if there is an invention, it must satisfy the requirements of novelty, inventive step, and industrial applicability.
(B) Having technical character is an implicit requisite of an "invention" within the meaning of Article 52(1) EPC (requirement of "technicality").
(C) Article 52(2) EPC does not exclude from patentability any subject matter or activity having technical character, even if it is related to the items listed in this provision since these items are only excluded "as such" (Article 52(3) EPC).
(D) The four requirements - invention, novelty, inventive step, and susceptibility of industrial application - are essentially separate and independent criteria of patentability, which may give rise to concurrent objections. Novelty, in particular, is not a requisite of an invention within the meaning of Article 52(1) EPC, but a separate requirement of patentability.
(E) For examining patentability of an invention in respect of a claim, the claim must be construed to determine the technical features of the invention, i.e. the features which contribute to the technical character of the invention.
(F) It is legitimate to have a mix of technical and "non-technical" features appearing in a claim, in which the non-technical features may even form a dominating part of the claimed subject matter. Novelty and inventive step, however, can be based only on technical features, which thus have to be clearly defined in the claim. Non-technical features, to the extent that they do not interact with the technical subject matter of the claim for solving a technical problem, i.e. non-technical features "as such", do not provide a technical contribution to the prior art and are thus ignored in assessing novelty and inventive step.
(G) For the purpose of the problem-and-solution approach, the problem must be a technical problem which the skilled person in the particular technical field might be asked to solve at the relevant priority date. The technical problem may be formulated using an aim to be achieved in a non-technical field, and which is thus not part of the technical contribution provided by the invention to the prior art. This may be done in particular to define a constraint that has to be met (even if the aim stems from an a posteriori knowledge of the invention).
31. Principles (F) and (G) above were established in decision T 641/00 (COMVIK), the Headnote of which reads as follows:
1. An invention consisting of a mixture of technical and non-technical features and having technical character as a whole is to be assessed with respect to the requirement of inventive step by taking account of all those features which contribute to said technical character whereas features making no such contribution cannot support the presence of inventive step.
2. Although the technical problem to be solved should not be formulated to contain pointers to the solution or partially anticipate it, merely because some feature appears in the claim does not automatically exclude it from appearing in the formulation of the problem. In particular where the claim refers to an aim to be achieved in a non-technical field, this aim may legitimately appear in the formulation of the problem as part of the framework of the technical problem that is to be solved, in particular as a constraint that has to be met.
The principles set out in the Headnote above for dealing with non-technical features in the assessment of inventive step for computer-implemented inventions will be referred to in the following as the "COMVIK approach".
32. In this context, the term "non-technical features" refers to features which, on their own, would be considered "non-inventions" under Article 52(2) EPC. Whether such features contribute to the technical character of the invention has to be assessed in the context of the invention as a whole.
33. The same manner of assessment applies to features which can be considered to be technical per se: they do not necessarily contribute to the technical solution of a technical problem. An invention may have (i) technical features which contribute, (ii) technical features which do not contribute, (iii) non-technical features which contribute and (iv) non-technical features which do not contribute to the technical solution of a technical problem and thereby potentially to the presence or not of an inventive step. While (i) and (iv) are self-evident, features according to (iii) have been established by the case law described above (principle (F): non-technical features interacting with the technical subject matter of the claim for solving a technical problem). Case (ii) occurs if features that per se qualify as technical cannot contribute to inventive activity because they have no technical function within the context of the claimed invention, see e.g. T 619/02 (OJ EPO 2007, 63, Reasons, points 2.2, 2.6.2) concerning perfumes. Even before the COMVIK approach was established, technically non-functional modifications (even if they could per se be considered technical) could be considered irrelevant in the assessment of inventive step (see T 72/95, Reasons, point 5.4).
34. The COMVIK approach was developed as a means of applying the problem-solution approach to computer-implemented inventions that encompass non-technical features (see principle (F) mentioned above). Subsequent cases noted that the COMVIK approach does not contradict the problem-solution approach; rather, it is a special application of the problem-solution approach to inventions that contain a mix of technical and non-technical features (T 1503/12, Reasons, point 3.3).
(c) Opinion G 3/08
35. In proceedings G 3/08, certain questions concerning the patentability of computer-implemented inventions were referred to the Enlarged Board by the President of the EPO. Failure to meet the conditions of Article 112(1)(b) EPC made the referral inadmissible (Opinion G 3/08 of 12 May 2010, OJ EPO 2011, 10).
36. Nevertheless, in its opinion the Enlarged Board made observations on the case law as it stood at that time. After declaring that it was not the Enlarged Board's task to assess whether the system described in T 154/04 was correct, the Enlarged Board noted that the boards in general were "quite comfortable" with the COMVIK approach and found that the case law summarised in T 154/04 had "created a practicable system for delimiting the innovations for which a patent may be granted" (G 3/08, Reasons, points 10.13.1 and 10.13.2). The Enlarged Board in G 3/08 distinguished between purely cognitive activities and technical activities, but made clear (see Reasons, point 13.2 and 13.3) that mental acts may also involve technical considerations (e.g. for bicycle design or computer programming). Considering the relevance of non-technical features in the context of the COMVIK approach, opinion G 3/08 remarked that the list of "non-inventions" in Article 52(2) EPC could play a very important role in determining whether claimed subject-matter is inventive (Reasons, point 10.13.1).
(d) Two-hurdle approach
37. To be patentable, any invention has to pass the eligibility test under Article 52 EPC (i.e. it must not fall under the "non-inventions" mentioned there) and also fulfil the other criteria listed in that article (novelty, inventive step, etc.). For computer-implemented inventions, the twofold test for patent eligibility and for inventive step (using the COMVIK criteria) is often referred to as the "two-hurdle approach" (see e.g. W. Chandler "Patentability of computer-implemented inventions (CIIs): state of play and developments" in OJ EPO, Supplementary publication 5/2015, 73).
38. It may be that a shift has taken place in the relative level of each of these two hurdles in the sense that it has become easier to clear the eligibility hurdle of Article 52 EPC (see point B.II.a above) and more difficult to pass the inventive step hurdle (see point B.II.b above) of Article 56 EPC. As result of this shift, it could be said that there is now in effect an additional intermediate step to assess the "eligibility of the feature to contribute to inventive step".
39. The two-hurdle approach for computer-implemented inventions actually entails three steps. Establishing whether a feature contributes to the technical character of the invention constitutes an intermediate step between assessing (i) the invention's eligibility under Article 52 EPC, and (ii) whether the invention is based on an inventive step vis-à-vis the closest prior art. This additional intermediate step serves as a filter for features contributing to a technical solution of a technical problem in view of the closest prior art. Only those distinguishing features can contribute to inventive step.
(e) Case law on the patentability of simulations
40. Case T 1227/05 concerned a resource-saving numerical simulation of an electronic circuit subject to 1/f noise (see also the analysis in point E.IV below). The relevant claims entailed calculating an output vector of the circuit on the basis of a model, an input vector and a noise vector. Starting from T 641/00 (COMVIK), the board considered, inter alia, that the simulation constituted an adequately defined technical purpose for a computer-implemented method, provided that the method was functionally limited to that purpose (Reasons, point 3.1). The performance of the electronic circuit's components was described by differential equations and did constitute an adequately defined class of technical items, the simulation of which could be a functional technical feature (Reasons, point 3.1.1). A technical effect was acknowledged for the simulation even though the claimed invention did not incorporate the physical end product (Reasons, point 3.4.2).
41. Decision T 625/11 followed the reasoning of T 1227/05, albeit only after discussing counterarguments in detail. The case concerned a computer-implemented method for establishing a limit value for an operational parameter of a nuclear reactor on the basis of a simulation of the reactor. The calculation of an operating parameter of a nuclear reactor on the basis of a simulation was held to contribute to the technical character of the invention, even though the use of the limit value for the operation of the nuclear reactor was not claimed (referring decision, Reasons, point 37; T 625/11, Reasons, point 8.4).
42. The amicus curiae briefs favouring the patentability of numerical simulations as such mainly rely on the two decisions cited in the previous two paragraphs. It was submitted that the small number of decisions on the patentability of simulations may be related to the fact that applicants often choose to avoid the critical issue – the intermediate hurdle as described above – by claiming steps that clearly provide a technical effect as an output of the claimed simulation. For example, T 1842/10 noted that modelling or simulating processes aimed only at gaining knowledge about the functioning of a real technical system did not serve a technical purpose. This conclusion, however, was not decisive since the claims according to the then pending main request filed during oral proceedings, included features clearly of a technical nature (T 1842/10, Reasons, point 5.3). In particular, the method claim under consideration comprised a step in which the computer controlled an influencing device such that a real steel volume was influenced (EP 1 711 868 B2, claim 1, step l; see also Reasons, point 40 of the referring decision). The applicant/appellant in T 625/11 chose a similar approach: the claims of an auxiliary request included a step implying physically controlling the real nuclear reactor underlying the simulation (T 625/11, point XII).
C. Interpretation of the referred questions
43. The scope of the referred questions, as understood in light of the relevant legal background, depends on how the questions, and in particular certain expressions used in the questions, are interpreted. The latter is relevant both for determining whether all requirements for the admissibility of the questions are met and for the answers to the referred questions themselves.
I. "Computer-implemented simulation" and "computer-implemented method of modelling"
44. The referred questions refer to "computer-implemented simulations" while the claims of all requests underlying the referring decision, except for the fourth auxiliary request, refer to "computer-implemented methods of modelling". All claims filed during the examination proceedings and underlying the refusal decision of the examining division refer to simulations only. The claims filed with the statement setting out the grounds of appeal distinguished between methods of "modelling pedestrian crowd movement" and "simulating movement of a plurality of pedestrians". The appellant did not give specific reasons for its shift from "simulation" to "modelling", except for its references to the originally filed application, in which the invention is described as relating to "a method of simulating movement of an autonomous entity through an environment, for particular but not exclusive use in a method of modelling pedestrian crowd movement" (page 1, lines 4 to 6). Thus, "simulating" is used for the simulation of the movement of one or more individual pedestrians and "modelling" for the simulation of the movement of an aggregate (or "crowd") of pedestrians (see e.g. claim 1 of the main request underlying the referring decision, point A.IV above). It is assumed that the appellant used "modelling" and "simulating" interchangeably in its claims.
45. Accordingly, in the referred questions, the referring board refers only to "simulations". Apart from when quoting the appellant, the referring decision refers to "model" or "modelling" only in the context of modelling the system to be simulated (model of the pedestrians or of the environment). According to the definition in point 21 of the Reasons of the referring decision, a simulation is "an approximate imitation of the operation of a system or process on the basis of a model of that system or process" (see point E.II below). Thus, establishing a model is a prerequisite for any simulation.
II. "Technical system or process" and "technical principles underlying the simulated system or process"
46. The referred questions concern the patentability of computer-implemented simulations of a "technical system or process", i.e. of a system or process that may be considered "technical" within the meaning of Article 52 EPC.
47. A "technical system or process" implies that an object is created or a process is run with some purpose based on human creativity (see point E.I.a below). As a contrasting example, the weather is not a technical system that the skilled person can improve but a physical system that can be modelled in the sense of showing how it works (see T 1798/13, Catchword). However, in the modelling or simulation of a system or process, the same laws of nature and mathematical foundations are applicable, regardless of whether the system or process is natural or technical. In both cases, the scientific (e.g. mathematical and physical) principles are applied within the boundaries set by the (natural or technical) system or process to be examined.
48. The application underlying the referral concerns the simulation of a process modelled not only using physical, measurable technical parameters but also human factors such as "dissatisfaction function", "inconvenience function" and "frustration function". However, the referring board has explained why it accepted that the simulated processes were technical (see Reasons, point 10 of the referring decision, in which the appellant's argument was accepted that pedestrians' movements could be described similarly to the movements of electrons). The Enlarged Board does not intend to deviate from the referring board's interpretation. The terms "technical system or process" and "technical principles underlying the simulated system or process" should be interpreted broadly. In the referral, they do not relate to the simulation or its patentability, but the system, process and principles reflected by the simulation.
III. "Technical problem" and "Technical effect going beyond the simulation's implementation"
49. In contrast to the terms discussed in the previous paragraph, these terms relate to simulation-related inventions and their patentability. Whether a simulation can solve a technical problem by producing a technical effect which goes beyond the simulation's implementation on a computer, can be understood only in the context of the COMVIK approach. Starting from the closest prior art, the invention has to fulfil these criteria (or have "technical character") to qualify as a technical invention. The features distinguishing the claimed invention from the closest prior art need to contribute to such technical character in order to be considered under Article 56 EPC. If the invention does not solve a technical problem, it has no distinguishing features which could contribute to inventive step.
50. The criterion "technical effect going beyond the simulation's implementation" is understood to mean any "further technical effect" going beyond the "normal" physical interactions between the program and the computer on which the simulation is run (see T 1173/97, Reasons, point 13; G 3/08, Reasons, point 10.2.1).
51. Any technical effect going beyond the normal electrical interactions within the computer on which the simulation is implemented may be considered for inventive step. According to the reasoning of the COMVIK approach, such effects would typically be "technical effects on a physical entity in the real world" (see the wording of question 3 in G 3/08) or technical effects requiring "a direct link with physical reality" (see referring decision, Reasons, point 11), but they could also be other effects such as technical effects within the computer system or network (achieved e.g. by adaptations to the computer system). The "technical effect going beyond the simulation's implementation" can therefore be rephrased as follows: "technical effect going beyond the simulation's straightforward or unspecified implementation on a standard computer system" which may therefore contribute to an inventive step in the context of the problem-solution approach.
IV. "Computer-implemented simulation as such"
52. The term "simulation as such" echoes Article 52(3) EPC, which excludes "non-inventions" according to Article 52(2) EPC only to the extent that they are claimed "as such" (for the background to the provision see e.g. T 1924/17, Reasons, points 17 to 19.4). However, simulations cannot be considered another "non-invention" alongside those listed in Article 52(2) EPC. Otherwise "simulations as such" would automatically be excluded from patentability.
53. The referring decision also uses the term "a simulation in the strict sense", described as an approximate imitation of the operation of a system or process based on a model of that system or process. In the case of a computer-implemented simulation, the model exists only on the computer and the simulation makes it possible to assess or predict the functioning of the modelled system or process (Reasons, point 21). On this basis, the Enlarged Board understands a computer-implemented "simulation as such" to be a simulation process comprising only numerical input and output (irrespective of whether such numerical input/output is based on physical parameters), i.e. without interaction with external physical reality. On this, see also the definition given in the written comments of the President of the EPO at footnote 16, and re-stated as follows by the President's representative during the oral proceedings: "claims not including steps preceding the simulation or following the simulation". Hence, physical simulations (such as wind tunnel experiments) are not simulations as such; neither are processes which include the measurement of physical values (such as temperature distributions) which are then used for simulations in subsequent process steps (see T 438/14 – Method and IR-camera for determining the risk of condensation).
D. Admissibility of the referral
I. Requirements for admissibility
54. According to Article 112(1)(a) EPC, "[i]n order to ensure uniform application of the law, or if a point of law of fundamental importance arises", a board of appeal "shall, during proceedings on a case and either of its own motion or following a request from a party to the appeal, refer any question to the Enlarged Board of Appeal if it considers that a decision is required for the above purposes."
55. Although the requirement for different decisions by two boards in the case of a referral by the President of the EPO (Article 112(1)(b) EPC) does not apply to referrals by boards, the boards should in any case seek to minimise inconsistencies in the case law.
56. The Enlarged Board must examine the above admissibility requirements with respect to each referred question individually (see, for example, G 3/08 and G 2/19). The Enlarged Board may rephrase the referred questions, for example, if this is appropriate and useful in order to better address the legal issues concerned (G 2/19, A.II; G 1/12, OJ EPO 2014, A114, Reasons, point 16; G 3/19, OJ EPO 2020, A119, Reasons, point III).
II. Criteria for assessing the admissibility of the referred questions
(a) Distinction between questions of law and questions of fact
57. Arguing against the admissibility of the referral, one amicus curiae brief submitted that question 2 was factual rather than legal. In particular, this question was said to be a technical question relating to the technical principles underlying a simulated system or process, which could only be answered based on the circumstances of the specific case (amicus curiae brief (13)).
58. The "uniform application of the law" to patent applications and patents implies that for any given legal provision, equivalent sets of facts are assessed according to the same criteria and principles. In order to establish a uniform application of substantive patent law, in most cases the facts from which a specific legal consequence should follow have to be described in technical terms. Regardless of whether the first requirement in Article 112(1)(a) EPC implies an absolute limitation to questions of law, the Enlarged Board considers the referred questions to be of a legal nature if only for the reason that the underlying issues are related to the interpretation of the word "technical", related to "technology" – which latter term is used in Article 52(1) EPC as part of a legal definition, supplemented by a non-exhaustive list of "non-technical" items listed in Article 52(2) EPC.
(b) Answers required for a decision on appeal
59. The referred questions assume that the systems and processes underlying the claimed computer-implemented simulation methods are of a technical nature. Should the simulated systems and processes not be considered technical, then the referred questions would not be pertinent for the case before the referring board.
60. Whether the movement of pedestrian crowds is purely technical is debatable, since it involves human intervention or decision-making, which factors are reflected in the claims through parameters such as "preferred step", "personal space" or "frustration function". The referring board is aware of these issues and has provided sound reasons as to why it considers the simulated systems and processes to be technical. The Enlarged Board sees no reason to revise this assessment. Consequently, the Enlarged Board assumes that the simulated systems and processes are technical and that the claimed simulations are within the scope of the referred questions.
61. It can furthermore be inferred from all the questions put by the referring board that the inventive step requirement will be assessed using the COMVIK approach or a similar method (i.e. by looking for technical effects produced by the individual technical and non-technical features). If these criteria were not applied and the inventive step requirement was assessed using other criteria, the assessment would not require an answer to the referred questions. However, the COMVIK approach has long been the prevailing method for the assessment of computer-implemented inventions and the Enlarged Board has deemed it a "practicable system" for this purpose (G 3/08, see point B.II.c above). In these circumstances, the Enlarged Board refrains from interfering with the referring board's choice of the COMVIK approach. Answers to the referred questions are relevant to the way in which it is to be applied. Whether they are required for a decision on the appeal needs to be assessed for each of the referred questions in turn (point D.I above).
(c) Necessity of ensuring a uniform application of law
62. The referring board considers that its views on the patentability of the claimed simulation methods deviate from earlier case law (in particular from T 1227/05, see point A.IV above and Reasons, point 15 of the referring decision). The Enlarged Board understands that the referring board wishes to avoid future diverging case law on computer-implemented simulations (see Reasons, points 17 to 19 of the referring decision). The Enlarged Board acknowledges the need for harmonisation. Future case law concerning computer-implemented simulations could develop in different directions if one line of decisions follows T 1227/05 (as interpreted by the referring board) and the referring board establishes another based on a solution it considers to diverge from that adopted in T 1227/05. There may also be a need for harmonisation within a wider group of computer-implemented inventions (see, for example, the referring board's considerations on the requirement of a direct link with physical reality, which requirement may be relevant for both simulations and other computer-implemented inventions).
(d) Point of law of fundamental importance
63. Many amicus curiae briefs emphasised the economic relevance of computer-implemented simulations and pointed out that the referred questions are of fundamental importance for applicants' interests and shaping their future patenting policy in this field. Yet, so far, the boards of appeal have had to decide on the patentability of computer-implemented simulations in only a small number of cases. In any event, it is difficult to assess how often, instead of a "simulation as such", other methods or systems including or adapted for simulation processes are claimed. In an unknown number of cases, the issue of the patentability of "simulations as such" is avoided by including in the claimed methods method steps which imply a direct link with physical reality (see point B.II.e above). The referred questions may also be pertinent for these cases. This is to be considered in view of the requirement of fundamental importance, which is fulfilled if the impact of the referred point of law extends beyond the specific case in hand and the point of law could be relevant to a large number of similar cases (G 1/12, Reasons, point 10; G 1/13, Reasons, point 2.1).
64. It was argued in some amicus curiae briefs that the answers to the referred questions would have an impact on the patentability of a broad range of computer-implemented inventions other than simulations. Whether a decision on simulations may have an impact on the patentability of other computer-implemented inventions is, however, of little relevance to the admissibility of the present referral since no predictions can be made on the extent to which any finding of the Enlarged Board in the present case will influence future case law concerning computer-implemented inventions other than simulations.
(e) Impact of the Enlarged Board's answers to the referred questions
65. The referred questions can only be understood in the context of case law developed over decades (COMVIK, see point C.III above). Criteria used in the questions, such as "technical problem" or "technical effect going beyond the simulation's implementation", are not requirements set by the legislator but were developed in the case law only. They should be open to further development as technology evolves, and it should even be possible for other criteria to emerge if they lead to more appropriate interpretations of the law.
III. Admissibility of the referred questions
(a) Question 1
66. Question 1 touches upon a point of law of fundamental importance; an answer is required (i) in the referring board's view, for a decision to be reached in the pending appeal case, and (ii) to ensure uniform application of the law in the field of computer-implemented simulations. Question 1 is therefore admitted.
(b) Question 2A
67. The Enlarged Board considers that it is never possible to give an exhaustive list of (positive or negative, alternative or cumulative) criteria for assessing whether a computer-implemented process solves a technical problem by producing a technical effect that goes beyond the implementation of the process on a computer. This applies to all computer-implemented processes, not only to simulations.
68. Moreover, an answer to question 2A is not required by the referring board in order to deal with the case before it if question 2B is answered in the negative. The referring board has made it clear that in this case it will have no problems applying the COMVIK criteria and will probably come to a negative result under Article 56 EPC. If question 2B is answered in the affirmative, there will be no need to establish other criteria since the criterion of technical principles underlying the simulated system or process will be sufficient (see point D.III.c below). Questions put to the Enlarged Board may remain unanswered to the extent they exceed the real need for clarification ("Soweit die Vorlagefragen über den wirklichen Klärungsbedarf hinausgehen, können sie unbeantwortet bleiben.", G 2/19, Reasons, point A.II).
69. The general question 2A on criteria "for assessing whether a computer-implemented simulation claimed as such solves a technical problem" is therefore not admitted.
(c) Question 2B
70. Question 2B is more specific than question 2A in that it singles out one criterion for assessing whether a computer-implemented simulation claimed as such solves a technical problem. An affirmative answer to question 2B will disperse with the need to formulate other criteria for that assessment once the conclusion is drawn that the simulation is based, at least in part, on technical principles underlying the simulated system or process. If question 2B is answered in the negative, the referring board will have to investigate whether other criteria could be used to establish the technical character (or lack thereof) of the claimed subject-matter. An answer to question 2B will thus provide the necessary guidance to the referring board as to whether any other criteria need to be considered. Question 2B is therefore admitted.
71. Since question 2B is based on question 2A and can be understood only in connection with the latter, the Enlarged Board has re-worded question 2B (i.e. the admissible part of question 2) as follows:
"For the assessment of whether a computer-implemented simulation claimed as such solves a technical problem, is it a sufficient condition that the simulation is based, at least in part, on technical principles underlying the simulated system or process?"
(d) Question 3
72. Even though the referred questions and the underlying patent application focus on the patentability of computer-implemented simulations, claim 1 of the fourth auxiliary request is directed to a method of designing a building structure. The claimed method comprises providing a model of a given building structure, simulating the movement of pedestrians in this building structure and revising the model of the building structure in dependence upon movement of the pedestrians (point A.IV above). This iterative process is a design method on the one hand, and includes the verification of a design on the other. For these reasons, the Enlarged Board considers that an answer to question 3 is required for the purposes referred to in Article 112(1)(a) EPC, namely to ensure uniform application of the law or to clarify a point of law of fundamental importance (point D.I above).
73. It is unclear whether design-related simulations are as fundamental in their importance and as apt to give rise to diverging case law as simulations in general. However, the verification of a design appears to be one of the main purposes of simulating technical systems (see the claims underlying the referred questions and T 1227/05). The Enlarged Board also takes the view that claims to computer-implemented simulations as part of a design process may be relevant in other contexts. For example, evolutionary algorithms together with simulation steps may be part of an automated or semi-automated design process for technical systems such as antennas.
74. For these reasons, question 3 is admitted.
E. Patentability of computer-implemented simulations
I. Technicality as required by the case law on computer-implemented inventions
(a) What is "technical"
75. The EPC, like national patent laws, does not define "invention" or "technical". However, from Article 52 EPC, it can be concluded that only "technical" inventions are patentable ("in all fields of technology", see also G 2/07, OJ EPO 2012, 130, Reasons, point 6.4.2.1). In G 2/07, which concerned a referral in the field of biotechnology, the Enlarged Board cited the definition of an invention given by the German Federal Court of Justice ("Bundesgerichtshof") in the latter's "Rote Taube" decision of 27 March 1969 (Case X ZB 15/67). According to this decision, the term "invention" implied a technical teaching, characterised as "a teaching to methodically utilize controllable natural forces to achieve a causal, perceivable result" ("eine Lehre zum planmässigen Handeln unter Einsatz beherrschbarer Naturkräfte zur Erreichung eines kausal übersehbaren Erfolgs", see the German original in GRUR 1969, 672, point 3, and the English translation published in 1 IIC (1970), 136). In G 2/07, the Enlarged Board held that this standard "still holds good today and can be said to be in conformity with the concept of 'invention' within the meaning of the EPC" (G 2/07, Reasons, point 6.4.2.1, fourth paragraph). The "Rote Taube" decision predates the non-exhaustive list of exclusions from patentability in Article 52(2) EPC. However, the Enlarged Board, when referring to "Rote Taube", must have considered that the negative definition resulting from the list of exclusions in the EPC did not contradict the findings in "Rote Taube". In accordance with its earlier case law and with the approach chosen by the legislator, the Enlarged Board will, in the present case too, refrain from putting forward a definition for "technical".
76. It is generally recognised in the case law of the boards of appeal that the cognitive content of data is not technical in nature (see e.g. T 1000/09, Reasons, point 7). The idea of treating information as part of the concept of "forces of nature" did not take root (see Zech in "Methodenfragen des Patentrechts" (Mohr Siebeck, Tübingen 2018, 137, 140)). The fact that the list of "non-inventions" in Article 52(2) EPC was discussed but not changed in the course of the EPC 2000 revision project supports the position that the term "technical" must remain open, not least in anticipation of potential new developments.
77. During the oral proceedings, the representatives of the President of the EPO argued that the definitions following the "Rote Taube" decision did not necessarily concern the whole scope of what may be considered to be technical but only the core of that concept ("Begriffskern"). The Enlarged Board would tend to agree that any definition of a technical invention may have to be extended in the course of time in order to accommodate new technical or scientific developments or to reflect societal changes. However, the "Rote Taube" case was about whether the definition should include a field of science (namely, biology) which had previously not been unequivocally regarded as technical for patenting purposes. By contrast, the COMVIK approach and the present referral turn rather on how a claimed invention makes a technical contribution, whatever the field of technology may be. The referring board is apparently ready to accept a broad concept of technicality, as it considers a process that is partly defined by parameters such as a frustration function to be technical.
(b) Technicality of computer-implemented inventions using the two-hurdle approach
78. Patent eligibility, the first hurdle, is to be assessed under Article 52 EPC without considering the prior art, i.e. without regard to whether computers existed at the priority date of the invention. The use of a computer in the claimed subject-matter therefore makes it eligible under Article 52 EPC (point B.II.a above).
79. For the second hurdle, the prior art is to be considered. Inventive step is based on the difference between the prior art and the claimed subject-matter. The requirement that the features supporting inventive step contribute to a technical solution for a technical problem means that the invention, understood as a teaching based on existing prior art, has to be a "technical invention". The use of a general-purpose computer always constitutes prior art in this context. The invention to be assessed under this provision needs to be "technical" beyond the use of a general-purpose computer. For this assessment, the definition of a technical invention in Article 52 EPC, in particular the list of "non-inventions" in Article 52(2) EPC, can be useful for determining whether specific features contribute to inventive step (see G 3/08, Reasons, point 10.13.1).
80. In general terms, features that can be considered technical per se may still not contribute to inventive step if they do not contribute to the solution of a technical problem (see point B.II.b above). In line with this principle, a technical step within a computer-implemented process may or may not contribute to the problem solved by the invention. In case T 1670/07, the claim was to a "method of facilitating shopping with a mobile wireless communications device to obtain a plurality of purchased goods (…) from a group of vendors located at a shopping location". The board found that the intrinsic technical nature of a computer-based implementation was not enough to make the whole process technical since the "selection of vendors" presented to the user in the course of the claimed method was not a technical effect, and the transmission of the selection no more than the dissemination of information (Reasons, point 9).
81. While Article 52 EPC is taken as the framework for determining whether there is a technical invention, the COMVIK approach applies the same criteria in the examinations whether the claimed subject-matter fulfils the provisions of Article 52 EPC and whether any distinguishing features may be considered for the analysis under Article 56 EPC. If, for the inventive step analysis, only those differences from the prior art are to be considered which contribute to solving a technical problem, then this requirement serves as a filter through which the features distinguishing an invention from the prior art must first pass.
82. It is a general principle that the question whether a feature contributes to the technical character of the claimed subject-matter is to be assessed in view of the whole scope of the claim. Using the problem-solution approach, the analysis under Article 56 EPC may reveal that a specific problem is not solved (i.e. a specific effect is not achieved) over the whole scope of the claim. In such cases, the aforementioned specific problem may not be considered as the basis for the inventive step analysis unless the claim is limited in such a way that substantially all embodiments encompassed by it show the desired effect (see, for example, T 939/92, OJ EPO 1996, 309, Reasons, point 2.6, where the board was not satisfied that substantially all claimed chemical compounds were likely to be herbicidally active). Such limitation is typically achieved by narrowing one or more features (e.g. a temperature or concentration range within a chemical process) and/or by adding one or more limiting features. The above principle, as it was elaborated in the often-cited decision T 939/92, just specifies the further general principle that the entire or substantially the entire claimed subject-matter must fulfil the patentability requirements. Another example would be methods for treatment of the human body which have both non-therapeutic and therapeutic effects, the latter falling within the exception to patentability under Article 53(c) EPC (see, for example, T 1635/09, OJ EPO 2011, 542, Reasons, points 3 and 5, where the claims could not be limited to a non-therapeutic method because the therapeutic elements and the non-therapeutic elements of the claimed use were inseparably associated with each other).
83. Likewise, a computer-implemented invention may have technical character and a feature may contribute to the technical character of the invention with respect to only parts of the claimed subject-matter. For example, an increased speed for an inventive data transmission method (constituting the technical effect) can only be achieved if the size of transmitted data packets exceeds a certain minimum size. In such a case, it may be necessary to limit the size of the data packets accordingly in the corresponding claim feature. The limitation of the claimed subject-matter to a scope for which a technical effect may be acknowledged can be achieved by adding further limiting features, such as steps establishing an interaction with external physical reality.
84. Following the COMVIK approach, a feature is only considered for inventive step if and to the extent that it contributes to the technical character of the claimed subject-matter. A pre-requisite for meeting the requirement that the claimed invention is inventive over the whole scope of the claim is that it is also technical over the whole scope. Consequently, the requirement is not met if the claimed feature in question contributes to the technical character only for certain specific embodiments of the claimed invention.
(c) Aspects of technicality in computer-implemented inventions

85. The above figure shows – in a simplified, non-exhaustive form – how and when "technical effects" or "technical interactions" may occur in the context of a computer-implemented process. The arrows represent interactions that are different from abstract data input, data output or internal data processing or transfer. Technical input may consist of a measurement; technical output may exist as a control signal used for controlling a machine. Both technical input and technical output are typically achieved through direct links with physical reality. Adaptations to the computer or its operation, which result in technical effects (e.g. better use of storage capacity or bandwidth), are also examples of features that may contribute to inventive step (for a list of examples and references to the relevant board decisions, see T 697/17, Reasons, point 5.2.5). In sum, technical effects can occur within the computer-implemented process (e.g. by specific adaptations of the computer or of data transfer or storage mechanisms) and at the input and output of this process. Input and output may occur not only at the beginning and the end of a computer-implemented process but also during its execution (e.g. by receiving periodic measurement data and/or continuously sending control signals to a technical system).
86. It is self-evident that the input and output are always nothing other than data, if only the data processing within the computer is considered. Computer-implemented processes, however, often include features – which could be technical or non-technical per se – that reflect the interaction of the computer with the external world. As explained above, it is not possible to exhaustively describe (or represent in graphical form) every type of feature of a computer-implemented invention that may contribute to the invention's technical character.
(d) Direct link with physical reality
87. The referring decision (Reasons, point 31), starting from G 3/08, discussed whether a claimed feature must cause a technical effect on a physical entity in the real world in order to contribute to the technical character of the claim. In G 3/08, this question was found to be inadmissible pursuant to Article 112(1)(b) EPC because it could not be established that two boards of appeal had given differing decisions on this issue. Quoting decisions beyond those considered in G 3/08, the referring board identified cases apparently requiring a technical effect directly linked to physical reality, but also others which suggested that a potential technical effect, i.e. an effect achieved only in combination with non-claimed features, was taken into account (Reasons, points 36 and 37).
88. Following existing case law and taking into account the relevant legal provisions, the Enlarged Board does not see a need to require a direct link with (external) physical reality in every case. On the one hand, technical contributions may also be established by features within the computer system used (see point E.I.b above). On the other hand, there are many examples in which potential technical effects - which may be distinguished from direct technical effects on physical reality - have been considered in the course of the technicality / inventive step analysis (see point E.I.e below). While a direct link with physical reality, based on features that per se are technical and/or non-technical, is in most cases sufficient to establish technicality, it cannot be a necessary condition, if only because the notion of technicality needs to remain open.
(e) Potential technical effects
89. Some of the amicus curiae briefs cited decision T 1173/97 in support of the argument that it is sufficient for a computer-implemented invention to have the potential to produce a technical effect. That decision acknowledged that a computer program product may have the potential to cause a predetermined further technical effect, i.e. a technical effect going beyond the technical effects within the computer that necessarily occur when a program is run on a computer (Reasons, points 6 and 7). The claims underlying this decision included claims to a "computer program product directly loadable into the internal memory of a digital computer" and to a "computer program product stored on a computer usable medium". The only question to be decided was whether these claims were excluded from patentability under Article 52(2) and (3) EPC (Reasons, point 9.1). In that context the board found that, since any (technical or non-technical) effect of a computer program can only be achieved when the program is run on a computer, a program only possesses the "potential" to produce any effect (Reasons, point 9.4). Nonetheless the board found that "[a] computer program product which (implicitly) comprises all the features of a patentable method" is "in principle considered as not being excluded from patentability under Article 52(2) and (3) EPC" (Reasons, point 9.6).
90. The acknowledgment of a "potential" to produce an effect in T 1173/97 meant that the effect of a computer program when run on a computer had to be considered in the patentability analysis, or, in other words, that the condition "when run on a computer" was implied in the claim to a computer program product. Based on this conclusion, the case was remitted to the department of first instance for further prosecution, "in particular for examination of whether the wording of the present claims avoids exclusion from patentability under Article 52(2) and (3) EPC" (point 2 of the order). The decision did not address the question whether the claimed invention had technical character, but it made clear that the physical modifications deriving from the execution of the instructions given by the program could not per se constitute the technical character of the invention (Reasons, point 6.6).
91. The principle developed in T 1173/97 that software (which in itself may only have "potential effects") is treated as software running on a computer is still applied, while the further analysis (i.e. whether the software causes further technical effects) is now carried out according to the COMVIK approach. When run on a computer, the combination of the claimed features must establish a technical invention. In the COMVIK analysis, the features have to be assessed as to their contribution to the technical character of the invention. Decision T 1173/97 did distinguish between the effects produced by every computer program when run on a computer and the "further technical effect" possibly resulting from the running of the program on the computer (Reasons, point 9.4). Of course, such "further technical effect" too may only be achieved when the program is run on the computer, i.e. the program may have the potential to cause such further technical effects which thus could be referred to as "potential further technical effects". However, T 1173/97 did not establish whether the claimed computer program was related to any further technical effect but only made clear that a computer program product is not inevitably excluded from patentability (Reasons, point 12.2). In particular, the decision does not imply that, once the software is running on a computer, "potential" technical effects (as understood by the referring board, see point E.I.d above) can always be treated as "real" technical effects for the purposes of the analysis according to the COMVIK approach.
92. The referring decision cites other decisions which have suggested "that a potential technical effect, i.e. an effect achieved only in combination with non-claimed features, can be taken into account in assessing inventive step" (Reasons, point 37). It refers to T 1351/04, in which – in the context of the COMVIK approach - a method for creating an index file and the resulting index file were considered to be technical means, since they determined the way the computer searched information, which search was a technical task (T 1351/04, Catchword and Reasons, point 7). This decision referred to "functional data, intended for controlling a technical device", which were "normally regarded as having technical character" (Reasons, point 7.2), and it also mentioned as an example T 110/90 (OJ EPO 1994, 557) concerning control signals for a printer, which were considered technical features of the text-processing system in which they occurred (see Reasons, point 4).
93. The appellant and the President of the EPO, and others too, referred to decision T 208/84 (VICOM, OJ EPO 1987, 14) as another example of data processing being considered to have a technical effect. This case distinguished a method of digitally processing images from a mathematical method as such (Reasons, points 5 and 6). Here, T 163/85 (OJ EPO 1990, 379) can also be mentioned. It concerned claims to a colour television signal adapted to generate a picture on specific television receivers. The deciding board found that the TV signal as claimed inherently comprised the technical features of the TV system in which it was being used (Reasons, point 2).
94. The older case law referred to above appears to confirm that data intended for controlling a technical device may be considered to have technical character because it has the potential to cause technical effects. In the context of the problem-solution approach and the COMVIK approach, such potential technical effects may be considered if the data resulting from a claimed process is specifically adapted for the purposes of its intended technical use. In such cases, either the technical effect that would result from the intended use of the data could be considered "implied" by the claim, or the intended use of the data (i.e. the use in connection with a technical device) could be considered to extend across substantially the whole scope of the claimed data processing method.
95. On the other hand, these arguments cannot be made if claimed data or data resulting from a claimed process has relevant uses other than the use with a technical device (such as for controlling a technical device). In this case, the analysis under Article 56 EPC may reveal that a technical effect is not achieved over substantially the whole scope of the claimed invention (see point E.I.b above).
96. In the Enlarged Board's view, the above-mentioned potential technical effects (which may be considered to be technical effects subject to certain conditions) have to be distinguished from the potential effects discussed in T 1173/97. The latter include all (technical and non-technical) effects resulting directly from the running of a program on a computer, i.e. effects occurring within the computer and relating to the hardware which executes the program. By contrast, the former are "downstream" effects which may or may not be caused by said data output. Of course, numerical data output from a computer is a necessary pre-condition for any effects that are caused, and the "downstream effects" can be seen as a potential effect of the software. However, the necessarily technical nature of some effects inside the computer does not mean that the "downstream" effects caused by the data output of the computer are necessarily of a technical nature. In T 1173/97 such effects – if considered as technical - were referred to as "further technical effects" (see Reasons, point 9.4).
(f) Virtual or calculated technical effects
97. It was argued during the present referral proceedings that technical effects which are not achieved through an interaction with physical reality, but are calculated in such a way as to correspond closely to "real" technical effects or physical entities, should be treated as technical effects for the purposes of the COMVIK approach. In the Enlarged Board's view, virtual or calculated technical effects should be distinguished from potential technical effects which, for example when a computer program or a control signal for an image display device is put to its intended use, necessarily become real technical effects.
98. Calculated status information or physical properties concerning a physical object are information which may reflect properties possibly occurring in the real world. However, first and foremost, they are mere data which can be used in many different ways. There may exist exceptional cases in which such information has an implied technical use that can be the basis for an implied technical effect. Still, in general, data about a calculated technical effect is just data, which may be used, for example, to gain scientific knowledge about a technical or natural system, to take informed decisions on protective measures or even to achieve a technical effect. The broad scope of a claim concerning the calculation of technical information with no limitation to specific technical uses would therefore routinely raise concerns with respect to the principle that the claimed subject-matter has to be a technical invention over substantially the whole scope of the claims (see point E.I.b above, referring to T 939/92).
99. The calculation of the physical state of an object (e.g. its temperature) is typically part of a measurement method. It is generally acknowledged that measurements have technical character since they are based on an interaction with physical reality at the outset of the measurement method. Measurements are often carried out using indirect measurements, for example, the measurement of a specific physical entity at a specific location by means of measurements of another physical entity and/or measurements at another location (see e.g. T 91/10, Reasons, point 5.2.1; T 1148/00, Reasons, point 9). Even though such indirect measurements may involve significant computing efforts, they are still related to physical reality and thus of a technical nature, regardless of what use is made of the results (for a combination of measurements and simulations see e.g. T 438/14).
(g) Criterion of a "tangible effect"
100. In support of the technical nature of calculated (technical) data, it was argued that the case law of the boards of appeal does not require a "tangible effect" for an invention to be patentable. The representatives of the President of the EPO referred in particular to T 533/09. This decision held claims to a defibrillation pulse sequence (see patent EP 1 284 788 B1) to be allowable. Defibrillation pulses are electric shocks delivered by a defibrillation device to a patient (see paragraph [0069] and Fig. 1 of said patent). In the context of Article 57 EPC (industrial applicability), the board held that the notion of a patentable invention was not linked to a "caractère tangible, au sens de matériel" (Reasons, point 7.2). Referring to the travaux préparatoires, the board found that the EPC did not limit patentability to certain categories of inventions (e.g. products and processes). The decision emphasised the difference from U.S. law, which, unlike the EPC, limited patentable inventions to "any new and useful process, machine, manufacture, or composition of matter" under 35 U.S.C. § 101 (Reasons, point 7.2). Even though T 533/09 was not limited to computer-implemented inventions, the claimed pulse sequences could be likened to control signals having potential further technical effects when put to their intended use (see point E.I.e above, in particular with respect to T 163/85 – colour television signal).
101. Many cases referring to "tangible" effects use their absence as an argument against patentability (see, as a recent example, T 215/13, Reasons, points 5 and 6 – no tangible technical problem solved). However, the Enlarged Board fully supports the view expressed in T 533/09 (Reasons, point 7.2) that a tangible effect is not a requirement under the EPC. Moreover, it is unclear to what extent the notions of "tangible effect" and "further technical effect" overlap. A criterion based on tangibility – in addition to the requirement of technicality – thus cannot contribute to a more precise delimitation of patentable inventions.
II. Features of a simulation
102. In the referring decision (Reasons, point 21), simulation is defined as "an approximate imitation of the operation of a system or process on the basis of a model of that system or process. In the case of a computer-implemented simulation, the model exists only in the computer and the simulation allows the functioning of the modelled system or process to be assessed or predicted." A definition given by the Association of German Engineers (VDI) refers to the "the imitation of a system with its dynamic processes in a model useable for experiments in order to obtain knowledge that can be transferred to reality" (VDI Richtlinie 3633, translation taken from amicus curiae brief (21)). Both definitions take into account that not only technical systems or processes may be simulated. While the VDI definition is narrower in that it is limited to systems with their dynamic processes (i.e. the change of status of the system over time), the definition given in the referring decision is more specific to computer-implemented (numerical) simulations.
103. Before sufficient computing power was available for accurate numerical simulations, physical simulations were used, e.g. simulations of waterways by scale modelling in sand, or wind tunnel experiments for vehicles and aircraft. Physical simulations can involve models using physical entities different from those relevant for the modelled system. For example, mechanical systems can be modelled by analogue electronic circuits showing the same dynamic behaviour as the modelled mechanical system. Physical simulations are still used for certain systems. Regardless of the nature of the simulation (physical or numerical) and by any definition, the result of the simulation is information about the potential behaviour of the modelled system or process.
104. The main features of a computer-implemented simulation can be summarised as follows:
(i) A numerical model of a system or process (which may be technical or non-technical) in the form of data that can be processed by a computer;
(ii) Equations representing the behaviour of the model (which may include random functions);
(iii) Algorithms providing numerical output that represents the calculated state of the modelled system or process (in particular, by time increments or as a sum or average calculated on the basis of numerous random events).
105. The system or process to be simulated is not part of the simulation. It merely sets the starting point or the boundaries for the simulation, not unlike, for instance, a real forest for a landscape painting. In terms of patent law, the simulated system or process is usually prior art for simulation inventions. The creative contributions of numerical simulations typically lie in the development, selection or improvement of underlying equations or algorithms, or in specific uses or adaptations of the computers employed for the simulations.
III. COMVIK approach applied to computer-implemented simulations
(a) Elements of a computer-implemented simulation
(i) Model and equations representing the model
106. A model and the equations representing the model are mathematical – regardless of whether a "technical" or "non-technical" system or process is modelled. One example in the latter category could be a model based on game theory. Establishing the model and the equations is a purely mental act, even though these activities might be supported by computers, for example in the course of establishing a spatial grid adapted to a mechanical system to be simulated.
107. If an existing system or process is to be simulated, a model should represent physical reality in such a way that, over the relevant ranges, the simulation based on it represents "reality" at least to a certain extent. It may turn out that a high level of precision and a consideration of all the applicable laws of nature are not required. Thus, for the simulation of an object's flight trajectory, aerodynamic drag effects may be neglected where the simulation concerns the fall of a stone from a tower, but may have to be taken into account where it concerns the trajectory of the shuttlecock in a badminton game. Relativistic effects may be neglected in the context of the speed of road vehicles, but they may be important in the context of satellite navigation. Physical reality can never be represented exactly.
108. A model of a system or process is based on assumptions which, depending on the relevant principles, may be difficult to verify. Whereas the laws of physics are usually well known, dependencies and parameters required for a model may be more difficult to establish if human factors or random events come into play. The claims of the application underlying the referral, for example, include parameters such as "personal space", "dissatisfaction function" and "frustration function", which can be quantified and built into a model only on the basis of assumptions which may need substantial adaptation in the course of the development of a simulation.
109. It may be debated whether a non-existing system or process may be "modelled" or "simulated" at all. However, for the purposes of establishing a model and formalising it through equations, it is irrelevant whether the system or process has ever existed or will ever exist. Simulating systems which are as yet unrealised improvements of a known system or even simulating dynamic processes which do not occur or which should actually be avoided in the physical world, appear to be significant applications of simulations (see e.g. T 625/11 – establishing a limit value for an operational parameter of a nuclear reactor). A simulation may allow investigation of a system without the need to build the system (see T 1227/05).
110. Following the COMVIK approach, models underlying a simulation form constraints (technical or not) which are not technical for the purposes of the simulation itself. However, they may contribute to technicality if they are, for example, a reason for adapting the computer or the way in which the computer operates, or if they contribute to technical effects relating to the results of the simulation.
111. Whether a simulation contributes to the technical character of the claimed subject-matter does not depend on the quality of the underlying model or the degree to which the simulation represents "reality". However, the accuracy of a simulation is a factor that may have an influence on a technical effect going beyond the simulation's implementation and may therefore be taken into consideration in the assessment under Article 56 EPC. For the purposes of Article 56 EPC, it can be that an alleged improvement is not achieved if the simulation is not accurate enough for its intended (technical) purpose, and the claimed simulation process may be considered non-inventive as a consequence even if the simulation contributes to the technical character of the invention. Conversely, a technical effect may still be achieved by a method involving numerical simulations if certain simulation parameters are inaccurate. If an improvement or a specific function is reflected in the claim and cannot be achieved by means of a simulation that does not reflect "reality" accurately enough, objections may also arise under Article 83 EPC if the skilled person is unable to find the necessary models and equations without undue burden.
(ii) Algorithms
112. Algorithms are the basis of any computer-implemented invention. Formulating an algorithm, like establishing a model, is a cognitive exercise. The definition of an algorithm does not necessarily involve technical considerations (G 3/08, Reasons, point 13.5.1, referring to the travaux préparatoires). Algorithms contribute to the technical character of a computer-implemented method only if they serve a technical purpose (see T 1358/09, referring to T 1784/06). For example, an algorithm may be particularly suitable to be run on a computer in that its design was motivated by technical considerations relating to the internal functioning of the computer (see T 1358/09, point 5.5).
113. Once they have been identified as contributing to the technical character of a simulation, algorithms may, like models and equations, be relevant in the last step of the assessment under Article 56 EPC. An algorithm which is not suitable for solving the applicable equations reliably and quickly enough may lead to a simulation which does not solve the problem that is relevant for the problem-solution approach.
(b) Technical features of a "simulation as such"
114. Computer-implemented simulations are computer-implemented processes, usually comprising a mix of technical and non-technical features. The Enlarged Board therefore starts from the assumption that the criteria developed in the COMVIK approach may be applied.
115. From the above figure (point E.I.c) and considerations on effects that may be considered technical (points E.I.c to E.I.g), it would appear that most "simulations as such" may have few technical effects as far as input and output (which consist of data in "simulations as such") are concerned. However, even if there are no real external physical effects, the software – including the underlying algorithms - may still contribute to the technical character of a computer-implemented invention in that it is adapted to the internal functioning of the computer or computer system/network (see amicus curiae brief (6), page 6; see also T 697/17). Simulations may even require computer power which is not available from a standard computer (for example, quantum computing could be necessary for turbulence or molecular simulations). Technical improvements to simulations as such could also be achieved by particular details of the implementing software.
116. However, any such implementation details concerning hardware or software would have to be disclosed in the patent application. In order to rely on any technical improvement based on implementation details for the purposes of Article 56 EPC, such implementation details should appear as limiting features in the pertinent patent claims, since the claim would otherwise encompass embodiments that did not lead to the alleged technical improvement (see T 939/92).
117. The assessment of whether or not a feature contributes to the technical character of a computer-implemented invention is presumably no different for computer-implemented simulations than for other computer-implemented inventions. There are, for example, computer-implemented methods for the prediction of the status of a (technical or non-technical) system which do not qualify as simulations but raise the same issues as to their technical character.
(c) Relevance of the technical nature of the simulated system or process
118. All a simulation does is provide information about the model underlying it. If the model is accurate enough and properly reflected in suitable equations and algorithms, the simulation may allow conclusions to be drawn about the physical reality being modelled. The invention underlying the referring decision may test how a certain building structure – as represented by the model – would influence the movement of "autonomous entities" or pedestrians if they move in the way described by the model. Should the simulation lead to a result different from that of experiments carried out in the "physical world", the model may need adaptation. In practice, models are improved by being adapted in such a way that they result in data which more accurately reflects the physical reality modelled.
119. It may be that some simulations of technical systems do not contribute to inventive step. For example, it may be considered that in a computer game the simulation of a billiard ball being played does not solve a technical problem. Conversely, following the COMVIK approach, it is possible to envisage simulations of non-technical systems (such as weather simulations) that do contribute to inventive step.
120. According to the COMVIK approach, it is not decisive whether the simulated system or process is technical or not. Rather, it is relevant whether the simulation of the system or process contributes to the solution of a technical problem. This question has to be answered using the same criteria as for other computer-implemented inventions. If a simulation is to be used for the verification or improvement of a technical system, it is of course the technical system which is simulated (based on the technical principles underlying the simulated system). However, the mere calculation of the behaviour of a (technical) system as it exists on the computer, and the numerical output of such calculation, should not be confused with any technical effect of the simulation process.
121. Even if the simulated system or process is technical, it first has to be translated into models and algorithms (i.e. non-technical information) ahead of the simulation. Only after the first step can this non-technical information represent a technical system or process. Such models and algorithms first of all define (non-technical) constraints to be considered in the context of the COMVIK approach. Depending on whether they contribute to any technical effect achieved by the claimed simulation invention, they may or may not in fact be taken into account in the inventive step assessment.
(d) Arguments raised in support of the relevance of the technical nature of the simulated system or process
122. It was argued in the course of these referral proceedings that a simulation is of a technical nature and has technical effects if the relevant skilled person is a technically skilled person in the field of the simulated system or process (see e.g. the comments of the President of the EPO, points 23 to 25). This argument is partly based on T 817/16 (see Reasons, point 3.12), which relies on the (technically) skilled person in order to distinguish between technical and non-technical features. This approach may be suitable in some cases but may prove difficult in others where the skilled person for the simulation is different from that for the system represented by the model underlying the simulation. The skilled person is relevant for inventive activity. A technical or non-technical system represented in a simulation process is usually part of the prior art and determines the basis of the simulation. Unless this system is to be improved (not just simulated), the skilled person of this field is less relevant than the skilled person for the simulation (and/or its function), which is the subject-matter of the invention.
123. At least one amicus curiae brief argued that avoiding the need to build certain prototypes is a technical effect. This argument is not convincing because the decision to build or not to build a prototype is a business decision made by humans. In a similar way, it could be argued that forecasting bad weather results in lower fuel consumption. This technical effect is not the direct consequence of the output of the weather forecasting process but only occurs if, for example, human decisions are taken to refrain from planned leisure trips by car on a rainy day.
124. Another argument, which underpins some of the existing case law on numerical simulations (see point B.II.(d) above) and was also put forward in the comments of the President of the EPO, is based on equating the result of the simulation to the "technical effect" to be considered in the problem-solution approach (point 29). The argument that the technical effect thus goes beyond the simulation's computer implementation and its numerical result is used, inter alia, when the simulation is described as an (intermediate) step in the production of a technical system. The "Logikverifikation" decision of the German Federal Court of Justice (Case X ZB 11/98, GRUR 2000, 498, see referring decision, Reasons, point 21) accepted this argument. In the Enlarged Board's view, however, only those technical effects that are at least implied in the claims should be considered in the assessment of inventive step. If the claimed process results in a set of numerical values, it depends on the further use of such data (which use can happen as a result of human intervention or automatically within a wider technical process) whether a resulting technical effect can be considered in that assessment. If such further use is not, at least implicitly, specified in the claim, it will be disregarded for this purpose.
125. Several amicus curiae briefs relied on decision T 769/92 (OJ EPO 1995, 525) to support the argument that technical principles underlying the simulated system or process are sufficient to establish a technical problem. Headnote I of said decision sets "technical considerations concerning particulars of the solution of the problem the invention solves" as a requirement. As mentioned in the referring decision, this criterion was used in T 769/92 to apply the eligibility hurdle of Articles 52(2)(c) and (3) EPC, since that decision still followed the "contribution approach" (Reasons, point 34 of the referring decision, quoting G 3/08, Reasons, points 10.6 and 10.7). While it is correct that similar "technicality" considerations apply with respect to the two hurdles of the COMVIK approach (see point B.II.c above and G 3/08, Reasons, point 10.13.1), it is the second hurdle which is relevant for Article 56 EPC. It requires that any technical considerations must pertain to the invention, i.e. to the simulation, rather than the prior art including the simulated system or process. The technical considerations which may be required in order to understand the simulated system or process are not necessarily relevant to whether the invention solves a technical problem by producing a technical effect. According to the COMVIK approach, "technical considerations" should result in contributions to the technical character of the invention itself. Applied to computer-implemented simulations, only technical considerations relating to a potential contribution to the technical character of the simulation can be relevant for the inventive step assessment.
126. It appears that decision T 769/92 – even though issued many years before COMVIK – applied similar principles. The underlying claims concerned a computer-implemented invention for use in a commercial context ("at least financial and inventory management", see claims 1 and 2 quoted in point V of the Facts and Submissions). The deciding board considered that it was not relevant whether the "management" features related to managing business processes or technical processes, but it mentioned that the exclusion from patentability would not apply to inventions "where technical considerations are to be made considering the particulars of the implementation" (Reasons, points 3.2 and 3.3). The claimed invention was characterised, in particular, by the independent management of two different types of data using a single common user interface in the form of a "transfer slip" (Reasons, points 3.7 and 3.8). In other words, the "technical considerations" addressed in the Headnote of the decision refer to technical considerations necessary in the context of the implementation of the data processing, not to the nature of the data processed or to the business or technical context in which the invention is applied.
IV. Existing case law on simulations
127. Decision T 1227/05 is clearly the decision that was most often quoted in the course of the present proceedings. The application in issue concerned computer-implemented methods for the numerical simulation of electronic circuits subject to 1/f noise, the solution being based on the notion that 1/f noise can be simulated by feeding suitable random numbers into the circuit model. In the deciding board's view, the simple generation of the random numbers and the possibility of calculating them separately, before the start of the circuit simulation, provided for a resource-efficient computer simulation (Reasons, point 1.3). In its analysis under Article 56 EPC, the board explicitly relied on the COMVIK approach, finding that the simulation of a circuit subject to 1/f noise constituted an adequately defined technical purpose for a computer-implemented invention "provided that the method is functionally limited to that technical purpose" (Reasons, point 3.1). In view of the method's functional limitation to the simulation of a noise-affected circuit, the board came to the conclusion that such simulation could be considered to be a functional technical feature (Reasons, points 3.1.1 and 3.1.2). The board also made clear that the metaspecification of an (undefined) technical purpose could not be considered adequate. Reference was made to originally filed claim 4 directed to a process for the simulation of a technical system subject to 1/f noise, which claim was not maintained on appeal (see Reasons, point 3.1.1).
128. The Enlarged Board understands that, in this particular case, the board concluded that the effect of the claimed simulation could be accepted as a technical effect. Emphasis was put on the "specific" and "limited" purpose of the output of the claimed simulation methods, which was considered to have technical character for the purposes of Article 52 EPC (see the heading of Reasons, point 3). In the context of its conclusion, the board made no explicit reference to its above-mentioned finding that the claimed method provided for a resource-efficient computer simulation. In the Enlarged Board's view, calculated numerical data reflecting the physical behaviour of a system modelled in a computer usually cannot establish the technical character of an invention in accordance with the COMVIK approach, even if the calculated behaviour adequately reflects the behaviour of a real system underlying the simulation. Only in exceptional cases may such calculated effects be considered implied technical effects (for example, if the potential use of such data is limited to technical purposes, see point E.I.f above). In this context, it is not the Enlarged Board's role to re-assess decision T 1227/05, which was taken in the specific circumstances of the case, or to judge whether the position envisaged by the referring board would diverge from T 1227/05. As noted above (point 127), the board in T 1227/05 did not rely for its decision solely on its findings that the simulated system was a technical system and that the system could only be understood and modelled by relying on technical considerations.
129. Case T 625/11 concerned a method for establishing by a computer system at least one limit value for at least one operational parameter of a nuclear reactor, which method included a simulation step and resulted in numerical value(s) for one or more limit values for e.g. global power P of the reactor. The board discussed in detail the technicality requirements of the COMVIK approach, taking into account arguments both for and against accepting that the calculation of the limit values gave a technical character to the claimed invention (Reasons, points 7 and 8.4). One of the main negative arguments discussed was that claims which did not include technical applications of the calculated values would encompass uses for non-technical purposes, such as uses by public authorities and uses for educational purposes (see Reasons, points 7.2.6 and 8.1). As a consequence, the claimed subject-matter could not be considered inventive over the whole scope of the claim (see Reasons, point 7.2.6, referring to T 939/92; see also point E.I.b) above.
130. However, the board in T 625/11 considered that the relevant questions were the same as in T 1227/05 and ultimately followed the conclusions of that decision, accepting that the calculated limit values for the operation of a nuclear reactor conferred a technical character to the invention (Reasons, point 8.4).
131. Decision T 625/11 also addressed the criterion of the technical or non-technical nature of the simulated system in issue with reference to decisions T 531/09 and T 1265/09 (both involving simulations), which the board distinguished from T 1227/05 on the basis of the non-technical nature of the objects simulated in those cases (Reasons, point 8.3). T 531/09 concerned a computer system for simulating "a security checkpoint for screening persons and their carry-ons", for example at an airport. The deciding board found that the technical delays modelled in the context of the checkpoint simulations were non-technical (i.e. not related to the technical details of x-ray devices or metal detectors used at the checkpoint) and that the claimed process was therefore a non-technical process (Reasons, points 4 and 5). Decision T 1265/09 concerned computer-implemented methods of determining an efficient schedule for a plurality of scheduled agents in a telephone call center. The effect of an efficient schedule was found to be a business aim which did not necessarily imply any technical effects (Reasons, point 1.4). It appears that in both decisions the negative assessment under Article 56 EPC was (or could have been) based on the lack of a technical effect by the simulation rather than on the non-technical nature of the simulated system. A further example in this context is decision T 1798/13, which pertains to a method for forecasting a value of a weather-based structured financial product based on the input of real weather data and calculations of a weather forecast. The deciding board held that the weather was not a technical system but a physical system that could be modelled to show how the system worked, and did not accept the appellant's argument that improving the reliability and predictability of weather forecast data was a technical problem (Reasons, points 2.10 and 2.11). It may be added that while improved weather forecasting can certainly not contribute to the technical character of an invention if the claim is directed to the forecasting of a value of a financial product, it probably can do so if the weather forecasting data is used, for example, to automatically open or close window shutters on a building. T 1798/13 also mentioned T 2331/10, which discussed, inter alia, whether the operation of wind turbines on the basis of weather forecasts served technical or commercial purposes.
132. As already mentioned in the introductory parts of the present decision (point B.II.e above), the issue of the patentability of simulations as such has not arisen very often, partly because it may be avoided by claiming steps which clearly confer technical character to the invention. Of the cases in which the issue has arisen, T 625/11 followed T 1227/05, while others diverged from these two cases (see e.g. T 2331/10, Reasons, point 5.4).
133. The Enlarged Board agrees with the findings of T 1227/05 and T 625/11 if they are understood as being that the claimed simulation processes in those particular cases possessed an intrinsically technical function. However, there are rather strict limits for the consideration of potential or merely calculated technical effects according to the COMVIK approach (see points E.I.d to E.I.g above). The often-quoted criterion of T 1227/05 that the simulation constitutes an adequately defined technical purpose for a numerical simulation method if it is functionally limited to that purpose should not be taken as a generally applicable criterion of the COMVIK approach for computer-implemented simulations, since the findings of T 1227/05 were based on specific circumstances which do not apply in general.
134. The Enlarged Board has not identified any case law on computer-implemented simulations claimed as part of a design process (referred question 3). However, case law referring to design processes, in particular decisions T 453/91 and T 471/05, was cited in the present proceedings. In the first decision, the method claims found to be allowable were to methods of manufacturing semiconductor chips comprising two steps: a) designing and b) manufacturing the chip (see claims 3 and 4 of patent EP 0 271 596). In the terms of the present referral, the claims were not directed to design methods "as such". The inclusion of a manufacturing step would of course be an argument in favour of patentability according to the – subsequently developed – COMVIK approach. The second decision, T 471/05, found a method for designing an optical system using an optics design program to be patentable (see claim 1 of patent EP 0 932 845). The reference to implementation by means of a computer program overcame the objections raised under Article 52 EPC (Reasons, point 4.1). However, in the context of inventive step, no reference was made to the technical or non-technical nature of the method and its steps, or otherwise to the COMVIK approach (Reasons, point 4.3). This decision is therefore of limited relevance to the referred questions. As far as referred question 3 is concerned, the Enlarged Board therefore sees no existing case law which needs to be considered.
135. In the course of the referral proceedings, reference was made to certain national decisions, in particular the German Federal Court of Justice's "Logikverifikation" decision of 13 December 1999 (Case X ZB 11/98) and Halliburton v Comptroller-General of Patents [2011] EWHC 2508 (Pat) of the High Court of England and Wales (see Reasons, points 46 and 48 of the referring decision). However, as the referred questions are only understood in the framework of the COMVIK approach, which was specifically established in the case law of the boards of appeal and on which the national decisions are not based, the Enlarged Board does not consider it appropriate to address them in detail.
V. Conclusions for the application of the COMVIK approach to simulations
136. In the Enlarged Board's opinion, the COMVIK approach is suitable for the assessment of computer-implemented simulations. Like any other computer-implemented inventions, numerical simulations may be patentable if an inventive step can be based on features contributing to the technical character of the claimed simulation method.
137. When the COMVIK approach is applied to simulations, the underlying models form boundaries, which may be technical or non-technical. In terms of the simulation itself, these boundaries are not technical. However, they may contribute to technicality if, for example, they are a reason for adapting the computer or its functioning, or if they form the basis for a further technical use of the outcomes of the simulation (e.g. a use having an impact on physical reality). In order to avoid patent protection being granted to non-patentable subject-matter, such further use has to be at least implicitly specified in the claim. The same applies to any adaptations of the computer or its functioning.
138. The same considerations apply to simulations claimed as part of a design process. A design process is normally a cognitive exercise. However, it certainly cannot be ruled out that in future case there may be steps within a design process involving simulations which contribute to the technical character of the invention. Moreover, "design" is not a clearly defined term, and there may well be software functions that can be associated with or even result in a "design".
F. Implications for the referred questions
I. Question 1 – Solution of a technical problem by a simulation as such
139. No group of computer-implemented inventions can be a priori excluded from patent protection. For this reason alone, question 1 is to be answered in the affirmative. Furthermore, the COMVIK approach requires an assessment of the technical contribution of the individual features of computer-implemented inventions. Like any other computer-implemented method, a simulation without an output having a direct link with physical reality may still solve a technical problem.
II. Question 2b – Technical principles as a sufficient condition
140. It has been established in the COMVIK approach that, depending on the technical context, features that are non-technical per se may still contribute to the technical character of a claimed invention, just as features that are technical per se will not necessarily contribute to it. In a similar way, the simulation of non-technical processes may contribute to the technical character of an invention. On the other hand, it may be that the simulation of a technical system does not contribute to it.
141. A simulation is necessarily based on the principles underlying the simulated system or process. Even if these principles can be described as technical, the simulation does not necessarily have a technical character. Were it sufficient, for the purposes of question 2B, for the simulation to be based on technical principles, then computer-implemented simulations would hold a privileged position within the wider group of computer-implemented inventions without there being any legal basis for such a privilege. Question 2B is therefore to be answered in the negative, which means that for numerical simulations too it must be examined on a case-by-case basis whether the standard "technicality" criteria for computer-implemented inventions are met.
142. A numerical simulation which contributes to a technical solution of a technical problem may even reflect non-technical aspects, such as human behaviour, which can be described, for example, by game theory models. If the fact that a simulated system or process was based on non-technical principles necessarily meant that the simulation could not have technical character, this would mean a particular group of numerical simulations being discriminated against without any legal basis for such discrimination. In view of this, the Enlarged Board is of the opinion that it is neither a sufficient nor a necessary condition that a numerical simulation is based, at least in part, on technical principles that underlie the simulated system or process.
III. Question 3 – Simulation as part of a design process
143. In the Enlarged Board's understanding, question 3 refers to claims explicitly mentioning a design process, in particular a process for verifying a design. A design process is normally a cognitive activity. However, following the COMVIK approach and depending on the technical context, features relating to a design may or may not contribute to the technical character of a claimed invention.
144. The Enlarged Board does not see any need for the application of special rules if a simulation is claimed as part of a design process. Any special treatment of such combinations would cause delimitation problems since "design" is not a clear criterion and the term itself need not even be mentioned in a claim to a design process. Moreover, there could be uncertainties as to the applicability of such special rules since design steps may be claimed in contexts which do not involve simulations.
G. Order
For these reasons, it is decided that the questions of law referred to the Enlarged Board of Appeal are answered as follows:
1. A computer-implemented simulation of a technical system or process that is claimed as such can, for the purpose of assessing inventive step, solve a technical problem by producing a technical effect going beyond the simulation's implementation on a computer.
2. For that assessment it is not a sufficient condition that the simulation is based, in whole or in part, on technical principles underlying the simulated system or process.
3. The answers to the first and second questions are no different if the computer-implemented simulation is claimed as part of a design process, in particular for verifying a design.