Artikel 77
BESCHWERDEKAMMERN
Entscheidung der Großen Beschwerdekammer vom 10. März 2021 - G 1/19
(Übersetzung)
Zusammensetzung der Kammer:
Vorsitzender:
C. Josefsson
Mitglieder:
F. Blumer
G. Eliasson
A. Aslan
I. Beckedorf
T. Bokor
A. Ritzka
Beschwerdeführer (Anmelder):
Bentley Systems (UK) Limited
Stichwort:
Fußgängersimulation
Relevante Rechtsnormen:
Art. 52 (1), 52 (2), 52 (3), 56, 112 (1) a) EPÜ
Recht von Nichtvertragsstaaten:
USA: Titel 35 U.S.C. § 101
Angeführte Urteile nationaler Gerichte:
Deutschland: Bundesgerichtshof X ZB 15/67 (Rote Taube); X ZB 11/98 (Logikverifikation)
Schlagwort:
"Zulässigkeit der Vorlage - bejaht" – "Übergangsbestimmungen zum EPÜ 2000" – "Patentierbarkeit von computerimplementierten Simulationen"
Leitsätze:
1. Für die Zwecke der Beurteilung der erfinderischen Tätigkeit kann eine computerimplementierte Simulation eines technischen Systems oder Verfahrens, die als solche beansprucht wird, durch Erzeugung einer technischen Wirkung, die über die Implementierung der Simulation auf einem Computer hinausgeht, eine technische Aufgabe lösen.
2. Für diese Beurteilung ist es keine hinreichende Bedingung, dass die Simulation ganz oder teilweise auf technische Prinzipien gestützt wird, die dem simulierten System oder Verfahren zugrunde liegen.
3. Die erste und zweite Frage sind auch dann nicht anders zu beantworten, wenn die computerimplementierte Simulation als Teil eines Entwurfsverfahrens beansprucht wird, insbesondere für die Überprüfung eines Entwurfs.
Inhaltsverzeichnis
A. Zusammenfassung des Verfahrens
I. Vorlagefragen
II. Streitanmeldung
III. Prüfungsverfahren/angefochtene Entscheidung
IV. Beschwerdeverfahren
V. Verfahren vor der Großen Beschwerdekammer
B. Rechtlicher Hintergrund
I. Vorschriften des EPÜ
II. Ständige Rechtsprechung zu computerimplementierten Erfindungen
a) Erfordernisse des Artikels 52 EPÜ
b) COMVIK-Ansatz zur Patentierbarkeit computerimplementierter Erfindungen
c) Stellungnahme G 3/08
d) Zwei-Hürden-Ansatz
e) Rechtsprechung zur Patentierbarkeit von Simulationen
C. Auslegung der Vorlagefragen
I. "Computerimplementierte Simulation" und "Computerimplementiertes Verfahren zur Modellierung"
II. "Technisches System oder Verfahren" und "dem simulierten System oder Verfahren zugrunde liegende technische Prinzipien"
III. "Technische Aufgabe" und "über die Implementierung der Simulation hinausgehende technische Wirkung"
IV. "Computerimplementierte Simulation als solche"
D. Zulässigkeit der Vorlage
I. Zulässigkeitsvoraussetzungen
II. Kriterien für die Beurteilung der Zulässigkeit der Vorlagefragen
a) Unterscheidung zwischen Rechtsfragen und Sachfragen
b) Für eine Entscheidung über die Beschwerde erforderliche Antworten
c) Notwendigkeit der Sicherung einer einheitlichen Rechtsanwendung
d) Rechtsfrage von grundsätzlicher Bedeutung
e) Auswirkung der Antworten der Großen Beschwerdekammer auf die Vorlagefragen
III. Zulässigkeit der Vorlagefragen
a) Frage 1
b) Frage 2A
c) Frage 2B
d) Frage 3
E. Patentierbarkeit von computerimplementierten Simulationen
I. In der Rechtsprechung zu computerimplementierten Erfindungen geforderte Technizität
a) Was ist "technisch"?
b) Technizität von computerimplementierten Erfindungen anhand des Zwei-Hürden-Ansatzes
c) Aspekte der Technizität von computerimplementierten Erfindungen
d) Direkte Verbindung zur physischen Realität
e) Potenzielle technische Wirkungen
f) Virtuelle oder berechnete technische Wirkungen
g) Kriterium einer "greifbaren Wirkung"
II. Merkmale einer Simulation
III. COMVIK-Ansatz angewendet auf computerimplementierte Simulationen
a) Elemente einer computerimplementierten Simulation
b) Technische Merkmale einer "Simulation als solcher"
c) Relevanz der technischen Natur des simulierten Systems oder Verfahrens
d) Argumente für eine Relevanz der technischen Natur des simulierten Systems oder Verfahrens
IV. Vorhandene Rechtsprechung zu Simulationen
V. Schlussfolgerungen zur Anwendung des COMVIK-Ansatzes auf Simulationen
F. Schlussfolgerungen für die Vorlagefragen
I. Frage 1 – Lösung einer technischen Aufgabe durch eine Simulation als solche
II. Frage 2b – Technische Prinzipien als hinreichende Bedingung
III. Frage 3 – Simulation als Teil eines Entwurfsverfahrens
G. Entscheidungsformel
A. Zusammenfassung des Verfahrens
I. Vorlagefragen
1. Mit ihrer Zwischenentscheidung T 489/14 vom 22. Februar 2019 (ABl. EPA 2019, A86; nachstehend "Vorlageentscheidung") befasste die Technische Beschwerdekammer 3.5.07 (nachstehend "vorlegende Kammer") auf der Grundlage von Artikel 112 (1) a) EPÜ die Große Beschwerdekammer mit folgenden Rechtsfragen (nachstehend "Vorlagefragen"):
1. Kann – bei der Beurteilung der erfinderischen Tätigkeit – die computerimplementierte Simulation eines technischen Systems oder Verfahrens durch Erzeugung einer technischen Wirkung, die über die Implementierung der Simulation auf einem Computer hinausgeht, eine technische Aufgabe lösen, wenn die computerimplementierte Simulation als solche beansprucht wird?
2. [2A] Wenn die erste Frage bejaht wird, welches sind die maßgeblichen Kriterien für die Beurteilung, ob eine computerimplementierte Simulation, die als solche beansprucht wird, eine technische Aufgabe löst? [2B] Ist es insbesondere eine hinreichende Bedingung, dass die Simulation zumindest teilweise auf technische Prinzipien gestützt wird, die dem simulierten System oder Verfahren zugrunde liegen?
3. Wie lauten die Antworten auf die erste und die zweite Frage, wenn die computerimplementierte Simulation als Teil eines Entwurfsverfahrens beansprucht wird, insbesondere für die Überprüfung eines Entwurfs?
(Nummerierung 2A und 2B hinzugefügt von der Großen Beschwerdekammer.)
II. Streitanmeldung
2. Die europäische Patentanmeldung Nr. 03793825.5, veröffentlicht als internationale Anmeldung WO 2004/023347, trägt die Bezeichnung "Simulation der Bewegung einer autonomen Einheit durch eine Umgebung". Die Erfindung bezieht sich insbesondere auf die Modellierung und die Simulation von Bewegungen eines Fußgängers in einer Umgebung. Die Simulation der Bewegung eines einzelnen Fußgängers kann Teil der Simulation der Bewegung einer Fußgängermenge in einem Bauwerk sein. Die Modellierung eines Bauwerks und das Simulieren der Bewegung einer Fußgängermenge innerhalb des Bauwerks können hilfreich sein für die Überprüfung, ob der Entwurf des Bauwerks bestimmte Anforderungen erfüllt, beispielsweise im Fall der Evakuierung eines Stadions oder eines Bahnhofs.
3. Während dafür im in der Anmeldung beschriebenen Stand der Technik makroskopische Modelle verwendet wurden (z. B. Beschreibung einer Fußgängermenge als quasi homogenes Medium, ähnlich einer Flüssigkeit, ohne Berücksichtigung einzelner Fußgänger), basiert der Ansatz in der Anmeldung auf der Modellierung einzelner Fußgänger mit ihrer jeweils eigenen Absicht, einen Zielort zu erreichen, einem persönlichen Profil, das eine bevorzugte Gehgeschwindigkeit und/oder Schrittlänge einschließen kann, und einem sie umgebenden persönlichen Raum, der möglichst frei von Behinderungen (Bauwerken und anderen Fußgängern) sein sollte.
4. Anspruch 1 in der ursprünglich eingereichten Fassung lautet wie folgt:
"1. Verfahren zum Simulieren der Bewegung einer autonomen Einheit durch eine Umgebung, umfassend
das Bereitstellen eines provisorischen Pfads durch ein Modell der Umgebung von einem aktuellen Ort zu einem angestrebten Zielort;
das Bereitstellen eines Profils für die autonome Einheit;
das Bestimmen eines bevorzugten Schrittes in Richtung des angestrebten Zielorts auf der Grundlage des Profils und des provisorischen Pfads;
das Bestimmen eines persönlichen Raums um die autonome Einheit;
das Bestimmen, ob der bevorzugte Schritt durchführbar ist, indem geprüft wird, ob Behinderungen den persönlichen Raum stören."
5. Die Simulation der Bewegung einer Fußgängermenge impliziert die Anwendung einer solchen Simulation eines einzelnen Schrittes eines Individuums auf eine Vielzahl von Individuen und die Wiederholung dieses Prozesses für eine Vielzahl von Schritten. Die Anmeldung enthält zahlreiche Parameter, die zur Präzisierung des Modells der Bewegung eines Fußgängers herangezogen werden können.
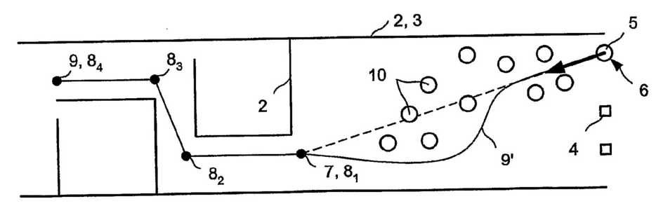
6. Abbildung 2 der Anmeldung zeigt als einfaches Beispiel die mögliche Bewegung eines Fußgängers (5) von einem Ausgangsort (6) zu einem endgültigen Zielort (9), wobei er Wände (2) und andere feste Hindernisse (4) umgeht und anderen Fußgängern (10) ausweicht.

7. Die Simulation umfasst Aspekte, die nicht nur auf physischen Begrenzungen (wie den Wänden einer "Umgebung" oder eines Bauwerks) beruhen, sondern auch auf Überlegungen zum menschlichen Verhalten wie dem "persönlichen Raum", in dem keine Behinderungen toleriert werden.
III. Prüfungsverfahren/angefochtene Entscheidung
8. Während des Prüfungsverfahrens wurden die beanspruchten Verfahren unter anderem durch die Präzisierung beschränkt, dass sie "computerimplementiert" seien, sowie dadurch, dass die dem "bevorzugten Schritt" der autonomen Einheit zugrunde liegenden Parameter weiter eingeschränkt wurden.
9. In ihrer Entscheidung, die Anmeldung zurückzuweisen, vertrat die Prüfungsabteilung die Auffassung, dass nur die Verwendung eines Computers zum technischen Charakter des beanspruchten Verfahrens beitrage. Daher formulierte sie die zu lösende technische Aufgabe als technische Implementierung eines Verfahrens zum Simulieren der Bewegung einer autonomen Einheit durch eine Umgebung, das die im betreffenden Anspruch definierten Schritte umfasst. Die Lösung dieser Aufgabe, nämlich die Verwendung eines Computers, sei nicht erfinderisch.
IV. Beschwerdeverfahren
10. In seiner Beschwerde gegen die Zurückweisung brachte der Anmelder insbesondere vor, dass die Verfahrensschritte der beanspruchten Erfindung technische Merkmale oder physikalische Parameter seien. Selbst wenn sie als nichttechnisch erachtet würden, trügen sie dennoch zum technischen Charakter der Erfindung bei, weil sie durch ihre Interaktion mit dem Computer eine technische Wirkung erzeugten. Er verwies auf T 641/00 (COMVIK, ABl. EPA 2003, 352) sowie auf T 1227/05 (ABl. EPA 2007, 574), die Simulationen betrifft.
11. Die vorlegende Kammer vertrat in ihrer zusammen mit der Ladung zur mündlichen Verhandlung ergangenen Mitteilung die Auffassung, dass die Schritte des beanspruchten Verfahrens als solche nichttechnisch seien und nur insofern zum technischen Charakter des Anspruchs beitragen könnten, als sie mit dessen technischen Merkmalen so zusammenwirkten, dass eine technische Wirkung erzeugt werde. Eine solche technische Wirkung könne vorliegen, wenn die Konzeption der Simulationsschritte durch technische Überlegungen motiviert sei, die die interne Funktionsweise des Computers beträfen, auf dem die Simulation implementiert ist, oder wenn die technische Wirkung Teil des allgemeinen Zwecks des beanspruchten Verfahrens sei. Die vorlegende Kammer tendierte zu der Ansicht, dass die beanspruchte Simulation keinem technischen Zweck diene und somit nicht zum technischen Charakter der Erfindung beitrage.
12. Anspruch 1 des der Vorlageentscheidung zugrunde liegenden Hauptantrags lautet wie folgt (Bezugszeichen weggelassen von der Großen Beschwerdekammer):
"1. Computerimplementiertes Verfahren zur Modellierung der Bewegung einer Fußgängermenge in einer Umgebung, umfassend
das Simulieren der Bewegung einer Vielzahl von Fußgängern durch die Umgebung, wobei das Simulieren der Bewegung jedes Fußgängers Folgendes umfasst:
das Bereitstellen eines provisorischen Pfads durch ein Modell der Umgebung von einem aktuellen Ort zu einem angestrebten Zielort;
das Bereitstellen eines Profils für den Fußgänger;
das Bestimmen eines bevorzugten Schrittes hin zu einer bevorzugten Position in Richtung des angestrebten Zielorts auf der Grundlage des Profils und des provisorischen Pfads, wobei das Bestimmen des bevorzugten Schrittes das Bestimmen einer Unzufriedenheitsfunktion umfasst, die die Kosten der Vornahme eines Schrittes ausdrückt, umfassend die Summe einer Unannehmlichkeitsfunktion, die die Kosten der Abweichung von einer vorgegebenen Richtung ausdrückt, und einer Frustrationsfunktion, die die Kosten der Abweichung von einer vorgegebenen Geschwindigkeit ausdrückt;
das Definieren einer Nachbarschaft um die bevorzugte Position;
das Identifizieren von Behinderungen in der Nachbarschaft, wobei die Behinderungen andere Fußgänger und feste Hindernisse umfassen;
das Bestimmen eines persönlichen Raums um den Fußgänger;
das Bestimmen, ob der bevorzugte Schritt durchführbar ist, indem geprüft wird, ob im Verlauf des bevorzugten Schrittes Behinderungen den persönlichen Raum stören."
13. Anspruch 1 des ersten Hilfsantrags unterscheidet sich von Anspruch 1 des Hauptantrags darin, dass "Umgebung" durch "Bauwerk" ersetzt ist.
14. Der zweite Hilfsantrag unterscheidet sich vom ersten Hilfsantrag darin, dass bestimmte Einzelheiten zur Gehgeschwindigkeit des Fußgängers hinzugefügt sind.
15. Anspruch 1 des dritten Hilfsantrags unterscheidet sich von Anspruch 1 des zweiten Hilfsantrags darin, dass am Ende des Anspruchs Folgendes angefügt ist:
"und das Darstellen der simulierten Bewegung als sequenzielle Reihe von Momentaufnahmen, die die aktuelle Position jedes Fußgängers innerhalb des Modells im Zeitverlauf zeigen."
16. Der vierte Hilfsantrag unterscheidet sich von den höherrangigen Hilfsanträgen darin, dass er auf ein Verfahren zum iterativen Entwerfen eines Bauwerks gerichtet ist. Sein Anspruch 1 unterscheidet sich von Anspruch 1 des dritten Hilfsantrags darin, dass der Anfang des Anspruchs (der Wortlaut vor "das Bereitstellen eines provisorischen Pfads") ersetzt ist durch:
"1. Verfahren zum Entwerfen eines Bauwerks, umfassend:
das Bereitstellen eines Modells des Bauwerks;
das Simulieren der Bewegung einer Vielzahl von Fußgängern durch das Bauwerk unter Verwendung eines Computers, wobei der Schritt des Simulierens der Bewegung jedes Fußgängers Folgendes umfasst:"
und dass am Ende des Anspruchs der folgende Wortlaut angefügt ist:
"und das Revidieren des Modells des Bauwerks in Abhängigkeit von der Bewegung der Fußgänger."
17. Der fünfte Hilfsantrag basiert ebenfalls auf dem dritten Hilfsantrag und beansprucht Verfahren zur Modellierung der Bewegung einer Fußgängermenge. Sein Anspruch 1 unterscheidet sich von Anspruch 1 des dritten Hilfsantrags darin, dass vor "und das Darstellen der simulierten Bewegung" der folgende Wortlaut eingefügt ist:
"ist der bevorzugte Schritt nicht durchführbar, dann:
das Bestimmen einer Region, in der ein Kompromissschritt angestrebt wird, wobei das Bestimmen der Region, in der ein Kompromissschritt angestrebt wird, das Anpassen von Schrittparametern für das Bestimmen der Region in Abhängigkeit von der Erinnerung an vergangene Bedingungen umfasst; und
das Bestimmen, ob mindestens ein Kompromissschritt durchführbar ist;"
V. Verfahren vor der Großen Beschwerdekammer
18. Gemäß Artikel 9 der Verfahrensordnung der Großen Beschwerdekammer (VOGBK) wurde der Präsident des Europäischen Patentamts mit Schreiben vom 7. Mai 2019 aufgefordert, sich zu den der Großen Beschwerdekammer vorgelegten Rechtsfragen schriftlich zu äußern. Seine Äußerungen gingen mit Schreiben vom 27. August 2019 ein.
19. Mit einer im Mai 2019 veröffentlichten Mitteilung zum Verfahren G 1/19 (ABl. EPA 2019, A50) gab die Große Beschwerdekammer Dritten Gelegenheit, schriftliche Stellungnahmen gemäß Artikel 10 VOGBK einzureichen. Bis September 2019 gingen daraufhin 23 Amicus-curiae-Schriftsätze ein, die auf der Website der Großen Beschwerdekammer (epo.org/law-practice/case-law-appeals/eba_de.html) veröffentlicht wurden und auf die nachstehend anhand folgender Nummerierung Bezug genommen wird:
(1) Philips International B.V.
(2) Siemens AG
(3) Swen Kiesewetter-Köbinger
(4) FEMIPI – Europäischer Verband der Industrie-Patentanwälte
(5) CIPA – Chartered Institute of Patent Attorneys
(6) Patentanwaltskammer
(7) Bundesverband Deutscher Patentanwälte
(8) IBM United Kingdom Ltd.
(9) epi – Institut der beim Europäischen Patentamt zugelassenen Vertreter
(10) FICPI – Internationale Föderation von Patentanwälten
(11) ipo – Intellectual Property Owners Association
(12) VPP – Vereinigung von Fachleuten des Gewerblichen Rechtsschutzes
(13) MAGMA Gießereitechnologie GmbH
(14) Reinier B. Bakels
(15) IP Federation
(16) Martin Wilming
(17) Altair IP
(18) Bardehle Pagenberg
(19) CNCPI – Compagnie Nationale des Conseils en Propriété Industrielle (französische Patentanwaltskammer)
(20) AIPPI – Internationale Vereinigung für den Schutz des Geistigen Eigentums
(21) Michael M. Fischer
(22) Stefan Schohe
(23) efpia – Europäische Föderation der Verbände der pharmazeutischen Industrie
20. Bis auf sehr wenige Ausnahmen lassen sich die Verfasser der Amicus-curiae-Schriftsätze einer der beiden folgenden Gruppierungen zuordnen:
i) unabhängige Mitglieder der Patentvertreterschaft (hauptsächlich Patentanwälte) und einschlägige Verbände,
ii) Großunternehmen und Industrieverbände, die eine breite Patentierbarkeit computerimplementierter Simulationen und anderer computerimplementierter Erfindungen befürworten.
21. Mit Schreiben vom 1. September 2019 nahm der Beschwerdeführer Stellung zu den Vorlagefragen und beantragte die Anberaumung einer mündlichen Verhandlung. Diese wurde für den 15. Juli 2020 anberaumt. In Vorbereitung darauf erließ die Große Beschwerdekammer am 22. Juni 2020 eine Mitteilung. Darin fasste sie kurz und in vereinfachter Form die Ansätze zusammen, anhand deren in den Amicus-curiae-Schriftsätzen die Patentierbarkeit computerimplementierter Simulationen befürwortet worden war, und wies auf mehrere Punkte hin, die sie als relevant für die mündliche Verhandlung erachtete.
22. In der mündlichen Verhandlung vor der Großen Beschwerdekammer ergriffen Vertreter des Beschwerdeführers und des EPA-Präsidenten das Wort.
B. Rechtlicher Hintergrund
23. Die Vorlagefragen und ihre Zulässigkeit lassen sich nur im Kontext des relevanten rechtlichen Hintergrunds (einschließlich der einschlägigen Rechtsprechung) verstehen bzw. beurteilen. Daher gibt die Große Beschwerdekammer im Folgenden einen kurzen Überblick der anzuwendenden EPÜ-Vorschriften und ihrer Auslegung durch die Beschwerdekammern und die Große Beschwerdekammer.
I. Vorschriften des EPÜ
24. In Artikel 52 (1) EPÜ heißt es: "Europäische Patente werden für Erfindungen auf allen Gebieten der Technik erteilt, sofern sie neu sind, auf einer erfinderischen Tätigkeit beruhen und gewerblich anwendbar sind." Die Formulierung "auf allen Gebieten der Technik" wurde im Zuge der EPÜ-Revision (EPÜ 2000) aufgenommen, um Artikel 52 EPÜ mit Artikel 27 des Übereinkommens über handelsbezogene Aspekte der Rechte des geistigen Eigentums (TRIPS) in Einklang zu bringen. Die Änderung stellt zum einen klar, dass der Patentschutz Schöpfungen auf dem Gebiet der Technik vorbehalten ist (Sonderausgabe Nr. 4 zum ABl. EPA 2007, 56). Der beanspruchte Gegenstand muss "technischen Charakter" aufweisen oder – etwas präziser umschrieben – eine "Lehre zum technischen Handeln" zum Gegenstand haben, d. h. eine an den Fachmann gerichtete Anweisung, eine bestimmte technische Aufgabe mit bestimmten technischen Mitteln zu lösen (Basisvorschlag für die Revision des EPÜ, MR/2/00, S. 43, Nr. 4). Zum anderen ist die Formulierung "auf allen Gebieten der Technik" Ausdruck der hinter dem TRIPS-Abkommen stehenden Absicht, Erfindungen, gleich auf welchem technischen Gebiet, von der Patentierung nicht auszuschließen, also insbesondere auch nicht Computerprogramme, die in Artikel 52 (2) c) EPÜ erwähnt und ausgeschlossen sind (T 1173/97, ABl. EPA 1999, 609, Nr. 2.3 der Entscheidungsgründe). Der Basisvorschlag besagt ausdrücklich, dass die vorstehenden Erwägungen zum technischen Charakter der Erfindung ebenso für die Beurteilung von Computerprogrammen gelten (S. 43, Nr. 4).
25. Artikel 52 (2) EPÜ enthält eine nicht abschließende Auflistung von "Nichterfindungen", d. h. von Gegenständen, die nicht als Erfindungen im Sinne des Artikels 52 (1) EPÜ angesehen werden (T 154/04, ABl. EPA 2008, 46, Nrn. 6 und 8 der Entscheidungsgründe). Die Aufzählung umfasst "Pläne, Regeln und Verfahren für gedankliche Tätigkeiten, für Spiele oder für geschäftliche Tätigkeiten sowie Programme für Datenverarbeitungsanlagen" (Artikel 52 (2) c) EPÜ). Auch wenn die in Artikel 52 (2) c) EPÜ aufgezählten "Nichterfindungen" eine breite Palette von der Patentierbarkeit ausgeschlossener Gegenstände umfassen, so haben diese eines gemeinsam: sie beziehen sich auf Tätigkeiten, die nicht auf ein unmittelbares technisches Ergebnis abzielen, sondern vielmehr abstrakter und geistiger Natur sind (T 22/85, ABl. EPA 1990, 12, Nr. 2 der Entscheidungsgründe). Artikel 52 (3) EPÜ beschränkt den Patentierbarkeitsausschluss der in Artikel 52 (2) EPÜ genannten Gegenstände und Tätigkeiten auf "diese Gegenstände oder Tätigkeiten als solche". Diese Beschränkung soll einer weiten Auslegung der in Artikel 52 (2) EPÜ aufgezählten "Nichterfindungen" vorbeugen (G 2/12, ABl. EPA 2016, A27, Nr. VII.2 (3) b) vorletzter Absatz der Entscheidungsgründe mit Verweis auf T 154/04, Nr. 6 der Entscheidungsgründe).
26. Artikel 56 EPÜ, wonach eine Erfindung als auf einer erfinderischen Tätigkeit beruhend gilt, "wenn sie sich für den Fachmann nicht in naheliegender Weise aus dem Stand der Technik ergibt", enthält eine negative Definition der in Artikel 52 (1) EPÜ geforderten "erfinderischen Tätigkeit". Für eine objektive und nachvollziehbare Beurteilung der erfinderischen Tätigkeit wurde der sogenannte "Aufgabe-Lösungs-Ansatz" entwickelt, der sich in die folgenden Phasen gliedert:
i) Ermittlung des "nächstliegenden Stands der Technik",
ii) Beurteilung der technischen Ergebnisse (oder Wirkungen), die mit der beanspruchten Erfindung gegenüber dem ermittelten "nächstliegenden Stand der Technik" erzielt werden,
iii) Bestimmung der technischen Aufgabe, deren erfindungsgemäße Lösung diese Ergebnisse erzielen soll,
iv) Prüfung der Frage, ob die beanspruchte Lösung ausgehend vom nächstliegenden Stand der Technik und der objektiven technischen Aufgabe für den Fachmann naheliegend gewesen wäre (siehe z. B. Rechtsprechung der Beschwerdekammern, 9. Auflage, 2019, I.D.2).
27. Die dieser Vorlage zugrunde liegende Anmeldung wurde 2003 eingereicht, d. h. vor Inkrafttreten des EPÜ 2000. Die Akte zur Revision des EPÜ vom 29. November 2000 ("Revisionsakte", Sonderausgabe Nr. 4 zum ABl. EPA 2001, 3) sieht in ihrem mit "Übergangsbestimmungen" überschriebenen Artikel 7 vor, dass die revidierte Fassung des EPÜ auf alle nach ihrem Inkrafttreten, also nach dem 13. Dezember 2007 eingereichten europäischen Patentanmeldungen Anwendung findet, nicht aber auf Patentanmeldungen, die in diesem Zeitpunkt anhängig sind, "soweit der Verwaltungsrat der Europäischen Patentorganisation nichts anderes bestimmt". Der Verwaltungsrat erließ am 28. Juni 2001 gemäß Artikel 7 (2) der Revisionsakte einen Beschluss über die Übergangsbestimmungen nach Artikel 7 der Revisionsakte ("Übergangsbestimmungen", Sonderausgabe Nr. 4 zum ABl. EPA 2001, 139). Artikel 1 Nummer 1 dieser Übergangsbestimmungen enthält eine Aufzählung revidierter EPÜ-Artikel, die "auf die bei ihrem Inkrafttreten anhängigen europäischen Patentanmeldungen und bereits erteilten europäischen Patente anzuwenden" sind. Diese Aufzählung umfasst auch Artikel 52 EPÜ, womit klar ist, dass der revidierte Artikel 52 (1), (2) und (3) EPÜ auf die Streitanmeldung anwendbar ist. Die in den Übergangsbestimmungen nicht ausdrücklich erwähnten EPÜ-Artikel wandte die vorlegende Kammer offenbar in der Fassung des EPÜ 2000 an. Die Große Beschwerdekammer sieht keinen Grund diesbezüglich von der Vorlageentscheidung abzuweichen und kommt zu dem Schluss, dass für alle Aspekte der gegenwärtigen Vorlage die revidierten oder angepassten Artikel des EPÜ anzuwenden sind.
II. Ständige Rechtsprechung zu computerimplementierten Erfindungen
a) Erfordernisse des Artikels 52 EPÜ
28. Ein Verfahren, das technische Mittel umfasst, ist eine Erfindung im Sinne des Artikels 52 (1) EPÜ. Diese Beurteilung erfolgt ohne Würdigung des Stands der Technik (T 258/03, ABl. EPA 2004, 575, Leitsatz I und Nrn. 4.1 bis 4.7 der Entscheidungsgründe; T 388/04, ABl. EPA 2007, 16, Leitsatz I; T 1082/13, Nr. 1.1 der Entscheidungsgründe). Dieser Ansatz wird mitunter als "Any-technical-means"- oder als "Any-hardware"-Ansatz bezeichnet (vgl. G 3/08, ABl. EPA 2011, 10, Nr. 10.6 der Entscheidungsgründe).
29. Nach der ständigen Rechtsprechung überwindet ein auf eine computerimplementierte Erfindung gerichteter Anspruch das Patentierungsverbot nach Artikel 52 EPÜ allein schon dadurch, dass er auf die Verwendung eines Computers, eines computerlesbaren Speichermediums oder eines anderen technischen Mittels Bezug nimmt (T 697/17, Nr. 3.4 der Entscheidungsgründe). Ein technisches Merkmal kann stark abstrahiert oder funktional beschrieben sein, und implizit kann es offenkundig sein, dass ein bestimmtes beanspruchtes Verfahren computerimplementiert und somit technisch ist (T 697/17, Nrn. 3.3 und 3.5 der Entscheidungsgründe). Doch reicht die bloße Möglichkeit der Verwendung eines nicht angeführten Computers zur Ausführung eines beanspruchten Verfahrens nicht aus, um für die Zwecke des Artikels 52 EPÜ die Benutzung eines technischen Mittels zu bejahen (T 388/04, Nr. 3 der Entscheidungsgründe).
b) COMVIK-Ansatz zur Patentierbarkeit computerimplementierter Erfindungen
30. Die Entscheidung T 154/04 fasste die Rechtsprechung der Beschwerdekammern zur Anwendung der Artikel 52, 54 und 56 EPÜ im Zusammenhang mit Gegenständen und Tätigkeiten, die nach Artikel 52 (2) EPÜ von der Patentierbarkeit ausgeschlossen sind, in den folgenden Grundsätzen zusammen (T 154/04, Nr. 5 der Entscheidungsgründe; siehe auch Amicus-curiae-Schriftsatz (1)):
A) Artikel 52 (1) EPÜ nennt vier Erfordernisse, die eine patentfähige Erfindung erfüllen muss: Es muss eine Erfindung vorliegen, und wenn eine Erfindung vorliegt, muss sie die Erfordernisse der Neuheit, der erfinderischen Tätigkeit und der gewerblichen Anwendbarkeit erfüllen.
B) Eine implizite Bedingung für eine "Erfindung" im Sinne von Artikel 52 (1) EPÜ ist ihr technischer Charakter (Erfordernis der "Technizität").
C) Artikel 52 (2) EPÜ steht der Patentfähigkeit von Gegenständen oder Tätigkeiten mit technischem Charakter auch dann nicht entgegen, wenn sie sich auf in dieser Vorschrift angegebene Sachverhalte beziehen, da diese nur "als solche" ausgeschlossen sind (Artikel 52 (3) EPÜ).
D) Die vier Erfordernisse – Vorliegen einer Erfindung, Neuheit, erfinderische Tätigkeit und gewerbliche Anwendbarkeit – sind im Wesentlichen eigenständige und voneinander unabhängige Patentfähigkeitskriterien, die zu konkurrierenden Beanstandungen Anlass geben können. So ist insbesondere Neuheit nicht etwa Voraussetzung für eine Erfindung im Sinne von Artikel 52 (1) EPÜ, sondern ein eigenständiges Erfordernis der Patentfähigkeit.
E) Bei der Prüfung auf Patentfähigkeit einer Erfindung in Bezug auf einen Anspruch sind die technischen Merkmale der Erfindung, d. h. die Merkmale, die zum technischen Charakter der Erfindung beitragen, durch Auslegung des Anspruchs zu bestimmen.
F) Es ist zulässig, dass ein Anspruch eine Mischung aus technischen und "nichttechnischen" Merkmalen aufweist, wobei die nichttechnischen Merkmale sogar den bestimmenden Teil des beanspruchten Gegenstands bilden können. Neuheit und erfinderische Tätigkeit können jedoch nur auf technische Merkmale gestützt werden, die somit im Anspruch deutlich definiert sein müssen. Nichttechnische Merkmale, die nicht mit dem technischen Gegenstand des Anspruchs zur Lösung einer technischen Aufgabe zusammenwirken, d. h. nichttechnische Merkmale "als solche", leisten keinen technischen Beitrag zum Stand der Technik und werden daher bei der Beurteilung von Neuheit und erfinderischer Tätigkeit nicht berücksichtigt.
G) Für die Zwecke des Aufgabe-Lösungs-Ansatzes muss es sich bei der Aufgabe um eine technische Aufgabe handeln, die einem Fachmann des betreffenden technischen Gebiets am relevanten Prioritätstag zur Lösung angetragen werden könnte. Die technische Aufgabe kann unter Verweis auf eine Zielsetzung auf einem nichttechnischen Gebiet formuliert werden, die folglich nicht Teil des technischen Beitrags ist, den die Erfindung zum Stand der Technik leistet. Dies kann insbesondere durch die Definition einer zu erfüllenden Bedingung erreicht werden (auch wenn sich die Zielsetzung erst a posteriori in Kenntnis der Erfindung erschließt).
31. Die Grundsätze F und G gehen auf die Entscheidung T 641/00 (COMVIK) zurück, deren Leitsätze lauten:
1. Bei einer Erfindung, die aus einer Mischung technischer und nichttechnischer Merkmale besteht und als Ganzes technischen Charakter aufweist, sind in Bezug auf die Beurteilung des Erfordernisses der erfinderischen Tätigkeit alle Merkmale zu berücksichtigen, die zu diesem technischen Charakter beitragen, wohingegen Merkmale, die keinen solchen Beitrag leisten, das Vorliegen erfinderischer Tätigkeit nicht stützen können.
2. Die zu lösende technische Aufgabe ist zwar nicht so zu formulieren, dass sie Lösungsansätze enthält oder die Lösung teilweise vorwegnimmt, doch scheidet ein Merkmal nur deshalb, weil es im Anspruch vorkommt, nicht automatisch für die Formulierung der Aufgabe aus. Insbesondere wenn der Anspruch auf eine Zielsetzung auf einem nichttechnischen Gebiet verweist, darf diese Zielsetzung bei der Formulierung der Aufgabe als Teil der Rahmenbedingungen für die zu lösende technische Aufgabe aufgegriffen werden, insbesondere als eine zwingend zu erfüllende Vorgabe.
Diese in den Leitsätzen formulierten Grundsätze, wie nichttechnische Merkmale bei der Beurteilung der erfinderischen Tätigkeit von computerimplementierten Erfindungen zu behandeln sind, werden im Folgenden als "COMVIK-Ansatz" bezeichnet.
32. Der Begriff "nichttechnische Merkmale" bezieht sich in diesem Zusammenhang auf Merkmale, die – für sich genommen – nach Artikel 52 (2) EPÜ als "Nichterfindungen" gelten würden. Ob diese Merkmale einen Beitrag zum technischen Charakter der Erfindung leisten, muss im Kontext der Erfindung als Ganzes beurteilt werden.
33. Genauso zu beurteilen sind auch Merkmale, die per se als technisch gelten können: sie tragen nicht zwangsläufig zur technischen Lösung einer technischen Aufgabe bei. Eine Erfindung kann also i) technische Merkmale mit Beitrag, ii) technische Merkmale ohne Beitrag, iii) nichttechnische Merkmale mit Beitrag und iv) nichttechnische Merkmale ohne Beitrag zur technischen Lösung einer technischen Aufgabe und somit potenziell zum Vorliegen oder Nichtvorliegen einer erfinderischen Tätigkeit haben. Während die Fälle i) und iv) offensichtlich sind, sind die unter iii) genannten Merkmale in der oben angeführten Rechtsprechung beschrieben (Grundsatz F: nichttechnische Merkmale, die mit dem technischen Gegenstand des Anspruchs zur Lösung einer technischen Aufgabe zusammenwirken). Der Fall ii) tritt auf, wenn Merkmale, die per se als technisch gelten können, nicht zur erfinderischen Tätigkeit beitragen können, weil sie im Kontext der beanspruchten Erfindung keine technische Funktion haben – siehe z. B. T 619/02 (ABl. EPA 2007, 63, Nrn. 2.2 und 2.6.2 der Entscheidungsgründe), die Parfüme betraf. Selbst vor Entwicklung des COMVIK-Ansatzes konnten Änderungen ohne technische Funktion (auch wenn sie per se als technisch gelten konnten) als irrelevant für die Beurteilung der erfinderischen Tätigkeit erachtet werden (T 72/95, Nr. 5.4 der Entscheidungsgründe).
34. Der COMVIK-Ansatz wurde entwickelt, um den Aufgabe-Lösungs-Ansatz auf computerimplementierte Erfindungen anwenden zu können, die nichttechnische Merkmale umfassen (siehe obigen Grundsatz F). Wie nachfolgende Entscheidungen bestätigt haben, steht er nicht im Widerspruch zum Aufgabe-Lösungs-Ansatz, sondern ist eine spezielle Anwendung desselben auf Erfindungen, die sowohl technische als auch nichttechnische Merkmale umfassen (T 1503/12, Nr. 3.3 der Entscheidungsgründe).
c) Stellungnahme G 3/08
35. In der Sache G 3/08 war die Große Beschwerdekammer von der Präsidentin des EPA mit bestimmten Rechtsfragen zur Patentierbarkeit computerimplementierter Erfindungen befasst worden. Da die Erfordernisse des Artikels 112 (1) b) EPÜ nicht erfüllt waren, war die Vorlage unzulässig (Stellungnahme G 3/08 vom 12. Mai 2010, ABl. EPA 2011, 10).
36. Dennoch äußerte sich die Große Beschwerdekammer in ihrer Stellungnahme zum damaligen Stand der Rechtsprechung. Nach der Feststellung, dass sie nicht zu beurteilen habe, ob das in T 154/04 beschriebene System korrekt sei, erklärte sie bezüglich des COMVIK-Ansatzes, "dass die Kammern generell gut damit zurechtkommen", und befand, dass die in T 154/04 zusammengefasste Rechtsprechung "ein praktikables System dafür entwickelt [hat], patentwürdige Innovationen abzugrenzen" (G 3/08, Nrn. 10.13.1 und 10.13.2 der Begründung). Die Große Beschwerdekammer machte in G 3/08 einen Unterschied zwischen rein kognitiven Tätigkeiten und technischen Tätigkeiten, stellte aber klar, dass auch gedankliche Tätigkeiten mit technischen Überlegungen einhergehen können (z. B. beim Fahrradbau oder beim Programmieren eines Computers; siehe Nrn. 13.2 und 13.3 der Begründung). In Bezug auf die Relevanz nichttechnischer Merkmale im Kontext des COMVIK-Ansatzes heißt es in der Stellungnahme G 3/08, dass die Auflistung der "Nichterfindungen" in Artikel 52 (2) EPÜ bei der Beurteilung der erfinderischen Tätigkeit des beanspruchten Gegenstands eine sehr wichtige Rolle spielen kann (Nr. 10.13.1 der Begründung).
d) Zwei-Hürden-Ansatz
37. Damit eine Erfindung patentierbar ist, muss sie den Schutzfähigkeitstest nach Artikel 52 EPÜ bestehen (d. h. sie darf nicht unter eine der dort genannten "Nichterfindungen" fallen) und die weiteren in diesem Artikel genannten Kriterien (Neuheit, erfinderische Tätigkeit usw.) erfüllen. Der zweifache Test für computerimplementierte Erfindungen, nämlich auf Schutzfähigkeit und auf erfinderische Tätigkeit (anhand der Kriterien des COMVIK-Ansatzes), wird häufig als der "Zwei-Hürden-Ansatz" bezeichnet (siehe z. B. W. Chandler "Patentierbarkeit computerimplementierter Erfindungen (CII): Sachlage und Entwicklungen" in Zusatzpublikation Nr. 5 zum ABl. EPA 2015, 73).
38. Möglicherweise hat sich die relative Höhe dieser beiden Hürden insofern verschoben, als die Hürde der Schutzfähigkeit nach Artikel 52 EPÜ leichter überwindbar (siehe oben B.II.a)) und die der erfinderischen Tätigkeit nach Artikel 56 EPÜ schwerer überwindbar (siehe oben B.II.b)) geworden ist. Infolge dieser Verschiebung könnte man sagen, dass es mittlerweile de facto einen zusätzlichen Zwischenschritt gibt, in dem die "Schutzfähigkeit des zur erfinderischen Tätigkeit beitragenden Merkmals" beurteilt wird.
39. Tatsächlich umfasst der Zwei-Hürden-Ansatz für computerimplementierte Erfindungen also drei Schritte. Die Prüfung, ob ein Merkmal zum technischen Charakter der Erfindung beiträgt, ist ein Zwischenschritt zwischen i) der Beurteilung, ob die Erfindung nach Artikel 52 EPÜ schutzfähig ist, und ii) der Beurteilung, ob sie gegenüber dem nächstliegenden Stand der Technik erfinderisch ist. Dieser zusätzliche Zwischenschritt dient dazu, diejenigen Merkmale herauszufiltern, die in Anbetracht des Stands der Technik zur technischen Lösung einer technischen Aufgabe beitragen. Nur diese Unterscheidungsmerkmale können einen Beitrag zur erfinderischen Tätigkeit leisten.
e) Rechtsprechung zur Patentierbarkeit von Simulationen
40. Die Sache T 1227/05 betraf eine ressourcenschonende numerische Simulation eines elektronischen Schaltkreises, der 1/f-Rauscheinflüssen unterworfen war (siehe auch die Analyse nachstehend unter E.IV). Die relevanten Ansprüche umfassten die Berechnung eines Ausgangsvektors des Schaltkreises auf der Grundlage eines Modells, eines Eingangsvektors und eines Rauschvektors. Ausgehend von T 641/00 (COMVIK) war die Kammer zu der Überzeugung gelangt, dass die Simulation einen hinreichend bestimmten technischen Zweck eines computergestützten Verfahrens darstellte, sofern sichergestellt war, dass das Verfahren auf den technischen Zweck funktional beschränkt war (Nr. 3.1 der Entscheidungsgründe). Das Verhalten der Komponenten des elektronischen Schaltkreises war durch Differenzialgleichungen beschrieben, die eine hinreichend bestimmte Klasse von technischen Gegenständen darstellten, deren Simulation ein funktionales technisches Merkmal sein könnte (Nr. 3.1.1 der Entscheidungsgründe). Der Simulation wurde eine technische Wirkung zugesprochen, obwohl die beanspruchte Erfindung nicht das materielle Endprodukt umfasste (Nr. 3.4.2 der Entscheidungsgründe).
41. Die Entscheidung T 625/11 folgte der Argumentation in T 1227/05, nicht jedoch ohne vorher detailliert auf mögliche Gegenargumente einzugehen. Gegenstand der Entscheidung war ein computerimplementiertes Verfahren zur Bestimmung eines Grenzwerts für einen Betriebsparameter eines Kernreaktors auf der Grundlage einer Simulation des Reaktors. Es wurde entschieden, dass die Berechnung eines Betriebsparameters eines Kernreaktors auf der Grundlage einer Simulation zum technischen Charakter der Erfindung beitrug, obwohl die Verwendung des Grenzwerts für den Betrieb des Kernreaktors nicht beansprucht worden war (Vorlageentscheidung, Nr. 37 der Entscheidungsgründe; T 625/11, Nr. 8.4 der Entscheidungsgründe).
42. Die Amicus-curiae-Schriftsätze, die die Patentierbarkeit von numerischen Simulationen als solchen befürworteten, beriefen sich hauptsächlich auf diese beiden vorgenannten Entscheidungen. Die Verfasser brachten vor, die geringe Zahl von Entscheidungen zur Patentierbarkeit von Simulationen könnte damit zusammenhängen, dass die Anmelder die entscheidende Frage, nämlich die oben beschriebene Zwischenhürde, oftmals umgingen, indem sie Schritte beanspruchten, die als Ergebnis der beanspruchten Simulation eindeutig eine technische Wirkung zeigten. Beispielsweise wurde in der Entscheidung T 1842/10 festgestellt, dass die Modellierung oder Simulierung von Verfahren, die lediglich darauf abzielt, Kenntnisse über die Funktionsweise eines realen technischen Systems zu erlangen, keinem technischen Zweck dient. Allerdings war diese Schlussfolgerung nicht entscheidend, denn die Ansprüche des zu diesem Zeitpunkt anhängigen, in der mündlichen Verhandlung eingereichten Hauptantrags enthielten Merkmale, die eindeutig technischer Natur waren (Nr. 5.3 der Entscheidungsgründe). Insbesondere umfasste der fragliche Verfahrensanspruch einen Schritt, bei dem eine "Beeinflussungseinrichtung" von einem Computer derart angesteuert wurde, dass ein reales Stahlvolumen entsprechend beeinflusst wurde (EP 1 711 868 B2, Anspruch 1, Schritt l; siehe auch die Vorlageentscheidung, Nr. 40 der Entscheidungsgründe). Einen ähnlichen Ansatz verfolgte die Anmelderin/Beschwerdeführerin in T 625/11: die Ansprüche eines Hilfsantrags umfassten einen Schritt, der die physische Steuerung des realen Kernreaktors einschloss, der der Simulation zugrunde lag (T 625/11, Nr. XII des Sachverhalts und der Anträge).
C. Auslegung der Vorlagefragen
43. Der Umfang der Vorlagefragen, so wie sie angesichts des relevanten rechtlichen Hintergrunds zu verstehen sind, hängt davon ab, wie die Fragen und insbesondere bestimmte darin verwendete Begriffe ausgelegt werden. Letzteres ist sowohl für die Beurteilung relevant, ob alle Voraussetzungen für die Zulässigkeit der Fragen erfüllt sind, als auch für die Beantwortung der Vorlagefragen selbst.
I. "Computerimplementierte Simulation" und "Computerimplementiertes Verfahren zur Modellierung"
44. Die Vorlagefragen betreffen "computerimplementierte Simulationen", während sich die Ansprüche aller der Vorlageentscheidung zugrunde liegenden Anträge – mit Ausnahme des vierten Hilfsantrags – auf "computerimplementierte Verfahren zur Modellierung" beziehen. Alle Ansprüche, die während des Prüfungsverfahrens eingereicht wurden und der Zurückweisungsentscheidung der Prüfungsabteilung zugrunde liegen, betreffen ausschließlich Simulationen. In den mit der Beschwerdebegründung eingereichten Ansprüchen wurde unterschieden zwischen Verfahren zur "Modellierung der Bewegung einer Fußgängermenge" und solchen zum "Simulieren der Bewegung einer Vielzahl von Fußgängern". Abgesehen von Verweisen auf die Anmeldung in der ursprünglich eingereichten Fassung, der zufolge die Erfindung "ein Verfahren zur Simulation der Bewegung einer autonomen Einheit durch eine Umgebung, insbesondere, aber nicht ausschließlich zur Verwendung in einem Verfahren zur Modellierung der Bewegung einer Fußgängermenge" betraf (Seite 1, Zeilen 4 bis 6), gab der Beschwerdeführer für seinen Wechsel von "Simulation" zu "Modellierung" keine besonderen Gründe an. "Simulieren" wird also für die Simulation der Bewegung eines einzelnen oder mehrerer einzelner Fußgänger verwendet und "Modellierung" für die Simulation der Bewegung einer Ansammlung (oder "Menge") von Fußgängern (siehe z. B. Anspruch 1 des der Vorlageentscheidung zugrunde liegenden Hauptantrags unter A.IV). Es ist davon auszugehen, dass "Modellierung" und "Simulieren" in den Ansprüchen des Beschwerdeführers austauschbar sind.
45. Dementsprechend verwendet die vorlegende Kammer in den Vorlagefragen ausschließlich das Wort "Simulation". "Modell" oder "Modellierung" verwendet sie in der Vorlageentscheidung, außer wenn sie den Anmelder zitiert, nur im Zusammenhang der Modellierung des zu simulierenden Systems (Modell der Fußgänger oder der Umgebung). Nach der Definition in Nummer 21 der Entscheidungsgründe der Vorlageentscheidung ist eine Simulation "die annähernde Imitation des Betriebs eines Systems oder Verfahrens auf der Grundlage eines Modells dieses Systems oder Verfahrens" (siehe unten E.II). Die Erstellung eines Modells ist also eine Voraussetzung für jedwede Simulation.
II. "Technisches System oder Verfahren" und "dem simulierten System oder Verfahren zugrunde liegende technische Prinzipien"
46. Die Vorlagefragen betreffen die Patentierbarkeit von computerimplementierten Simulationen eines "technischen Systems oder Verfahrens", also eines Systems oder Verfahrens, das im Sinne des Artikels 52 EPÜ als "technisch" gelten kann.
47. Ein "technisches System oder Verfahren" impliziert, dass zu einem auf menschlicher Kreativität basierenden Zweck ein Gegenstand erschaffen oder ein Verfahren ausgeführt wird (siehe unten E.I.a)). Das Wetter – als Gegenbeispiel – ist kein technisches System, das der Fachmann verbessern kann, wohl aber ein physikalisches System, das zur Illustration, wie Wetter funktioniert, modelliert werden kann (T 1798/13, Orientierungssatz). Bei der Modellierung oder Simulation eines Systems oder Verfahrens gelten jedoch dieselben Naturgesetze und Grundgesetze der Mathematik, egal ob es sich um ein natürliches oder ein technisches System oder Verfahren handelt. In beiden Fällen werden die wissenschaftlichen (z. B. mathematischen oder physikalischen) Grundprinzipien innerhalb derjenigen Grenzen angewendet, die durch das zu untersuchende (natürliche oder technische) System oder Verfahren gesetzt werden.
48. Die der Vorlage zugrunde liegende Anmeldung betrifft die Simulation eines Verfahrens, das nicht nur mittels physikalischer, messbarer technischer Parameter modelliert wird, sondern auch mittels menschlicher Faktoren wie einer "Unzufriedenheitsfunktion", einer "Unannehmlichkeitsfunktion" und einer "Frustrationsfunktion". Die vorlegende Kammer hat jedoch erläutert, warum sie den simulierten Verfahren dennoch technischen Charakter zuerkannt hat (siehe Nr. 10 der Entscheidungsgründe, in der sie der Argumentation des Beschwerdeführers gefolgt ist, dass die Bewegung von Fußgängern sich ebenso beschreiben lasse wie die Bewegung von Elektronen). Die Große Beschwerdekammer beabsichtigt nicht, diesbezüglich von der Auslegung der vorlegenden Kammer abzuweichen. Die Begriffe "technisches System oder Verfahren" und "dem simulierten System oder Verfahren zugrunde liegende technische Prinzipien" sollten breit ausgelegt werden. In der Vorlage beziehen sie sich nicht auf die Simulation oder ihre Patentierbarkeit, sondern auf das System, das Verfahren und die durch die Simulation abgebildeten Prinzipien.
III. "Technische Aufgabe" und "über die Implementierung der Simulation hinausgehende technische Wirkung"
49. Diese Begriffe beziehen sich, anders als die im vorstehenden Absatz erörterten, auf simulationsbezogene Erfindungen und ihre Patentierbarkeit. Ob eine Simulation durch Erzeugung einer technischen Wirkung, die über die Implementierung der Simulation auf einem Computer hinausgeht, eine technische Aufgabe lösen kann, lässt sich nur im Kontext des COMVIK-Ansatzes verstehen. Die Erfindung muss diese Kriterien ausgehend vom nächstliegenden Stand der Technik erfüllen (oder "technischen Charakter" haben), damit sie als technische Erfindung gelten kann. Die Merkmale, die die beanspruchte Erfindung vom nächstliegenden Stand der Technik unterscheiden, müssen zu diesem technischen Charakter beitragen, damit sie nach Artikel 56 EPÜ berücksichtigt werden können. Löst die Erfindung keine technische Aufgabe, so verfügt sie über keine Unterscheidungsmerkmale, die zur erfinderischen Tätigkeit beitragen könnten.
50. Das Kriterium der "über die Implementierung der Simulation hinausgehenden technischen Wirkung" ist als "weiterer technischer Effekt" zu verstehen, der über die "normale" physikalische Wechselwirkung zwischen dem Programm und dem Computer, auf dem die Simulation ausgeführt wird, hinausgeht (T 1173/97, Nr. 13 der Entscheidungsgründe; G 3/08, Nr. 10.2.1 der Begründung).
51. Jede technische Wirkung, die über die normale elektronische Wechselwirkung innerhalb des Computers hinausgeht, auf dem die Simulation implementiert ist, kann für die erfinderische Tätigkeit in Betracht kommen. Nach der Begründung des COMVIK-Ansatzes wäre eine solche technische Wirkung typischerweise "eine technische Wirkung auf einen physikalischen Gegenstand in der realen Welt" (siehe Formulierung der Frage 3 in G 3/08) oder eine technische Wirkung, die "eine direkte Verbindung zur physischen Realität aufweisen muss" (siehe Vorlageentscheidung, Nr. 11 der Entscheidungsgründe), doch könnte es sich auch um andere Wirkungen handeln, beispielsweise technische Wirkungen innerhalb des Computersystems oder -netzwerks (die z. B. durch Anpassungen am Computersystem erreicht werden). Die "über die Implementierung der Simulation hinausgehende technische Wirkung" lässt sich daher umformulieren in eine "über die einfache oder nicht näher spezifizierte Implementierung der Simulation in einem Standardcomputersystem hinausgehende technische Wirkung", die somit im Kontext des Aufgabe-Lösungs-Ansatzes zur erfinderischen Tätigkeit beitragen kann.
IV. "Computerimplementierte Simulation als solche"
52. Der Begriff "Simulation als solche" ist an Artikel 52 (3) EPÜ angelehnt, der "Nichterfindungen" nach Artikel 52 (2) EPÜ nur insoweit ausschließt, als sie "als solche" beansprucht werden (zum Hintergrund der Vorschrift siehe z. B. T 1924/17, Nrn. 17 bis 19.4 der Entscheidungsgründe). Simulationen können aber nicht als weitere "Nichterfindung" neben den in Artikel 52 (2) EPÜ aufgelisteten angesehen werden. Denn dann wären "Simulationen als solche" automatisch von der Patentierbarkeit ausgeschlossen.
53. In der Vorlageentscheidung wird auch der Begriff "eine Simulation im engeren Sinne" verwendet, und zwar als die annähernde Imitation des Betriebs eines Systems oder Verfahrens auf der Grundlage eines Modells dieses Systems oder Verfahrens. Im Falle einer computerimplementierten Simulation existiert das Modell nur auf dem Computer, und die Simulation ermöglicht es, die Funktionsweise des modellierten Systems oder Verfahrens zu bewerten oder vorherzusagen (Nr. 21 der Entscheidungsgründe). Auf dieser Grundlage versteht die Große Beschwerdekammer unter einer computerimplementierten "Simulation als solcher" ein Simulationsverfahren mit ausschließlich numerischer Ein- und Ausgabe (unabhängig davon, ob diese numerische Ein- und Ausgabe auf physikalischen Parametern basiert), d. h. ohne Interaktion mit der externen physischen Realität. Diesbezüglich wird auch auf die in den schriftlichen Äußerungen des EPA-Präsidenten unter Fußnote 16 gegebene Definition verwiesen, die in der mündlichen Verhandlung von seinen Vertretern wiederholt wurde: "Ansprüche, die keine der Simulation vorausgehenden oder ihr folgenden Schritte umfassen". Physikalische Simulationen (z. B. Windtunnelexperimente) sind also keine Simulationen als solche ebenso wenig wie Verfahren, die die Messung physikalischer Größen (z. B. Temperaturverteilungen) umfassen, die dann in nachfolgenden Verfahrensschritten für Simulationen verwendet werden (T 438/14 – Verfahren und IR-Kamera zur Bestimmung der Kondensationsgefahr).
D. Zulässigkeit der Vorlage
I. Zulässigkeitsvoraussetzungen
54. Gemäß Artikel 112 (1) a) EPÜ "befasst die Beschwerdekammer, bei der ein Verfahren anhängig ist", "[z]ur Sicherung einer einheitlichen Rechtsanwendung oder wenn sich eine Rechtsfrage von grundsätzlicher Bedeutung stellt," "von Amts wegen oder auf Antrag eines Beteiligten die Große Beschwerdekammer, wenn sie hierzu eine Entscheidung für erforderlich hält".
55. Obwohl das Erfordernis der voneinander abweichenden Entscheidungen zweier Beschwerdekammern, das für eine Befassung durch den Präsidenten des EPA gilt (Artikel 112 (1) b) EPÜ), für Vorlagen der Kammern nicht gilt, sollten die Kammern sich doch um eine Minimierung etwaiger Abweichungen in der Rechtsprechung bemühen.
56. Die Große Beschwerdekammer muss diese Zulässigkeitsvoraussetzungen in Bezug auf jede der vorgelegten Fragen einzeln prüfen (siehe z. B. G 3/08 und G 2/19). Sie kann die Vorlagefragen umformulieren, z. B. wenn dies im Hinblick auf eine bessere Behandlung der betreffenden Rechtsfragen angemessen und hilfreich ist (G 2/19, Nr. A.II der Entscheidungsgründe; G 1/12, ABl. EPA 2014, A114, Nr. 16 der Entscheidungsgründe; G 3/19, ABl. EPA 2020, A119, Nr. III der Begründung).
II. Kriterien für die Beurteilung der Zulässigkeit der Vorlagefragen
a) Unterscheidung zwischen Rechtsfragen und Sachfragen
57. Gegen die Zulässigkeit der Vorlage wurde in einem Amicus-curiae-Schriftsatz vorgebracht, dass es sich bei der Vorlagefrage 2 eher um eine Sach- als um eine Rechtsfrage handle. Insbesondere sei diese Frage eine technische Frage, die sich auf die einem simulierten System oder Verfahren zugrunde liegenden technischen Prinzipien beziehe und nur ausgehend von den Umständen des konkreten Einzelfalls beantwortet werden könne (Amicus-curiae-Schriftsatz (13)).
58. Die "einheitliche Anwendung der Rechtsvorschriften" auf Patentanmeldungen und Patente bedeutet, dass äquivalente Sachverhalte im Hinblick auf eine konkrete Rechtsvorschrift nach denselben Kriterien und Grundsätzen beurteilt werden müssen. Um eine einheitliche Anwendung des materiellen Patentrechts zu gewährleisten, müssen in den meisten Fällen die Sachverhalte, aus denen sich eine bestimmte Rechtsfolge ergeben sollte, mit technischen Begriffen beschrieben werden. Unabhängig davon, ob das erste Erfordernis in Artikel 112 (1) a) EPÜ eine absolute Beschränkung auf Rechtsfragen impliziert, handelt es sich nach Auffassung der Großen Beschwerdekammer bei den Vorlagefragen um rechtliche Fragen, und sei es nur, weil die zugrunde liegenden Probleme mit der Auslegung des Wortes "technisch" zusammenhängen, das sich von "Technik" ableitet, also dem in Artikel 52 (1) EPÜ als Teil einer Rechtsdefinition verwendeten Begriff, die durch die nicht abschließende Liste "nichttechnischer" Gegenstände in Artikel 52 (2) EPÜ ergänzt wird.
b) Für eine Entscheidung über die Beschwerde erforderliche Antworten
59. Die Vorlagefragen gehen davon aus, dass die den beanspruchten computerimplementierten Simulationsverfahren zugrunde liegenden Systeme und Verfahren technischer Natur sind. Sollten die simulierten Systeme und Verfahren nicht als technisch angesehen werden, dann wären die Vorlagefragen nicht relevant für den vor der vorlegenden Kammer anhängigen Fall.
60. Ob die Bewegung von Fußgängermengen rein technischer Natur ist, ist fraglich, denn sie impliziert menschliches Eingreifen oder menschliche Entscheidungen, was sich in den Ansprüchen in Parametern wie "bevorzugter Schritt", "persönlicher Raum" oder "Frustrationsfunktion" widerspiegelt. Die vorlegende Kammer ist sich dieser Probleme bewusst und hat stichhaltig begründet, warum sie die simulierten Systeme und Verfahren für technisch hält. Die Große Beschwerdekammer sieht keinen Grund, von dieser Beurteilung abzuweichen. Sie geht also davon aus, dass die simulierten Systeme und Verfahren technischer Natur sind und dass die beanspruchten Simulationen von den Vorlagefragen umfasst sind.
61. Aus der Gesamtheit der von der vorlegenden Kammer aufgeworfenen Fragen lässt sich ferner schließen, dass sie das Erfordernis der erfinderischen Tätigkeit anhand des COMVIK- oder eines ähnlichen Ansatzes beurteilen wird (d. h. indem sie nach technischen Wirkungen schaut, die durch die einzelnen technischen und nichttechnischen Merkmale erzeugt werden). Würden diese Kriterien nicht angewendet und würde das Erfordernis der erfinderischen Tätigkeit anhand anderer Kriterien beurteilt, dann würde die Beurteilung keine Beantwortung der Vorlagefragen erfordern. Der COMVIK-Ansatz ist jedoch seit Langem die Hauptmethode für die Beurteilung computerimplementierter Erfindungen, und die Große Beschwerdekammer hat ihn als ein für diesen Zweck "praktikables System" eingestuft (G 3/08, siehe oben B.II.c)). Angesichts dessen verzichtet die Große Beschwerdekammer darauf, die Entscheidung der vorlegenden Kammer für den COMVIK-Ansatz zu hinterfragen. Für die Art und Weise seiner Anwendung ist eine Beantwortung der Vorlagefragen relevant. Ob sie auch für eine Entscheidung über die Beschwerde erforderlich ist, muss für jede Vorlagefrage separat beurteilt werden (siehe oben D.I).
c) Notwendigkeit der Sicherung einer einheitlichen Rechtsanwendung
62. Die vorlegende Kammer glaubt, dass ihre Auffassung zur Patentierbarkeit der beanspruchten Simulationsverfahren von der früheren Rechtsprechung abweicht (insbesondere von T 1227/05; siehe oben A.IV und die Vorlageentscheidung, Nr. 15 der Entscheidungsgründe). Die Große Beschwerdekammer geht davon aus, dass die vorlegende Kammer eine künftig divergierende Rechtsprechung zu computerimplementierten Simulationen vermeiden will (Vorlageentscheidung, Nrn. 17 bis 19 der Entscheidungsgründe). Sie erkennt diesen Harmonisierungsbedarf an. Die künftige Rechtsprechung zu computerimplementierten Simulationen könnte sich in unterschiedliche Richtungen entwickeln, wenn eine Entscheidungslinie der T 1227/05 folgt (wie sie von der vorlegenden Kammer ausgelegt wird) und die vorlegende Kammer eine andere Linie ausgehend von einer Lösung etabliert, die ihrer Ansicht nach von der in T 1227/05 vertretenen abweicht. Möglicherweise besteht der Harmonisierungsbedarf auch innerhalb einer breiteren Gruppe von computerimplementierten Erfindungen (siehe z. B. die Überlegungen der vorlegenden Kammer zum Erfordernis einer direkten Verbindung zur physischen Realität, das sowohl für Simulationen als auch für andere computerimplementierte Erfindungen relevant sein könnte).
d) Rechtsfrage von grundsätzlicher Bedeutung
63. In zahlreichen Amicus-curiae-Schriftsätzen wurde die wirtschaftliche Relevanz computerimplementierter Simulationen hervorgehoben und betont, dass die Vorlagefragen von grundsätzlicher Bedeutung für die Interessen der Anmelder und die Gestaltung ihrer künftigen Patentierungsstrategie in diesem Bereich seien. Bislang hatten die Beschwerdekammern allerdings nur in einer geringen Zahl von Fällen über die Patentierbarkeit computerimplementierter Simulationen zu entscheiden. Zweifelsohne ist schwer abschätzbar, wie häufig anstelle einer "Simulation als solcher" andere Verfahren oder Systeme beansprucht werden, die Simulationsprozesse einschließen oder an solche angepasst sind. In einer unbekannten Zahl von Fällen wird die Frage der Patentierbarkeit von "Simulationen als solchen" umgangen, indem in die beanspruchten Verfahren Verfahrensschritte aufgenommen werden, die eine direkte Verbindung zur physischen Realität implizieren (siehe oben B.II.e)). Auch für diese Fälle könnten die Vorlagefragen relevant sein. Zu betrachten ist dies vor dem Hintergrund des Erfordernisses der grundsätzlichen Bedeutung, das erfüllt ist, wenn die vorgelegte Rechtsfrage Auswirkungen über den konkreten Einzelfall hinaus hat und für eine große Zahl vergleichbarer Fälle relevant sein könnte (G 1/12, Nr. 10 der Entscheidungsgründe; G 1/13, Nr. 2.1 der Entscheidungsgründe).
64. In einigen Amicus-curiae-Schriftsätzen wurde argumentiert, dass die Beantwortung der Vorlagefragen nicht nur Auswirkungen auf die Patentierbarkeit von Simulationen haben werde, sondern auch auf die Patentierbarkeit einer breiten Palette anderer computerimplementierter Erfindungen. Ob eine Entscheidung über Simulationen auch Auswirkungen auf die Patentierbarkeit anderer computerimplementierter Erfindungen haben könnte, ist jedoch wenig relevant für die Zulässigkeit der gegenwärtigen Vorlage, da sich keine Vorhersagen darüber treffen lassen, inwieweit etwaige Feststellungen der Großen Beschwerdekammer im vorliegenden Fall die künftige Rechtsprechung zu anderen computerimplementierten Erfindungen als Simulationen beeinflussen werden.
e) Auswirkung der Antworten der Großen Beschwerdekammer auf die Vorlagefragen
65. Die Vorlagefragen lassen sich nur im Kontext der über Jahrzehnte entstandenen Rechtsprechung (COMVIK, siehe oben C.III) verstehen. Die in den Vorlagefragen angewendeten Kriterien wie "technische Aufgabe" oder "über die Implementierung der Simulation hinausgehende technische Wirkung" sind keine vom Gesetzgeber festgelegten Erfordernisse, sondern wurden allein durch die Rechtsprechung entwickelt. Sie sollten einer Weiterentwicklung im Zuge der technologischen Evolution zugänglich sein, und es sollte sogar die Möglichkeit der Herausbildung anderer Kriterien bestehen, wenn diese zu angemesseneren Rechtsauslegungen führen.
III. Zulässigkeit der Vorlagefragen
a) Frage 1
66. Frage 1 betrifft eine Rechtsfrage von grundsätzlicher Bedeutung; ihre Beantwortung ist notwendig, damit i) nach Ansicht der vorlegenden Kammer das anhängige Beschwerdeverfahren entschieden und ii) eine einheitliche Rechtsanwendung im Bereich der computerimplementierten Simulationen sichergestellt werden kann. Frage 1 wird daher zugelassen.
b) Frage 2A
67. Die Große Beschwerdekammer ist der Auffassung, dass es nie möglich sein wird, eine abschließende Liste der (positiven oder negativen, alternativen oder kumulativen) Kriterien aufzustellen, nach denen zu beurteilen ist, ob ein computerimplementiertes Verfahren eine technische Aufgabe löst, indem es eine über seine Implementierung auf einem Computer hinausgehende technische Wirkung erzeugt. Dies gilt für alle computerimplementierten Verfahren, nicht nur für Simulationen.
68. Zudem benötigt die vorlegende Kammer, wenn Frage 2B verneint wird, keine Antwort auf Frage 2A, um die bei ihr anhängige Beschwerde zu behandeln. Wie sie klargestellt hat, würde sie in diesem Fall ohne Weiteres die COMVIK-Kriterien anwenden und bei der Prüfung nach Artikel 56 EPÜ wahrscheinlich zu einem negativen Ergebnis gelangen. Wird Frage 2B bejaht, brauchen keine weiteren Kriterien aufgestellt zu werden, denn das Kriterium, wonach dem simulierten System oder Verfahren technische Prinzipien zugrunde liegen müssen, würde ausreichen (siehe unten D.III.c)). Der Großen Beschwerdekammer vorgelegte Fragen können insoweit unbeantwortet bleiben, als sie über den wirklichen Klärungsbedarf hinausgehen (G 2/19, Nr. A.II der Entscheidungsgründe).
69. Die allgemeine Frage 2A zu den "Kriterien für die Beurteilung, ob eine computerimplementierte Simulation, die als solche beansprucht wird, eine technische Aufgabe löst", wird daher nicht zugelassen.
c) Frage 2B
70. Frage 2B ist spezifischer als Frage 2A, weil sie ein Kriterium für die Beurteilung herausstellt, ob eine computerimplementierte Simulation, die als solche beansprucht wird, eine technische Aufgabe löst. Bei einer Bejahung der Frage 2B bräuchten keine weiteren Kriterien für diese Beurteilung formuliert zu werden, sobald festgestellt wurde, dass die Simulation – zumindest teilweise – auf technische Prinzipien gestützt wird, die dem simulierten System oder Verfahren zugrunde liegen. Bei einer Verneinung der Frage 2B müsste die vorlegende Kammer untersuchen, ob für die Bejahung (oder Verneinung) des technischen Charakters des beanspruchten Gegenstands andere Kriterien herangezogen werden können. Die Beantwortung der Frage 2B liefert der vorlegenden Kammer also die nötigen Anhaltspunkte dafür, ob weitere Kriterien zu berücksichtigen sind. Frage 2B wird daher zugelassen.
71. Da Frage 2B auf Frage 2A beruht und nur in Verbindung mit dieser verständlich ist, hat die Große Beschwerdekammer Frage 2B (d. h. den zulässigen Teil der Frage 2) wie folgt umformuliert:
"Ist es bei der Beurteilung, ob eine computerimplementierte Simulation, die als solche beansprucht wird, eine technische Aufgabe löst, eine hinreichende Bedingung, dass die Simulation zumindest teilweise auf technische Prinzipien gestützt wird, die dem simulierten System oder Verfahren zugrunde liegen?"
d) Frage 3
72. Obwohl die Vorlagefragen und die zugrunde liegende Patentanmeldung hauptsächlich die Patentierbarkeit computerimplementierter Simulationen betreffen, ist Anspruch 1 des vierten Hilfsantrags auf ein Verfahren zum Entwurf eines Bauwerks gerichtet. Das beanspruchte Verfahren umfasst die Bereitstellung eines Modells eines bestimmten Bauwerks, das Simulieren der Bewegung der Fußgänger in diesem Bauwerk und das Revidieren des Modells des Bauwerks in Abhängigkeit von der Bewegung der Fußgänger (siehe oben A.IV). Dieser iterative Prozess ist einerseits ein Entwurfsverfahren und schließt andererseits die Überprüfung des Entwurfs ein. Aus diesen Gründen hält die Große Beschwerdekammer eine Beantwortung der Frage 3 aus den in Artikel 112 (1) a) EPÜ genannten Gründen der Sicherung einer einheitlichen Rechtsanwendung oder der Klärung einer Rechtsfrage von grundsätzlicher Bedeutung für erforderlich (siehe oben D.I).
73. Es ist unklar, ob Simulationen zu Entwurfszwecken von ebensolch grundsätzlicher Bedeutung sind wie Simulationen im Allgemeinen und mit ebensolcher Wahrscheinlichkeit wie diese zu einer divergierenden Rechtsprechung führen können. Doch scheint die Überprüfung eines Entwurfs einer der Hauptzwecke der Simulation technischer Systeme zu sein (siehe die den Vorlagefragen zugrunde liegenden Ansprüche und T 1227/05). Zudem ist die Große Beschwerdekammer der Ansicht, dass Ansprüche, die auf computerimplementierte Simulationen als Teil eines Entwurfsverfahrens gerichtet sind, auch in anderen Kontexten relevant sein könnten. So können beispielsweise evolutionäre Algorithmen zusammen mit Simulationsschritten Teil eines automatischen oder halbautomatischen Entwurfsverfahrens für technische Systeme wie Antennen sein.
74. Aus diesen Gründen wird Frage 3 zugelassen.
E. Patentierbarkeit von computerimplementierten Simulationen
I. In der Rechtsprechung zu computerimplementierten Erfindungen geforderte Technizität
a) Was ist "technisch"?
75. Die Begriffe "Erfindung" und "technisch" sind weder im EPÜ noch in den nationalen Patentgesetzen definiert. Aus Artikel 52 EPÜ geht jedoch hervor, dass nur "technische" Erfindungen patentierbar sind ("auf allen Gebieten der Technik", siehe auch G 2/07, ABl. EPA 2012, 130, Nr. 6.4.2.1 der Entscheidungsgründe). In G 2/07 hatte sich die Große Beschwerdekammer mit einer Vorlage auf dem Gebiet der Biotechnologie zu befassen und zitierte eine Erfindungsdefinition des Bundesgerichtshofs aus dessen Beschluss vom 27. März 1969 in der Sache X ZB 15/67 "Rote Taube". Nach dieser Definition setzt der Begriff "Erfindung" eine technische Lehre voraus, die als "eine […] Lehre zum planmäßigen Handeln unter Einsatz beherrschbarer Naturkräfte zur Erreichung eines kausal übersehbaren Erfolges" definiert wird (GRUR 1969, 672, Nr. 3 der Gründe; englische Übersetzung des BGH-Beschlusses in IIC (1970), 136: "a teaching to methodically utilize controllable natural forces to achieve a causal, perceivable result"). In G 2/07 vertrat die Große Beschwerdekammer die Auffassung, dass dieser Standard "heute noch Gültigkeit besitzt und im Einklang mit dem Erfindungskonzept des EPÜ steht" (Nr. 6.4.2.1 vierter Absatz der Entscheidungsgründe). Der Beschluss "Rote Taube" ist älter als die nicht abschließende Liste der Ausnahmen von der Patentierbarkeit in Artikel 52 (2) EPÜ. Bei ihrem Verweis auf "Rote Taube" muss die Große Beschwerdekammer jedoch auch befunden haben, dass die Negativdefinition, die sich aus der Liste der Ausnahmen im EPÜ ergibt, den Feststellungen in "Rote Taube" nicht widerspricht. Im Einklang mit ihrer bisherigen Rechtsprechung und dem vom Gesetzgeber gewählten Ansatz wird die Große Beschwerdekammer auch im vorliegenden Fall darauf verzichten, eine Definition für "technisch" zu geben.
76. In der Rechtsprechung der Beschwerdekammern ist allgemein anerkannt, dass der kognitive Inhalt von Daten nichttechnischer Natur ist (siehe z. B. T 1000/09, Nr. 7 der Entscheidungsgründe). Die Idee, Informationen unter das Konzept der "Kräfte der Natur" zu subsumieren, hat sich nicht durchgesetzt (siehe Zech in "Methodenfragen des Patentrechts", Mohr Siebeck, Tübingen 2018, 137, 140). Die Tatsache, dass die Liste der "Nichterfindungen" in Artikel 52 (2) EPÜ während der EPÜ-Revision im Jahr 2000 zwar erörtert, aber nicht geändert wurde, stützt den Standpunkt, dass der Begriff "technisch" offen bleiben muss, nicht zuletzt im Hinblick auf potenzielle neue Entwicklungen.
77. In der mündlichen Verhandlung brachten die Vertreter des EPA-Präsidenten vor, dass die an den "Rote Taube"-Beschluss angelehnten Definitionen nicht notwendigerweise die Gesamtheit dessen beträfen, was als technisch gelten könnte, sondern nur den Begriffskern. Die Große Beschwerdekammer würde tendenziell zustimmen, dass möglicherweise jegliche Definition einer technischen Erfindung im Laufe der Zeit erweitert werden muss, damit sie neuen technischen oder wissenschaftlichen Entwicklungen Rechnung trägt oder gesellschaftliche Veränderungen widerspiegelt. Doch im Fall "Rote Taube" ging es darum, ob die Definition ein Wissenschaftsgebiet (nämlich das der Biologie) einschließen sollte, das bis dahin für Patentierungszwecke nicht übereinstimmend als technisch angesehen worden war. Im Gegensatz dazu geht es beim COMVIK-Ansatz und in der gegenwärtigen Vorlage eher darum, wie eine beanspruchte Erfindung – egal auf welchem Gebiet der Technik – einen technischen Beitrag leistet. Die vorlegende Kammer ist offensichtlich bereit, von einem breiten Technizitätsverständnis auszugehen, da sie ein Verfahren, das teilweise durch solche Parameter wie eine Frustrationsfunktion definiert ist, für technisch erachtet.
b) Technizität von computerimplementierten Erfindungen anhand des Zwei-Hürden-Ansatzes
78. Die Schutzfähigkeit, also die erste Hürde, ist nach Artikel 52 EPÜ zu beurteilen, ohne dabei den Stand der Technik in Betracht zu ziehen, d. h. ungeachtet der Tatsache, ob es am Prioritätstag der Anmeldung Computer gab. Wenn der beanspruchte Gegenstand die Verwendung eines Computers beinhaltet, macht ihn das also schutzfähig nach Artikel 52 EPÜ (siehe oben B.II.a)).
79. Für die zweite Hürde ist der Stand der Technik zu berücksichtigen. Die erfinderische Tätigkeit basiert auf dem Unterschied zwischen dem Stand der Technik und dem beanspruchten Gegenstand. Das Erfordernis, wonach die die erfinderische Tätigkeit stützenden Merkmale zur technischen Lösung einer technischen Aufgabe beitragen müssen, bedeutet, dass die Erfindung, die als eine auf dem bekannten Stand der Technik basierende Lehre zu verstehen ist, eine "technische Erfindung" sein muss. Die Verwendung eines Universalrechners stellt in diesem Zusammenhang immer einen Stand der Technik dar. Die nach dieser Vorschrift zu beurteilende Erfindung muss über die Verwendung eines Universalrechners hinaus "technisch" sein. Bei dieser Beurteilung können die Definition einer technischen Erfindung in Artikel 52 EPÜ und insbesondere die Liste der "Nichterfindungen" in Artikel 52 (2) EPÜ hilfreich sein, um festzustellen, ob bestimmte Merkmale zur erfinderischen Tätigkeit beitragen (G 3/08, Nr. 10.13.1 der Begründung).
80. Ganz allgemein könnten Merkmale, die zwar per se als technisch gelten können, trotzdem nichts zur erfinderischen Tätigkeit beitragen, wenn sie nämlich keinen Beitrag zur Lösung einer technischen Aufgabe leisten (siehe oben B.II.b)). Danach könnte ein technischer Schritt innerhalb eines computerimplementierten Verfahrens zu der durch die Erfindung gelösten Aufgabe beitragen oder auch nicht. Die Sache T 1670/07 betraf ein "Verfahren zum leichteren Einkaufen mit einer mobilen drahtlosen Kommunikationsvorrichtung, um eine Vielzahl gekaufter Waren […] von einer Gruppe von Verkäufern zu erhalten, die sich an einem Einkaufsort befinden". Nach Auffassung der Kammer genügte die dem Wesen nach technische, computerbasierte Umsetzung nicht, um dem gesamten Verfahren technischen Charakter zu verleihen, weil die dem Nutzer im Verlauf des beanspruchten Verfahrens präsentierte "Auswahl von Verkäufern" keine technische Wirkung darstellte und die Übermittlung der Auswahl nicht mehr als eine Verbreitung von Informationen war (T 1670/07, Nr. 9 der Entscheidungsgründe).
81. Während Artikel 52 EPÜ als Rahmen für die Beantwortung der Frage dient, ob eine technische Erfindung vorliegt, wird beim COMVIK-Ansatz dasselbe Kriterium für die Prüfung herangezogen, ob der beanspruchte Gegenstand den Vorschriften des Artikels 52 EPÜ genügt und ob etwaige Unterscheidungsmerkmale für die Analyse nach Artikel 56 EPÜ in Betracht kommen. Wenn für die Beurteilung der erfinderischen Tätigkeit nur diejenigen Unterschiede gegenüber dem Stand der Technik zu berücksichtigen sind, die zur Lösung einer technischen Aufgabe beitragen, dann dient dieses Erfordernis als Filter, den die Merkmale, die die Erfindung vom Stand der Technik unterscheiden, zunächst passieren müssen.
82. Es ist ein allgemeiner Grundsatz, dass die Frage, ob ein Merkmal zum technischen Charakter des beanspruchten Gegenstands beiträgt, im Lichte des gesamten Schutzbereichs des Anspruchs zu beurteilen ist. Bei Anwendung des Aufgabe-Lösungs-Ansatzes kann die Analyse nach Artikel 56 EPÜ ergeben, dass eine konkrete Aufgabe nicht über den gesamten Schutzbereich des Anspruchs gelöst wird (d. h. eine bestimmte Wirkung nicht über den gesamten Schutzbereich erzielt wird). In einem solchen Fall kann diese konkrete Aufgabe nicht als Grundlage für die Beurteilung der erfinderischen Tätigkeit herangezogen werden, es sei denn, der Anspruch wird so beschränkt, dass im Wesentlichen alle darunter fallenden Ausführungsformen die gewünschte Wirkung zeigen (siehe z. B. T 939/92, ABl. EPA 1996, 309, Nr. 2.6 der Entscheidungsgründe, wo die Kammer nicht überzeugt war, dass im Wesentlichen alle beanspruchten Verbindungen eine herbizide Wirkung erwarten ließen). Eine solche Beschränkung wird normalerweise erreicht, indem ein oder mehrere Merkmale (bei einem chemischen Verfahren z. B. ein Temperatur- oder Konzentrationsbereich) eingeschränkt werden und/oder ein oder mehrere beschränkende Merkmale hinzugefügt werden. Der vorstehende Grundsatz, so wie er in der oft zitierten Entscheidung T 939/92 dargelegt ist, präzisiert lediglich einen weiteren allgemeinen Grundsatz, wonach nämlich der gesamte oder im Wesentlichen der gesamte Anspruchsgegenstand die Patentierbarkeitskriterien erfüllen muss. Ein weiteres Beispiel wären Verfahren zur Behandlung des menschlichen Körpers mit sowohl nicht therapeutischen als auch therapeutischen Wirkungen, bei denen Letztere unter den Patentierbarkeitsausschluss nach Artikel 53 c) EPÜ fallen (siehe z. B. T 1635/09, ABl. EPA 2011, 542, Nrn. 3 und 5 der Entscheidungsgründe, wo die Ansprüche nicht auf ein nicht therapeutisches Verfahren beschränkt werden konnten, weil die therapeutischen und die nicht therapeutischen Elemente der beanspruchten Verwendung untrennbar miteinander verknüpft waren).
83. Ebenso ist es denkbar, dass eine computerimplementierte Erfindung technischen Charakter hat und ein Merkmal nur in Bezug auf Teile des beanspruchten Gegenstands zum technischen Charakter der Erfindung beiträgt. Beispielsweise könnte sich in einem erfinderischen Datenübertragungsverfahren eine höhere Geschwindigkeit (die die technische Wirkung darstellt) nur erreichen lassen, wenn die Größe der übermittelten Datenpakete eine bestimmte Mindestgröße übersteigt. In einem solchen Fall könnte es erforderlich sein, im betreffenden Anspruchsmerkmal die Größe der übermittelten Datenpakete entsprechend zu beschränken. Die Beschränkung des beanspruchten Gegenstands auf einen Bereich, dem die technische Wirkung zuerkannt werden kann, lässt sich erreichen, indem weitere beschränkende Merkmale aufgenommen werden, z. B. Schritte, die eine Wechselwirkung mit der externen physischen Realität herstellen.
84. Nach dem COMVIK-Ansatz wird ein Merkmal nur dann zur Beurteilung der erfinderischen Tätigkeit herangezogen, wenn und insoweit es zum technischen Charakter des beanspruchten Gegenstand beiträgt. Eine Voraussetzung für die Erfüllung des Erfordernisses, dass die beanspruchte Erfindung über den gesamten Schutzbereich erfinderisch sein muss, ist, dass sie auch über den gesamten Schutzbereich technisch ist. Folglich ist dieses Erfordernis nicht erfüllt, wenn das betreffende beanspruchte Merkmal nur für bestimmte Ausführungsformen der beanspruchten Erfindung zum technischen Charakter beiträgt.
c) Aspekte der Technizität von computerimplementierten Erfindungen

85. Die vorstehende Abbildung zeigt – in vereinfachter, nicht abschließender Form –, wie und wann im Rahmen eines computerimplementierten Verfahrens "technische Wirkungen" oder "technische Wechselwirkungen" auftreten können. Die Pfeile symbolisieren Wechselwirkungen, die sich von einer abstrakten Dateneingabe, Datenausgabe oder internen Datenverarbeitung oder -übertragung unterscheiden. Eine technische Eingabe kann aus einer Messung bestehen; eine technische Ausgabe kann ein Steuerungssignal sein, das zur Steuerung einer Maschine verwendet wird. Sowohl eine technische Eingabe als auch eine technische Ausgabe werden üblicherweise durch direkte Verbindungen zur physischen Realität erzielt. Anpassungen am Computer oder an seinem Betrieb, die zu technischen Wirkungen führen (z. B. zu einer besseren Nutzung der Speicherkapazität oder der Bandbreite), sind weitere Beispiele für Merkmale, die zur erfinderischen Tätigkeit beitragen können (für eine Auflistung von Beispielen und Verweisen auf die entsprechenden Kammerentscheidungen siehe T 697/17, Nr. 5.2.5 der Entscheidungsgründe). Alles in allem können technische Wirkungen innerhalb des computerimplementierten Verfahrens auftreten (z. B. durch spezielle Anpassungen des Computers oder der Mechanismen für die Datenübertragung oder -speicherung) sowie bei den Ein- und Ausgaben dieses Verfahrens. Ein- und Ausgaben kann es nicht nur am Anfang und Ende eines computerimplementierten Verfahrens geben, sondern auch während seiner Ausführung (z. B. durch das Empfangen periodischer Messdaten und/oder das fortlaufende Senden von Steuersignalen an ein technisches System).
86. Es ist selbsterklärend, dass Ein- und Ausgaben nie etwas anderes sind als Daten, sofern man nur die Datenverarbeitung innerhalb des Computers betrachtet. Computerimplementierte Verfahren umfassen jedoch häufig auch Merkmale – die per se sowohl technisch als auch nichttechnisch sein können –, die die Wechselwirkung des Computers mit der externen Welt widerspiegeln. Wie weiter oben erläutert, ist es nicht möglich, jede Art von Merkmal einer computerimplementierten Erfindung abschließend zu beschreiben (oder grafisch darzustellen), das zum technischen Charakter der Erfindung beitragen kann.
d) Direkte Verbindung zur physischen Realität
87. In der Vorlageentscheidung (Nr. 31 der Entscheidungsgründe) wird ausgehend von G 3/08 erörtert, ob ein beanspruchtes Merkmal eine technische Wirkung auf einen physikalischen Gegenstand in der realen Welt hervorrufen muss, um einen Beitrag zum technischen Charakter des Anspruchs zu leisten. In G 3/08 war diese Frage für unzulässig nach Artikel 112 (1) b) EPÜ befunden worden, weil nicht glaubhaft war, dass zwei Beschwerdekammern in dieser Frage abweichende Entscheidungen getroffen hatten. Außer den in G 3/08 behandelten Entscheidungen führte die vorlegende Kammer noch weitere an und verwies auf Fälle, in denen offenbar eine direkt mit der physischen Realität verbundene technische Wirkung gefordert worden war, aber auch auf andere Fälle, in denen anscheinend eine potenzielle technische Wirkung berücksichtigt worden war, d. h. eine Wirkung, die sich nur in Kombination mit nicht beanspruchten Merkmalen erzeugen ließ (Nrn. 36 und 37 der Entscheidungsgründe).
88. Ausgehend von der bestehenden Rechtsprechung und unter Berücksichtigung der einschlägigen Rechtsvorschriften sieht die Große Beschwerdekammer keine Notwendigkeit, in jedem Fall eine direkte Verbindung zur (externen) physischen Realität zu fordern. Einerseits können auch Merkmale innerhalb des verwendeten Computersystems einen technischen Beitrag leisten (siehe oben E.I.b)). Andererseits gibt es zahlreiche Beispielfälle, in denen bei der Beurteilung der Technizität bzw. der erfinderischen Tätigkeit potenzielle technische Wirkungen – im Gegensatz zu direkten technischen Wirkungen auf die physische Realität – berücksichtigt wurden (siehe unten E.I.e)). Während eine direkte Verbindung zur physischen Realität, basierend auf Merkmalen, die per se technisch und/oder nichttechnisch sind, in den meisten Fällen für die Zuerkennung von Technizität ausreicht, kann sie doch keine zwingende Voraussetzung sein, und sei es bloß aus dem Grund, dass der Technizitätsbegriff ein offener bleiben muss.
e) Potenzielle technische Wirkungen
89. In einigen Amicus-curiae-Schriftsätzen wurde T 1173/97 zur Stützung des Arguments angeführt, dass es ausreiche, wenn eine computerimplementierte Erfindung das Potenzial zur Erzeugung eines technischen Effekts habe. In dieser Entscheidung war anerkannt worden, dass ein Computerprogrammprodukt das Potenzial haben kann, einen vorgegebenen weiteren technischen Effekt zu erzeugen, d. h. einen technischen Effekt, der über die technischen Effekte innerhalb des Computers hinausgeht, die zwangsläufig auftreten, wenn ein Programm auf einem Computer abläuft (Nrn. 6 und 7 der Entscheidungsgründe). Die dieser Entscheidung zugrunde liegenden Ansprüche betrafen unter anderem ein "Computerprogrammprodukt, das direkt in den internen Speicher eines digitalen Computers geladen werden kann" und ein "Computerprogrammprodukt, das auf einem computergeeigneten Medium gespeichert ist". Die einzige zu entscheidende Frage war, ob diese Ansprüche nach Artikel 52 (2) und (3) EPÜ von der Patentierung ausgeschlossen waren (Nr. 9.1 der Entscheidungsgründe). In diesem Zusammenhang stellte die Kammer fest, dass jeglicher (technische oder nichttechnische) Effekt eines Computerprogramms erst erzeugt wird, wenn das Programm auf einem Computer abläuft, und das Programm folglich nur das "Potenzial" zur Erzeugung eines Effekts hat (Nr. 9.4 der Entscheidungsgründe). Dennoch befand sie, dass ein "Computerprogrammprodukt, das (implizit) alle Merkmale eines patentfähigen Verfahrens […] aufweist, […] daher grundsätzlich nicht als nach Artikel 52 (2) und (3) EPÜ vom Patentschutz ausgeschlossen" gilt (Nr. 9.6 der Entscheidungsgründe).
90. Die Zuerkennung eines "Potenzials" zur Erzeugung eines Effekts in T 1173/97 bedeutete, dass der Effekt eines Computerprogramms beim Ablauf auf einem Computer bei der Patentierbarkeitsanalyse zu berücksichtigen ist oder – in anderen Worten – dass die Bedingung "beim Ablauf auf einem Computer" in dem auf ein Computerprogrammprodukt gerichteten Anspruch impliziert ist. Basierend auf dieser Schlussfolgerung wurde die Sache zur weiteren Entscheidung an die erste Instanz zurückverwiesen, die "insbesondere auch zu prüfen hat, ob die Ansprüche im vorliegenden Wortlaut unter das Patentierungsverbot nach Artikel 52 (2) und (3) EPÜ fallen" (Nr. 2 der Entscheidungsformel). Auf die Frage, ob die beanspruchte Erfindung technischen Charakter hatte, ging die Kammer in ihrer Entscheidung nicht ein, stellte aber klar, dass die durch die Ausführung der Programmbefehle eintretenden physikalischen Veränderungen nicht per se den technischen Charakter der Erfindung ausmachen können (Nr. 6.6 der Entscheidungsgründe).
91. Der in T 1173/97 entwickelte Grundsatz, wonach Software (die als solche möglicherweise nur "potenzielle Effekte" aufweist) als auf einem Computer laufende Software behandelt wird, findet nach wie vor Anwendung, wohingegen die weitere Analyse (d. h. die Prüfung, ob die Software weitere technische Effekte bewirkt) inzwischen nach dem COMVIK-Ansatz erfolgt. Die Kombination der beanspruchten Merkmale muss beim Ablauf auf einem Computer eine technische Erfindung darstellen. Bei der Analyse nach dem COMVIK-Ansatz sind die Merkmale nach ihrem Beitrag zum technischen Charakter der Erfindung zu beurteilen. In der Entscheidung T 1173/97 wurde unterschieden zwischen den Effekten, die jedes Computerprogramm beim Ablauf auf einem Computer erzeugt, und dem "weiteren technischen Effekt", der sich möglicherweise beim Ablauf des Programms auf dem Computer ergibt (Nr. 9.4 der Entscheidungsgründe). Natürlich lässt sich auch dieser "weitere technische Effekt" nur erzielen, wenn das Programm auf dem Computer abläuft, d. h. das Programm hat möglicherweise das Potenzial zur Erzeugung solcher weiteren technischen Effekte, die folglich als "potenzielle weitere technische Effekte" bezeichnet werden könnten. In T 1173/97 wurde jedoch nichts darüber ausgesagt, ob sich das beanspruchte Computerprogrammprodukt auf einen weiteren technischen Effekt bezog, sondern lediglich klargestellt, dass ein Computerprogrammprodukt nicht von vornherein von der Patentierung ausgeschlossen ist (Nr. 12.2 der Entscheidungsgründe). Insbesondere impliziert die Entscheidung nicht, dass, sobald die Software auf einem Computer läuft, "potenzielle" technische Effekte (so wie sie von der vorlegenden Kammer verstanden werden, siehe oben E.I.d)) für die Zwecke der Analyse nach dem COMVIK-Ansatz stets als "reale" technische Effekte behandelt werden können.
92. In der Vorlageentscheidung sind einige weitere Entscheidungen angeführt, die nahelegen, "dass eine potenzielle technische Wirkung, d. h. eine Wirkung, die nur in Kombination mit nicht beanspruchten Merkmalen erzeugt wird, bei der Beurteilung der erfinderischen Tätigkeit berücksichtigt werden kann" (Nr. 37 der Entscheidungsgründe). Es wird auf T 1351/04 verwiesen, in der ein Verfahren zur Erzeugung einer Indexdatei und die erzeugte Indexdatei – im Kontext des COMVIK-Ansatzes – als technische Mittel angesehen wurden, weil sie bestimmten, wie der Computer Informationen durchsuchte, und diese Suche eine technische Aufgabe war (T 1351/04, Orientierungssatz und Nr. 7 der Entscheidungsgründe). Diese Entscheidung betraf "zur Steuerung einer technischen Vorrichtung bestimmte funktionale Daten", denen "normalerweise ein technischer Charakter zugesprochen wird" (Nr. 7.2 der Entscheidungsgründe), und die dortige Kammer verwies unter anderem auf T 110/90, in der Steuerzeichen für einen Drucker als technische Merkmale des Textverarbeitungssystems angesehen wurden, in dem sie vorkamen (T 110/90, ABl. EPA 1994, 557, Nr. 4 der Entscheidungsgründe).
93. Der Beschwerdeführer und der Präsident des EPA beriefen sich – ebenso wie andere – auf die Entscheidung T 208/84 (VICOM, ABl. EPA 1987, 14) als weiteren Beispielfall, in dem der Verarbeitung von Daten eine technische Wirkung zugesprochen worden war. In dieser Sache wurde zwischen einem Verfahren zur digitalen Verarbeitung von Bildern und einer mathematischen Methode als solcher unterschieden (Nrn. 5 und 6 der Entscheidungsgründe). In diesem Zusammenhang wäre auch T 163/85 (ABl. EPA 1990, 379) zu nennen, wo ein Farbfernsehsignal beansprucht wurde, das zur Erzeugung eines Bildes auf bestimmten Fernsehempfängern geeignet war. Die dortige Kammer befand, dass das beanspruchte Fernsehsignal inhärent die technischen Merkmale des Fernsehsystems enthielt, in dem es verwendet wurde (Nr. 2 der Entscheidungsgründe).
94. Die vorgenannte ältere Rechtsprechung scheint zu bestätigen, dass Daten, die zur Steuerung einer technischen Vorrichtung bestimmt sind, ein technischer Charakter zuerkannt werden kann, weil sie das Potenzial zur Erzeugung technischer Wirkungen haben. Im Kontext des Aufgabe-Lösungs- und des COMVIK-Ansatzes können solche potenziellen technischen Wirkungen berücksichtigt werden, wenn die durch das beanspruchte Verfahren erzeugten Daten speziell für die Zwecke der beabsichtigten technischen Verwendung angepasst sind. In einem solchen Fall könnte entweder die technische Wirkung, die sich aus der beabsichtigten Verwendung der Daten ergäbe, als durch den Anspruch "impliziert" gelten, oder die beabsichtigte Verwendung der Daten (d. h. die Verwendung in Verbindung mit einer technischen Vorrichtung) könnte als sich im Wesentlichen über den gesamten Schutzbereich des beanspruchten Datenverarbeitungsverfahrens erstreckend gelten.
95. Andererseits können diese Argumente nicht geltend gemacht werden, wenn beanspruchte Daten oder durch ein beanspruchtes Verfahren erzeugte Daten andere relevante Verwendungszwecke haben als den, den sie in einer technischen Vorrichtung haben (z. B. Steuerung der technischen Vorrichtung). In diesem Fall könnte die Analyse nach Artikel 56 EPÜ ergeben, dass die technische Wirkung nicht über im Wesentlichen den gesamten Schutzbereich der beanspruchten Erfindung erreicht wird (siehe oben E.I.b)).
96. Nach Auffassung der Großen Beschwerdekammer müssen die oben erwähnten potenziellen technischen Wirkungen (die als an bestimmte Bedingungen geknüpfte technische Wirkungen angesehen werden könnten) unterschieden werden von den in T 1173/97 behandelten potenziellen Wirkungen. Letztere schließen alle (technischen und nichttechnischen) Wirkungen ein, die sich unmittelbar aus dem Ablauf eines Programms auf einem Computer ergeben, d. h. innerhalb des Computers auftretende und mit der das Programm ausführenden Hardware zusammenhängende Wirkungen. Demgegenüber handelt es sich bei Ersteren um "Downstream"-Wirkungen, die durch diese Datenausgabe hervorgerufen sein können oder nicht. Natürlich ist die numerische Datenausgabe eines Computers eine notwendige Voraussetzung für sämt-liche erzeugten Wirkungen, und die "Downstream"-Wirkungen können als eine potenzielle Wirkung der Software angesehen werden. Doch die zwangsläufig technische Natur einiger Wirkungen innerhalb des Computers bedeutet nicht, dass die durch die Datenausgabe des Computers verursachten "Downstream"-Wirkungen auch zwangsläufig technischer Natur sind. Solche Wirkungen wurden in T 1173/97, sofern sie als technisch angesehen wurden, als "weitere technische Effekte" bezeichnet (Nr. 9.4 der Entscheidungsgründe).
f) Virtuelle oder berechnete technische Wirkungen
97. Im gegenwärtigen Vorlageverfahren war auch vorgebracht worden, dass technische Wirkungen, die nicht durch eine Wechselwirkung mit der physischen Realität erzeugt, sondern so berechnet werden, dass sie weitgehend "realen" technischen Wirkungen oder physischen Objekten entsprechen, für die Zwecke des COMVIK-Ansatzes als technische Wirkungen behandelt werden sollten. Nach Auffassung der Großen Beschwerdekammer sollten virtuelle oder berechnete technische Wirkungen von potenziellen technischen Wirkungen unterschieden werden, die unweigerlich zu realen technischen Wirkungen werden, wenn z. B. ein Computerprogramm oder ein Steuersignal für ein Bildanzeigegerät wie beabsichtigt verwendet wird.
98. Berechnete Statusinformationen oder physikalische Eigenschaften eines physischen Objekts sind Informationen, die in der realen Welt möglicherweise auftretende Eigenschaften widerspiegeln können. In allererster Linie aber sind sie bloße Daten, die auf vielerlei verschiedene Weise verwendet werden können. Es mag Ausnahmefälle geben, in denen solche Informationen einen impliziten technischen Nutzen haben, der die Grundlage für eine implizite technische Wirkung bilden kann. Dennoch sind Daten über eine berechnete technische Wirkung im Allgemeinen bloß Daten, die beispielsweise verwendet werden können, um wissenschaftliche Erkenntnisse über ein technisches oder natürliches System zu gewinnen, informierte Entscheidungen über Schutzmaßnahmen zu treffen oder sogar eine technische Wirkung zu erzeugen. Der breite Schutzbereich eines auf die Berechnung technischer Informationen gerichteten Anspruchs ohne eine Beschränkung auf bestimmte technische Verwendungen würde daher routinemäßig nach dem Grundsatz beanstandet, dass der beanspruchte Gegenstand über im Wesentlichen den gesamten Schutzbereich der Ansprüche eine technische Erfindung sein muss (siehe oben E.I.b) mit dem Verweis auf T 939/92).
99. Die Berechnung des physikalischen Zustands eines Gegenstands (z. B. seiner Temperatur) ist üblicherweise Teil eines Messverfahrens. Es ist allgemein anerkannt, dass Messungen technischen Charakter haben, weil sie auf einer Wechselwirkung mit der physischen Realität zu Beginn des Messverfahrens basieren. Messungen werden häufig anhand indirekter Messwerte vorgenommen, so kann beispielsweise die Messung einer physikalischen Größe an einem bestimmten Ort anhand von Messungen anderer physikalischer Größen und/oder von Messungen an einem anderen Ort erfolgen (siehe z. B. T 91/10, Nr. 5.2.1 der Entscheidungsgründe; T 1148/00, Nr. 9 der Entscheidungsgründe). Obwohl solche indirekten Messungen einen erheblichen Berechnungsaufwand mit sich bringen können, haben sie dennoch eine Verbindung zur physischen Realität und somit einen technischen Charakter, unabhängig davon, welcher Verwendung ihre Ergebnisse zugeführt werden (siehe z. B. die Kombination von Messungen und Simulationen in T 438/14).
g) Kriterium einer "greifbaren Wirkung"
100. Zur Stützung des technischen Charakters berechneter (technischer) Daten wurde vorgebracht, dass in der Rechtsprechung der Beschwerdekammern keine "greifbare Wirkung" gefordert werde, damit eine Erfindung patentierbar sei. Die Vertreter des EPA-Präsidenten verwiesen insbesondere auf T 533/09. In dieser Entscheidung waren Ansprüche auf eine Folge von Defibrillationsimpulsen (siehe Patent EP 1 284 788 B1) für gewährbar befunden worden. Defibrillationsimpulse sind Stromstöße, die von einer Defibrillationsvorrichtung an einen Patienten abgegeben werden (siehe Absatz [0069] und Fig. 1 des Patents). Im Zusammenhang mit Artikel 57 EPÜ (gewerbliche Anwendbarkeit) hatte die dortige Kammer erklärt, dass der Begriff der patentierbaren Erfindung nicht an die Bedingung geknüpft ist, dass eine solche Erfindung "materiell greifbar" sein muss (Nr. 7.2 der Entscheidungsgründe: "caractère tangible, au sens de matériel"). Unter Verweis auf die vorbereitenden Arbeiten zum EPÜ befand sie, dass das EPÜ die Patentierbarkeit nicht auf bestimmte Kategorien von Erfindungen (z. B. Erzeugnisse und Verfahren) beschränkt. Betont wurde in der Entscheidung auch der Unterschied zum US-amerikanischen Recht, wo nach Titel 35 U.S.C. § 101 der Begriff der patentierbaren Erfindung – anders als im EPÜ – begrenzt ist auf "ein Verfahren, eine Maschine, ein Erzeugnis, eine Zusammensetzung oder eine Weiterentwicklung hiervon […], das bzw. die neu und nützlich ist" (Nr. 7.2 der Entscheidungsgründe). Obwohl T 533/09 nicht auf computerimplementierte Erfindungen begrenzt war, lassen sich die beanspruchten Impulsfolgen mit Steuersignalen vergleichen, die, wenn sie wie beabsichtigt verwendet werden, potenzielle weitere technische Wirkungen haben (siehe oben E.I.e), insbesondere im Hinblick auf T 163/85 – Farbfernsehsignal).
101. Zahlreiche Entscheidungen, die sich auf "greifbare" Wirkungen beziehen, nutzen deren Fehlen als Argument gegen die Patentierbarkeit (als jüngeres Beispiel siehe T 215/13, Nrn. 5 und 6 der Entscheidungsgründe – keine greifbare technische Aufgabe gelöst). Die Große Beschwerdekammer schließt sich jedoch uneingeschränkt der in T 533/09 (Nr. 7.2 der Entscheidungsgründe) vertretenen Auffassung an, wonach eine greifbare Wirkung kein Erfordernis nach dem EPÜ ist. Zudem ist unklar, inwieweit sich die Begriffe der "greifbaren Wirkung" und der "weiteren technischen Wirkung" überlappen. Ein auf der Greifbarkeit beruhendes Kriterium – zusätzlich zum Kriterium der Technizität – kann also nicht zu einer genaueren Abgrenzung patentierbarer Erfindungen beitragen.
II. Merkmale einer Simulation
102. In der Vorlageentscheidung (Nr. 21 der Entscheidungsgründe) wird Simulation definiert als "die annähernde Imitation des Betriebs eines Systems oder Verfahrens auf der Grundlage eines Modells dieses Systems oder Verfahrens. Bei einer computerimplementierten Simulation existiert das Modell nur im Computer, und die Simulation ermöglicht es, die Funktionsweise des modellierten Systems oder Verfahrens zu bewerten oder vorherzusagen." Nach einer vom Verein Deutscher Ingenieure (VDI) aufgestellten Definition handelt es sich um das "Nachbilden eines Systems mit seinen dynamischen Prozessen in einem experimentierbaren Modell, um zu Erkenntnissen zu gelangen, die auf die Wirklichkeit übertragbar sind" (VDI-Richtlinie 3633; englische Übersetzung enthalten im Amicus-curiae-Schriftsatz (21)). Beide Definitionen berücksichtigen, dass nicht nur technische Systeme oder Verfahren simuliert werden können. Die VDI-Definition ist insofern enger gefasst, als sie auf Systeme mit ihren dynamischen Prozessen beschränkt ist (d. h. der Veränderung des Zustands des Systems im Zeitverlauf), während sich die Definition in der Vorlageentscheidung spezifischer auf computerimplementierte (numerische) Simulationen bezieht.
103. Bevor ausreichend Rechenkapazität für präzise numerische Simulationen zur Verfügung stand, wurden physische Simulationen durchgeführt, so z. B. Simulationen von Wasserstraßen durch maßstabsgetreue Nachbildungen mit Sand oder Windtunnelexperimente für Fahrzeuge und Flugzeuge. Physische Simulationen können anhand von Modellen mit anderen physikalischen Größen als den für das modellierte System relevanten vorgenommen werden. So lassen sich z. B. mechanische Systeme durch analoge elektronische Schaltkreise modellieren, die dasselbe dynamische Verhalten aufweisen wie das modellierte mechanische System. Für bestimmte Systeme werden nach wie vor physische Simulationen genutzt. Unabhängig von der Art der Simulation (physisch oder numerisch) und davon, welche Definition zugrunde gelegt wird, liefert die Simulation in ihrem Ergebnis Informationen über das potenzielle Verhalten des modellierten Systems oder Verfahrens.
104. Die Hauptmerkmale einer computerimplementierten Simulation lassen sich wie folgt zusammenfassen:
i) numerisches Modell eines Systems oder Verfahrens (das technisch oder nichttechnisch sein kann) in Form von Daten, die von einem Computer verarbeitet werden können,
ii) Gleichungen, die das Verhalten des Modells (das Zufallsfunktionen umfassen kann) abbilden,
iii) Algorithmen, die eine numerische Ausgabe liefern, die den berechneten Zustand des modellierten Systems oder Verfahrens abbildet (insbesondere in Zeitschritten oder als Summe oder Durchschnitt, die bzw. der auf der Grundlage zahlreicher Zufallsereignisse errechnet wurde).
105. Das zu simulierende System oder Verfahren ist nicht Teil der Simulation. Es gibt lediglich den Ausgangspunkt oder die Grenzen für die Simulation vor, in etwa so wie ein echter Wald für ein Landschaftsgemälde. Patentrechtlich betrachtet, gehört das simulierte System oder Verfahren in der Regel zum Stand der Technik für die Simulationserfindung. Der kreative Beitrag numerischer Simulationen besteht in der Regel in der Entwicklung, Auswahl oder Verbesserung der zugrunde liegenden Gleichungen oder Algorithmen oder in speziellen Verwendungen oder Anpassungen der für die Simulationen benutzten Computer.
III. COMVIK-Ansatz angewendet auf computerimplementierte Simulationen
a) Elemente einer computerimplementierten Simulation
i) Modell und das Modell abbildende Gleichungen
106. Ein Modell und die es abbildenden Gleichungen sind mathematischer Natur, unabhängig davon, ob ein "technisches" oder "nichttechnisches" System oder Verfahren modelliert wird. Ein Beispiel für die letztere Kategorie wäre ein spieltheoretisches Modell. Die Entwicklung des Modells und der Gleichungen ist eine rein gedankliche Tätigkeit, auch wenn diese computergestützt erfolgen kann, so z. B. bei der Erstellung eines räumlichen Gitters, das an ein zu simulierendes mechanisches System angepasst ist.
107. Bei der Simulation eines existierenden Systems oder Verfahrens sollte das Modell die physische Realität so abbilden, dass die auf dem Modell basierende Simulation der "Realität" in den relevanten Bereichen zumindest bis zu einem gewissen Grad nahekommt. Ein hoher Grad an Präzision und die Beachtung aller geltenden Naturgesetze könnten sich dabei als verzichtbar erweisen. Bei der Simulation der Flugbahn eines Gegenstands könnte beispielsweise der Luftwiderstand vernachlässigt werden, wenn es sich bei dem Gegenstand um einen von einem Turm herabfallenden Stein handelt, nicht aber, wenn es sich um einen Federball beim Badminton handelt. Relativistische Effekte können in Bezug auf die Geschwindigkeit von Straßenfahrzeugen vernachlässigbar, bei der Satellitennavigation dagegen essenziell sein. Die physische Realität lässt sich nie exakt abbilden.
108. Das Modell eines Systems oder Verfahrens basiert auf Annahmen, die – je nach den relevanten Prinzipien – schwer überprüfbar sein können. Während die Gesetze der Physik im Allgemeinen wohlbekannt sind, können die für ein Modell benötigten Abhängigkeiten und Parameter schwieriger zu bestimmen sein, wenn menschliche Faktoren oder Zufallsereignisse zum Tragen kommen. So enthalten die Ansprüche der der Vorlage zugrunde liegenden Anmeldung Parameter wie den "persönlichen Raum", die "Unzufriedenheitsfunktion" oder die "Frustrationsfunktion", die sich nur ausgehend von Annahmen quantifizieren und in ein Modell einbauen lassen, wobei diese Annahmen im Laufe der Entwicklung einer Simulation möglicherweise deutlich angepasst werden müssen.
109. Ob ein nicht existierendes System oder Verfahren überhaupt "modelliert" oder "simuliert" werden kann, darüber lässt sich streiten. Für die Zwecke der Entwicklung eines Modells und seiner Formalisierung durch Gleichungen ist es jedoch irrelevant, ob das System oder Verfahren jemals existiert hat oder existieren wird. Die Simulation von Systemen, die noch unverwirklichte Verbesserungen eines bekannten Systems darstellen, oder von dynamischen Prozessen, die in der physischen Welt noch nicht einmal vorkommen oder sogar vermieden werden sollen, scheint ein maßgeblicher Anwendungsbereich von Simulationen zu sein (siehe z. B. T 625/11 – Ermittlung eines Grenzwerts für einen Betriebsparameter eines Kernreaktors). Eine Simulation könnte es erlauben, ein System zu untersuchen, ohne dass es gebaut werden muss (T 1227/05).
110. Gemäß dem COMVIK-Ansatz diktieren die einer Simulation zugrunde liegenden Modelle zwingend zu erfüllende (technische oder nichttechnische) Vorgaben, die für die Zwecke der Simulation selbst nichttechnisch sind. Nichtsdestotrotz können sie zur Technizität beitragen, wenn sie z. B. Anlass zur Anpassung des Computers oder seiner Funktionsweise geben oder zu technischen Wirkungen beitragen, die mit den Ergebnissen der Simulation zusammenhängen.
111. Ob eine Simulation zum technischen Charakter des beanspruchten Gegenstands beiträgt, hängt nicht von der Qualität des zugrunde liegenden Modells ab oder von dem Grad, in dem die Simulation die "Realität" abbildet. Die Genauigkeit der Simulation ist jedoch ein Faktor, der eine über die Implementierung der Simulation auf einem Computer hinausgehende technische Wirkung beeinflussen und daher bei der Beurteilung nach Artikel 56 EPÜ Berücksichtigung finden kann. Wenn die Simulation für ihren beabsichtigten (technischen) Zweck nicht ausreichend genau ist, könnte die Beurteilung nach Artikel 56 EPÜ ergeben, dass die behauptete Verbesserung nicht erreicht und das beanspruchte Simulationsverfahren folglich als nicht erfinderisch angesehen wird, obwohl die Simulation zum technischen Charakter der Erfindung beiträgt. Umgekehrt könnte ein Verfahren, das numerische Simulationen umfasst, trotz bestimmter ungenauer Simulationsparameter eine technische Wirkung erzielen. Ist im Anspruch eine Verbesserung oder eine spezielle Funktion erwähnt und kann diese anhand einer Simulation, die die "Realität" nicht ausreichend genau abbildet, nicht erreicht werden, so könnte dies auch nach Artikel 83 EPÜ beanstandet werden, falls der Fachmann die nötigen Modelle und Gleichungen nicht ohne unzumutbaren Aufwand ermitteln kann.
ii) Algorithmen
112. Algorithmen sind die Grundlage jeder computerimplementierten Erfindung. Die Formulierung eines Algorithmus ist ebenso wie die Entwicklung eines Modells eine kognitive Tätigkeit. Die Definition eines Algorithmus erfordert nicht zwangsläufig technische Überlegungen (G 3/08, Nr. 13.5.1 der Begründung mit Verweis auf die vorbereitenden Arbeiten zum EPÜ). Algorithmen tragen nur dann zum technischen Charakter eines computerimplementierten Verfahrens bei, wenn sie einem technischen Zweck dienen (siehe T 1358/09 mit Verweis auf T 1784/06). Ein Algorithmus kann sich z. B. besonders gut zum Ablauf auf einem Computer eignen, weil seine Konzeption durch technische Überlegungen zur internen Funktionsweise des Computers motiviert war (siehe T 1358/09, Nr. 5.5 der Entscheidungsgründe).
113. Wurde festgestellt, dass ein Algorithmus zum technischen Charakter einer Simulation beiträgt, so kann er – ebenso wie Modelle und Gleichungen – für den letzten Schritt der Beurteilung nach Artikel 56 EPÜ relevant sein. Ein Algorithmus, der die jeweiligen Gleichungen nicht verlässlich und schnell genug lösen kann, könnte zu einer Simulation führen, die die für den Aufgabe-Lösungs-Ansatz relevante Aufgabe nicht löst.
b) Technische Merkmale einer "Simulation als solcher"
114. Computerimplementierte Simulationen sind computerimplementierte Verfahren, die in der Regel eine Mischung technischer und nichttechnischer Merkmale aufweisen. Daher geht die Große Beschwerdekammer davon aus, dass die im COMVIK-Ansatz entwickelten Kriterien angewendet werden können.
115. Die obige Abbildung (siehe E.I.c)) und die obigen Ausführungen zu Wirkungen, die als technisch gelten können (siehe E.I.c) - g)), scheinen nahezulegen, dass die meisten "Simulationen als solche" wenig technische Wirkungen haben, was die Eingabe und die Ausgabe betrifft (die bei "Simulationen als solchen" aus Daten bestehen). Doch auch wenn es keine realen, externen physikalischen Effekte gibt, kann die Software – einschließlich der zugrunde liegenden Algorithmen – trotzdem insofern einen Beitrag zum technischen Charakter einer computerimplementierten Erfindung leisten, als sie an die interne Funktionsweise des Computers bzw. des Computersystems oder -netzwerks angepasst ist (siehe Amicus-curiae-Schriftsatz (6), Seite 6 und auch T 697/17). Simulationen können sogar Rechenkapazitäten erfordern, die ein Standardcomputer nicht bieten kann (so könnten sich z. B. Turbulenzen oder Moleküle nur mittels Quanteninformatik simulieren lassen). Technische Verbesserungen an Simulationen als solchen könnten auch durch spezielle Details der Implementierungssoftware erreicht werden.
116. Allerdings müssen sämtliche derartigen Implementierungsdetails für die Hard- oder Software in der Patentanmeldung offenbart sein. Um sich für die Zwecke des Artikels 56 EPÜ auf eine auf Implementierungsdetails basierende technische Verbesserung zu stützen, sollten diese Implementierungsdetails in den betreffenden Patentansprüchen als beschränkende Merkmale genannt sein, weil die Ansprüche anderenfalls Ausführungsformen einschließen würden, die nicht zu der behaupteten technischen Verbesserung führen (siehe T 939/92).
117. Die Beurteilung, ob ein Merkmal zum technischen Charakter einer computerimplementierten Erfindung beiträgt oder nicht, ist für computerimplementierte Simulationen vermutlich keine andere als für sonstige computerimplementierte Erfindungen. So gibt es beispielsweise computerimplementierte Verfahren für die Vorhersage des Zustands eines (technischen oder nichttechnischen) Systems, die nicht als Simulationen bezeichnet werden können, aber in Bezug auf ihren technischen Charakter trotzdem dieselben Probleme aufwerfen.
c) Relevanz der technischen Natur des simulierten Systems oder Verfahrens
118. Alles, was eine Simulation tut, ist Informationen über das ihr zugrunde liegende Modell bereitzustellen. Ist das Modell ausreichend genau und in geeigneten Gleichungen und Algorithmen angemessen abgebildet, kann die Simulation Schlussfolgerungen über die modellierte physische Realität zulassen. Die der Vorlageentscheidung zugrunde liegende Erfindung mag sich auf Tests beziehen, wie ein bestimmtes – durch ein Modell abgebildetes – Bauwerk die Bewegung von "autonomen Einheiten" oder Fußgängern beeinflussen würde, wenn diese sich so bewegten, wie durch das Modell beschrieben. Sollte die Simulation zu einem anderen Ergebnis führen als in der "physischen Welt" durchgeführte Versuche, muss das Modell gegebenenfalls angepasst werden. In der Praxis werden Modelle optimiert, indem sie so angepasst werden, dass sie Daten erbringen, die die modellierte physische Realität genauer widerspiegeln.
119. Manche Simulationen technischer Systeme tragen möglicherweise nichts zur erfinderischen Tätigkeit bei. So könnte man beispielsweise davon ausgehen, dass die Simulation eines gespielten Billardballs in einem Computerspiel keine technische Aufgabe löst. Umgekehrt wären nach dem COMVIK-Ansatz Simulationen nichttechnischer Systeme denkbar (z. B. Wettersimulationen), die zur erfinderischen Tätigkeit beitragen.
120. Nach dem COMVIK-Ansatz ist es nicht entscheidend, ob das simulierte System oder Verfahren technisch ist oder nicht. Relevant ist vielmehr, ob die Simulation des Systems oder Verfahrens einen Beitrag zur Lösung einer technischen Aufgabe leistet. Diese Frage muss anhand derselben Kriterien wie für andere computerimplementierte Erfindungen beantwortet werden. Soll eine Simulation zur Verifizierung oder Verbesserung eines technischen Systems verwendet werden, dann wird natürlich das technische System (basierend auf den ihm zugrunde liegenden technischen Prinzipien) simuliert. Die bloße Berechnung des Verhaltens eines (technischen) Systems, die auf einem Computer existiert, und ihre numerischen Ausgabeergebnisse sollten jedoch nicht mit einer etwaigen technischen Wirkung des Simulationsverfahrens verwechselt werden.
121. Selbst wenn das simulierte System oder Verfahren technisch ist, muss es vor der Simulation zunächst in Modelle und Algorithmen (d. h. in nichttechnische Informationen) übersetzt werden. Erst nach diesem ersten Schritt können die nichttechnischen Informationen ein technisches System oder Verfahren abbilden. Solche Modelle und Algorithmen definieren in erster Linie zwingend zu erfüllende (nichttechnische) Vorgaben, die im Kontext des COMVIK-Ansatzes zu berücksichtigen sind. Je nachdem, ob sie zu einer etwaigen technischen Wirkung beitragen, die durch die beanspruchte Simulationserfindung erreicht wird, könnten sie tatsächlich bei der Beurteilung der erfinderischen Tätigkeit berücksichtigt werden oder nicht.
d) Argumente für eine Relevanz der technischen Natur des simulierten Systems oder Verfahrens
122. Im Laufe des Vorlageverfahrens ist vorgebracht worden, dass eine Simulation technischer Natur ist und technische Wirkungen hat, wenn der einschlägige Fachmann ein technischer Fachmann auf dem Gebiet des simulierten Systems oder Verfahrens ist (siehe z. B. die Äußerungen des EPA-Präsidenten, Nrn. 23 - 25). Dieses Vorbringen stützt sich teilweise auf T 817/16 (Nr. 3.12 der Entscheidungsgründe), wo der (technische) Fachmann herangezogen wurde, um zwischen technischen und nichttechnischen Merkmalen zu unterscheiden. Dieser Ansatz mag in einigen Fällen geeignet sein, kann sich jedoch in anderen als schwierig erweisen, in denen der Fachmann für die Simulation ein anderer ist als der für das System, welches durch das der Simulation zugrunde liegende Modell abgebildet wird. Der Fachmann ist für die erfinderische Tätigkeit relevant. Das in einem Simulationsverfahren abgebildete technische oder nichttechnische System gehört in der Regel zum Stand der Technik und bestimmt die Grundlage der Simulation. Außer in dem Fall, in dem dieses System verbessert (und nicht nur simuliert) werden soll, ist der Fachmann für das System weniger relevant als der Fachmann für die Simulation (und/oder ihre Funktion), die Gegenstand der Erfindung ist.
123. In mindestens einem Amicus-curiae-Schriftsatz wurde argumentiert, dass die Tatsache, dass auf den Bau bestimmter Prototypen verzichtet werden kann, eine technische Wirkung darstellt. Dieses Argument ist nicht überzeugend, denn die Entscheidung, einen Prototypen zu bauen oder nicht, ist eine von Menschen getroffene Geschäftsentscheidung. In ähnlicher Weise ließe sich argumentieren, dass die Vorhersage schlechten Wetters zu einer Verminderung des Kraftstoffverbrauchs führt. Diese technische Wirkung ist aber keine direkte Folge der Ausgabeergebnisse des Wettervorhersageverfahrens, sondern stellt sich nur dann ein, wenn Menschen z. B. die Entscheidung treffen, an einem regnerischen Tag auf geplante Ausflüge mit dem Auto zu verzichten.
124. Ein weiteres Argument, das die bestehende Rechtsprechung zu numerischen Simulationen teilweise untermauert (siehe oben B.II.d)) und auch in den Äußerungen des EPA-Präsidenten vorgebracht wurde, beruht auf einer Gleichsetzung des Simulationsergebnisses mit der beim Aufgabe-Lösungs-Ansatz zu betrachtenden "technischen Wirkung" (siehe Äußerungen des EPA-Präsidenten, Nr. 29). Das Argument, dass die technische Wirkung damit über die Computerimplementation der Simulation und ihr numerisches Ergebnis hinausgeht, wird unter anderem dann genutzt, wenn die Simulation als ein (Zwischen-)Schritt in der Herstellung eines technischen Systems beschrieben wird. Diesem Argument folgte der Bundesgerichtshof in seinem Beschluss "Logikverifikation" (X ZB 11/98, GRUR 2000, 498; siehe Vorlageentscheidung, Nr. 21 der Entscheidungsgründe). Nach Auffassung der Großen Beschwerdekammer sollten bei der Beurteilung der erfinderischen Tätigkeit jedoch nur diejenigen technischen Wirkungen berücksichtigt werden, die in den Ansprüchen zumindest impliziert sind. Führt das beanspruchte Verfahren zu einer Reihe von numerischen Werten, so hängt es von der weiteren Verwendung dieser Daten (die sich durch menschliches Eingreifen oder automatisiert in einem umfassenderen technischen Verfahren vollziehen kann) ab, ob die resultierende technische Wirkung bei der Beurteilung der erfinderischen Tätigkeit berücksichtigt werden kann. Wenn diese weitere Verwendung im Anspruch nicht zumindest implizit angegeben ist, wird sie für diesen Zweck außer Acht gelassen.
125. Mehrere Amicus-curiae-Schriftsätze beriefen sich auf T 769/92 (ABl. EPA 1995, 525) zur Stützung des Arguments, dass es für das Vorliegen einer technischen Aufgabe ausreicht, wenn dem simulierten System oder Verfahren technische Prinzipien zugrunde liegen. Leitsatz I dieser Entscheidung nennt als Erfordernis, dass "die erfindungsgemäße Lösung der Aufgabe in ihren Einzelheiten technische Überlegungen erforderlich macht". Wie in der Vorlageentscheidung erwähnt, wurde dieses Kriterium in T 769/92 genutzt, um die Hürde der Schutzfähigkeit nach Artikel 52 (2) c) und (3) EPÜ anzuwenden, da diese Entscheidung noch dem "Beitragsansatz" folgte (siehe Vorlageentscheidung, Nr. 34 der Entscheidungsgründe mit Verweis auf G 3/08, Nrn. 10.6 und 10.7 der Begründung). Es trifft zwar zu, dass bei den beiden Hürden des COMVIK-Ansatzes ähnliche Überlegungen zur "Technizität" angestellt werden (siehe oben B.II.c) und G 3/08, Nr. 10.13.1 der Begründung), relevant für Artikel 56 EPÜ ist jedoch die zweite Hürde. Danach müssen sich sämtliche technischen Überlegungen auf die Erfindung beziehen, d. h. auf die Simulation, statt auf den Stand der Technik einschließlich des simulierten Systems oder Verfahrens. Die gegebenenfalls zum Verständnis des simulierten Systems oder Verfahrens erforderlichen technischen Überlegungen sind nicht unbedingt relevant dafür, ob die Erfindung durch Erzeugung einer technischen Wirkung eine technische Aufgabe löst. Nach dem COMVIK-Ansatz sollten "technische Überlegungen" zu einem Beitrag zum technischen Charakter der Erfindung selbst führen. Auf computerimplementierte Simulationen angewendet, können nur technische Überlegungen, die sich auf einen potenziellen Beitrag zum technischen Charakter der Simulation beziehen, für die Beurteilung der erfinderischen Tätigkeit relevant sein.
126. Offenbar wurden in T 769/92 – viele Jahre vor COMVIK – bereits ähnliche Prinzipien angewandt. Die dieser Entscheidung zugrunde liegenden Ansprüche betrafen eine computerimplementierte Erfindung zur Verwendung in einem geschäftlichen Umfeld (siehe die unter Nr. V des Sachverhalts und der Anträge zitierten Ansprüche 1 und 2: "zumindest eine Finanz- und eine Bestandsverwaltung"). Die dortige Kammer hatte es für irrelevant erachtet, ob sich die die "Verwaltung" betreffenden Merkmale auf die Verwaltung von Geschäftsprozessen oder von technischen Verfahren bezogen, hatte aber erklärt, dass der Patentierbarkeitsausschluss nicht für Erfindungen gilt, "wenn technische Überlegungen zu den Einzelheiten der Erfindungsausführung angestellt werden müssen" (Nrn. 3.2 und 3.3 der Entscheidungsgründe). Die beanspruchte Erfindung zeichnete sich insbesondere durch die unabhängige Verwaltung zweier verschiedener Arten von Daten über eine einzige gemeinsame Benutzeroberfläche in Form eines "Buchungsbelegs" aus (Nrn. 3.7 und 3.8 der Entscheidungsgründe). Mit anderen Worten: die im Leitsatz der Entscheidung erwähnten "technischen Überlegungen" betrafen nicht die Art der verarbeiteten Daten oder den geschäftlichen oder technischen Kontext, in dem die Erfindung umgesetzt wurde, sondern technische Überlegungen, die im Zusammenhang mit der Implementierung der Datenverarbeitung erforderlich waren.
IV. Vorhandene Rechtsprechung zu Simulationen
127. Die eindeutig am häufigsten zitierte Entscheidung in diesem Verfahren ist T 1227/05. Die dortige Anmeldung betraf computergestützte Verfahren zur numerischen Simulation von Schaltkreisen, die 1/f-Rauscheinflüssen unterworfen sind; die Lösung beruhte auf der Erkenntnis, dass ein 1/f-Rauschen simuliert werden kann, indem geeignete Zufallszahlen in das Schaltkreismodell eingespeist werden. Nach Auffassung der dortigen Kammer ermöglichten die einfache Erzeugung der Zufallszahlen und die Möglichkeit, sie separat vor Beginn der Schaltkreissimulation zu berechnen, eine ressourcenschonende Computersimulation (Nr. 1.3 der Entscheidungsgründe). Bei ihrer Analyse nach Artikel 56 EPÜ wandte die Kammer ausdrücklich den COMVIK-Ansatz an und befand, dass die Simulation eines Schaltkreises, der 1/f-Rauscheinflüssen unterworfen ist, einen hinreichend bestimmten technischen Zweck einer computerimplementierten Erfindung darstellte, "sofern sichergestellt ist, dass das Verfahren auf den technischen Zweck funktional beschränkt ist" (Nr. 3.1 der Entscheidungsgründe). In Anbetracht der funktionalen Beschränkung des Verfahrens auf die Simulation eines rauschbehafteten Schaltkreises kam sie zu dem Schluss, dass eine solche Simulation als funktionales technisches Merkmal gelten konnte (Nrn. 3.1.1 und 3.1.2 der Entscheidungsgründe). Außerdem stellte sie klar, dass die Metaangabe eines (unbestimmten) technischen Zwecks nicht als ausreichend gelten kann. Diesbezüglich verwies sie auf den ursprünglich eingereichten Anspruch 4, der auf ein Verfahren zur Simulation eines technischen Systems gerichtet war, das 1/f-Rauscheinflüssen unterworfen ist, und der im Beschwerdeverfahren nicht aufrechterhalten worden war (Nr. 3.1.1 der Entscheidungsgründe).
128. Die Große Beschwerdekammer kann nachvollziehen, dass die dortige Kammer in diesem speziellen Fall zu dem Schluss gekommen ist, dass die Wirkung der beanspruchten Simulation als technische Wirkung akzeptiert werden könnte, hatte sie doch den "konkreten" und "beschränkten" Zweck der Ausgabeergebnisse des beanspruchten Simulationsverfahrens betont, dem für die Zwecke des Artikels 52 EPÜ technischer Charakter zuerkannt wurde (siehe Überschrift von Nr. 3 der Entscheidungsgründe). Im Rahmen ihrer Schlussfolgerungen verwies sie nicht ausdrücklich auf ihre oben genannte Feststellung, dass das beanspruchte Verfahren eine ressourcenschonende Computersimulation ermöglichte. Nach Auffassung der Großen Beschwerdekammer können berechnete numerische Daten, die das physische Verhalten eines in einem Computer modellierten Systems widerspiegeln, nach dem COMVIK-Ansatz normalerweise nicht den technischen Charakter einer Erfindung begründen, selbst wenn das berechnete Verhalten das Verhalten des der Simulation zugrunde liegenden realen Systems adäquat widerspiegelt. Solche berechneten Wirkungen können nur in Ausnahmefällen als implizite technische Wirkungen angesehen werden (z. B. wenn sich die potenzielle Verwendung solcher Daten auf technische Zwecke beschränkt, siehe oben E.I.f)). Im vorliegenden Kontext ist es nicht Aufgabe der Großen Beschwerdekammer, die Entscheidung T 1227/05 neu zu bewerten, die in Bezug auf die konkreten Umstände des Einzelfalls getroffen worden ist, oder darüber zu urteilen, ob der von der vorlegenden Kammer vertretene Standpunkt von T 1227/05 abweichen würde. Wie vorstehend erwähnt (siehe Nr. 127), hat sich die Kammer in T 1227/05 bei ihrer Entscheidung nicht allein auf ihre Feststellung gestützt, dass das simulierte System ein technisches System war und nur durch entsprechende technische Überlegungen zu verstehen und zu modellieren war.
129. Die Sache T 625/11 betraf ein Verfahren zur Ermittlung mindestens eines Grenzwerts für mindestens einen Betriebsparameter eines Kernreaktors mittels eines Computersystems, wobei das Verfahren einen Simulationsschritt umfasste und numerische Werte für einen oder mehrere Grenzwerte lieferte, z. B. für die Gesamtleistung P des Reaktors. Die dortige Kammer befasste sich eingehend mit den Technizitätserfordernissen des COMVIK-Ansatzes und berücksichtigte dabei Argumente sowohl für eine Bejahung als auch für eine Verneinung der Frage, ob die Berechnung von Grenzwerten der beanspruchten Erfindung technischen Charakter verlieh (Nrn. 7 und 8.4 der Entscheidungsgründe). Eines der behandelten Hauptargumente für eine Verneinung dieser Frage war, dass Ansprüche, die keine technische Anwendung der berechneten Werte enthielten, auch Verwendungen zu nichttechnischen Zwecke einschließen würden, z. B. durch Behörden oder zu Bildungszwecken (Nrn. 7.2.6 und 8.1 der Entscheidungsgründe). Folglich konnte der beanspruchte Gegenstand nicht über den gesamten Schutzbereich des Anspruchs für erfinderisch befunden werden (Nr. 7.2.6 der Entschei-dungsgründe mit Verweis auf T 939/92; siehe auch oben E.I.b)).
130. Die Kammer in T 625/11 gelangte jedoch zu dem Ergebnis, dass die relevanten Fragen dieselben wie in T 1227/05 waren und folgte letztlich den dortigen Schlussfolgerungen, indem sie bejahte, dass die berechneten Grenzwerte für den Betrieb eines Kernreaktors der Erfindung technischen Charakter verliehen (Nr. 8.4 der Entscheidungsgründe).
131. Behandelt wurde in T 625/11 auch das Kriterium der technischen oder nichttechnischen Natur des dort simulierten Systems vor dem Hintergrund der Entscheidungen T 531/09 und T 1265/09, die beide Simulationen betrafen, die die Kammer aber von T 1227/05 abgrenzte, weil die simulierten Gegenstände in diesen beiden Fällen nichttechnisch waren (Nr. 8.3 der Entscheidungsgründe). Die Entscheidung T 531/09 betraf ein Computersystem zur Simulation "eines Sicherheitskontrollpunktes zur Überprüfung von Personen und ihres Handgepäcks" beispielsweise an einem Flughafen. Die dortige Kammer hatte entschieden, dass die im Zusammenhang mit der Simulation des Kontrollpunktes modellierten technischen Verzögerungen nichttechnischer Art sind (d. h. nicht mit den technischen Details der für den Kontrollpunkt verwendeten Röntgengeräte oder Metalldetektoren zusammenhingen) und dass das beanspruchte Verfahren daher ein nichttechnisches ist (Nrn. 4 und 5 der Entscheidungsgründe). Die Entscheidung T 1265/09 betraf computerimplementierte Verfahren zum Bestimmen eines effizienten Einsatzplans für mehrere eingeplante Bearbeiter in einem Telefon-Callcenter. Die Wirkung eines effizienten Einsatzplans wurde als Geschäftsziel eingestuft, das nicht zwangsläufig technische Wirkungen implizierte (Nr. 1.4 der Entscheidungsgründe). Es scheint, als ob die negative Beurteilung nach Artikel 56 EPÜ in beiden Entscheidungen mit dem Fehlen einer durch die Simulation erzeugten technischen Wirkung begründet worden ist (oder hätte begründet werden können) und nicht mit der nichttechnischen Natur des simulierten Systems. Ein weiteres Beispiel in diesem Zusammenhang ist T 1798/13, die ein Verfahren zur Vorhersage des Werts eines wetterbasierten strukturierten Finanzprodukts basierend auf der Eingabe realer Wetterdaten und der Berechnung einer Wetterprognose betraf. Die dortige Kammer befand, dass das Wetter kein technisches, sondern ein physikalisches System ist, das zur Illustration seiner Funktionsweise modelliert werden kann, und widersprach dem Argument der Beschwerdeführerin, dass die Verbesserung der Zuverlässigkeit und Vorhersagekraft von Wetterdaten eine technische Aufgabe sei (Nrn. 2.10 und 2.11 der Entscheidungsgründe). Zu ergänzen wäre vielleicht, dass eine verbesserte Wettervorhersage sicherlich nicht zum technischen Charakter der Erfindung beitragen kann, wenn der Anspruch auf die Vorhersage des Werts eines Finanzprodukts gerichtet ist, wohl aber dazu beitragen könnte, wenn die Wettervorhersagedaten z. B. zum automatischen Öffnen und Schließen von Fensterläden an einem Gebäude verwendet würden. In T 1798/13 wurde auch auf die Entscheidung T 2331/10 Bezug genommen, in der unter anderem erörtert worden war, ob der Betrieb von Windturbinen auf der Grundlage von Wetterprognosen technischen oder geschäftlichen Zwecken dient.
132. Wie bereits im einleitenden Teil der vorliegenden Entscheidung erwähnt (siehe oben B.II.e)), hat sich die Frage der Patentierbarkeit von Simulationen als solchen bislang nicht sehr oft gestellt, zum Teil weil sie sich umgehen lässt, indem Verfahrensschritte beansprucht werden, die der Erfindung eindeutig technischen Charakter verleihen. Von den Fällen, in denen sich diese Frage gestellt hat, folgte die Kammer in T 625/11 der Entscheidung T 1227/05, während andere Kammern von diesen beiden Entscheidungen abwichen (siehe z. B. T 2331/10, Nr. 5.4 der Entscheidungsgründe).
133. Die Große Beschwerdekammer stimmt mit den Feststellungen in T 1227/05 und T 625/11 überein, wenn sie so verstanden werden, dass die beanspruchten Simulationsverfahren in diesen konkreten Fällen eine dem Wesen nach technische Funktion besitzen. Bei der Betrachtung potenzieller oder lediglich berechneter technischer Wirkungen allerdings gelten nach dem COMVIK-Ansatz eher strikte Beschränkungen (siehe oben E.I.d) - g)). Das viel zitierte Kriterium aus T 1227/05, wonach die Simulation einen hinreichend bestimmten technischen Zweck für ein numerisches Simulationsverfahren darstellt, wenn Letzteres auf diesen technischen Zweck funktional beschränkt ist, sollte nicht als ein allgemein geltendes Kriterium des COMVIK-Ansatzes für computerimplementierte Simulationen verstanden werden, denn die Feststellungen in T 1227/05 beruhten auf konkreten, eben nicht allgemeingültigen Umständen.
134. Der Großen Beschwerdekammer ist keine Rechtsprechung zu computerimplementierten Simulationen bekannt, die als Teil eines Entwurfsverfahrens beansprucht wurden (Vorlagefrage 3). Zu Entwurfsverfahren jedoch ist im vorliegenden Verfahren Rechtsprechung angeführt worden, und zwar insbesondere die Entscheidungen T 453/91 und T 471/05. In der ersten Entscheidung waren die für gewährbar befundenen Verfahrensansprüche auf Verfahren zur Herstellung von Halbleiterchips gerichtet, die zwei Schritte umfassten: a) Entwurf und b) Herstellung des Chips (Ansprüche 3 und 4 des zugrunde liegenden Patents EP 0 271 596). Soweit es die gegenwärtige Vorlage betrifft, waren die Ansprüche also nicht auf Entwurfsverfahren "als solche" gerichtet. Die Ergänzung um einen Herstellungsschritt wäre natürlich ein Argument, das nach dem – später entwickelten – COMVIK-Ansatz für die Patentierbarkeit spräche. In der zweiten Entscheidung T 471/05 war ein Verfahren zum Entwurf eines optischen Systems, das ein Optik-Design-Programm nutzte, für patentierbar befunden worden (Anspruch 1 des zugrunde liegenden Patents EP 0 932 845). Durch die Ergänzung, dass das Verfahren mittels eines Computerprogramms ausgeführt werde, wurden die nach Artikel 52 EPÜ erhobenen Einwände ausgeräumt (Nr. 4.1 der Entscheidungsgründe). Allerdings ging die dortige Kammer in ihrer Erörterung der erfinderischen Tätigkeit weder auf die technische oder nichttechnische Natur des Verfahrens und seiner Schritte noch in anderer Form auf den COMVIK-Ansatz ein (Nr. 4.3 der Entscheidungsgründe). Diese Entscheidung ist also für die Vorlagefragen im gegenwärtigen Fall von begrenztem Nutzen. Was die Vorlagefrage 3 angeht, gibt es also nach Erkenntnis der Großen Beschwerdekammer keine bestehende Rechtsprechung.
135. Im Laufe des Vorlageverfahrens wurde auf bestimmte nationale Entscheidungen Bezug genommen, insbesondere auf den Beschluss "Logikverifikation" des Bundesgerichtshofs vom 13. Dezember 1999 (X ZB 11/98) und das Urteil Halliburton ./. Comptroller-General of Patents [2011] EWHC 2508 (Pat) des High Court of England and Wales (siehe Vorlageentscheidung, Nrn. 46 und 48 der Entscheidungsgründe). Nachdem die Vorlagefragen aber ausschließlich im Rahmen des COMVIK-Ansatzes zu behandeln sind, der in der Rechtsprechung der Beschwerdekammern speziell dafür etabliert wurde und den nationalen Entscheidungen nicht zugrunde liegt, hält es die Große Beschwerdekammer nicht für angebracht, auf Letztere im Detail einzugehen.
V. Schlussfolgerungen zur Anwendung des COMVIK-Ansatzes auf Simulationen
136. Nach Auffassung der Großen Beschwerdekammer ist der COMVIK-Ansatz für die Beurteilung computerimplementierter Simulationen geeignet. Wie alle anderen computerimplementierten Erfindungen auch, können numerische Simulationen patentierbar sein, wenn die erfinderische Tätigkeit auf Merkmale gestützt werden kann, die zum technischen Charakter des beanspruchten Simulationsverfahrens beitragen.
137. Wird der COMVIK-Ansatz auf Simulationen angewendet, so geben die zugrunde liegenden Modelle Grenzen vor, die technischer oder nichttechnischer Art sein können. Was die Simulation selbst angeht, sind diese Grenzen nichttechnisch. Sie können aber zur Technizität beitragen, wenn sie z. B. Anlass zur Anpassung des Computers oder seiner Funktionsweise geben oder die Grundlage für eine weitere technische Verwendung der Ergebnisse der Simulation bilden (z. B. für eine Verwendung mit Auswirkungen auf die physische Realität). Um zu vermeiden, dass für nicht patentierbare Gegenstände Patentschutz gewährt wird, muss diese weitere Verwendung zumindest implizit im Anspruch angegeben sein. Dasselbe gilt für etwaige Anpassungen des Computers oder seiner Funktionsweise.
138. Dieselben Überlegungen gelten auch für Simulationen, die als Teil eines Entwurfsverfahrens beansprucht werden. Ein Entwurfsverfahren ist normalerweise eine kognitive Tätigkeit. Doch lässt sich nicht ausschließen, dass es in Zukunft Fälle geben wird, in denen Schritte innerhalb eines Entwurfsverfahrens Simulationen umfassen, die zum technischen Charakter der Erfindung beitragen. Zudem ist "Entwurf" kein eindeutig definierter Begriff, und es könnte durchaus Softwarefunktionen geben, die mit einem "Entwurf" assoziiert werden können oder sogar zu einem solchen führen.
F. Schlussfolgerungen für die Vorlagefragen
I. Frage 1 – Lösung einer technischen Aufgabe durch eine Simulation als solche
139. Keine Gruppe computerimplementierter Erfindungen kann von vornherein vom Patentschutz ausgeschlossen werden. Schon allein aus diesem Grund ist Frage 1 zu bejahen. Außerdem erfordert der COMVIK-Ansatz eine Beurteilung des technischen Beitrags der einzelnen Merkmale von computerimplementierten Erfindungen. Wie jedes andere computerimplementierte Verfahren kann auch eine Simulation ohne eine Ausgabe, die eine direkte Verbindung zur physischen Realität hat, trotzdem eine technische Aufgabe lösen.
II. Frage 2b – Technische Prinzipien als hinreichende Bedingung
140. Mit dem COMVIK-Ansatz ist etabliert worden, dass – je nach technischem Kontext – Merkmale, die per se nichttechnisch sind, trotzdem zum technischen Charakter einer beanspruchten Erfindung beitragen können, genauso wie umgekehrt Merkmale, die per se technisch sind, nicht zwangsläufig dazu beitragen müssen. In ähnlicher Weise kann die Simulation nichttechnischer Verfahren zum technischen Charakter einer Erfindung beitragen, während die Simulation eines technischen Verfahrens unter Umständen nicht dazu beiträgt.
141. Eine Simulation beruht zwangsläufig auf den technischen Prinzipien, die dem simulierten System oder Verfahren zugrunde liegen. Selbst wenn diese Prinzipien als technisch beschrieben werden können, hat die Simulation nicht zwangsläufig einen technischen Charakter. Würde es für die Zwecke der Frage 2B genügen, dass die Simulation auf technischen Prinzipien beruht, dann hätten computerimplementierte Simulationen eine privilegierte Stellung in der umfassenderen Gruppe der computerimplementierten Erfindungen, ohne dass es dafür eine Rechtsgrundlage gäbe. Frage 2B ist daher zu verneinen, was bedeutet, dass auch für numerische Simulationen im Einzelfall zu prüfen ist, ob die üblichen "Technizitätskriterien", die für computerimplementierte Erfindungen gelten, erfüllt sind.
142. Eine numerische Simulation, die zur technischen Lösung einer technischen Aufgabe beiträgt, kann sogar nichttechnische Aspekte wie menschliches Verhalten abbilden, das sich z. B. durch spieltheoretische Modelle beschreiben lässt. Würde die Tatsache, dass ein simuliertes System oder Verfahren auf nichttechnischen Prinzipien beruht, zwangsläufig bedeuten, dass die Simulation keinen technischen Charakter haben kann, würde das dazu führen, dass eine bestimmte Gruppe numerischer Simulationen benachteiligt würde, ohne dass es dafür eine Rechtsgrundlage gäbe. Vor diesem Hintergrund ist die Große Beschwerdekammer der Auffassung, dass es weder eine hinreichende noch eine notwendige Bedingung ist, dass eine numerische Simulation zumindest teilweise auf technische Prinzipien gestützt wird, die dem simulierten System oder Verfahren zugrunde liegen.
III. Frage 3 – Simulation als Teil eines Entwurfsverfahrens
143. Nach Auffassung der Großen Beschwerdekammer bezieht sich Frage 3 auf Ansprüche, in denen ein Entwurfsverfahren, insbesondere ein Verfahren zur Überprüfung eines Entwurfs, ausdrücklich erwähnt ist. Ein Entwurfsverfahren ist normalerweise eine kognitive Tätigkeit. Nach dem COMVIK-Ansatz jedoch und je nach dem technischen Kontext können Merkmale, die sich auf einen Entwurf beziehen, zum technischen Charakter einer beanspruchten Erfindung beitragen oder nicht.
144. Die Große Beschwerdekammer sieht keine Notwendigkeit, besondere Regeln anzuwenden, wenn eine Simulation als Teil eines Entwurfsverfahrens beansprucht wird. Jegliche Sonderbehandlung solcher Kombinationen würde zu Abgrenzungsproblemen führen, da "Entwurf" kein eindeutiges Kriterium ist und der Begriff selbst in einem Anspruch auf ein Entwurfsverfahren noch nicht einmal genannt sein muss. Zudem könnte es Unsicherheiten bezüglich der Anwendbarkeit solcher besonderen Regeln geben, da Entwurfsschritte in Kontexten beansprucht werden könnten, die keine Simulationen umfassen.
G. Entscheidungsformel
Aus diesen Gründen wird entschieden, dass die der Großen Beschwerdekammer vorgelegten Rechtsfragen wie folgt zu beantworten sind:
1. Für die Zwecke der Beurteilung der erfinderischen Tätigkeit kann eine computerimplementierte Simulation eines technischen Systems oder Verfahrens, die als solche beansprucht wird, durch Erzeugung einer technischen Wirkung, die über die Implementierung der Simulation auf einem Computer hinausgeht, eine technische Aufgabe lösen.
2. Für diese Beurteilung ist es keine hinreichende Bedingung, dass die Simulation ganz oder teilweise auf technische Prinzipien gestützt wird, die dem simulierten System oder Verfahren zugrunde liegen.
3. Die erste und zweite Frage sind auch dann nicht anders zu beantworten, wenn die computerimplementierte Simulation als Teil eines Entwurfsverfahrens beansprucht wird, insbesondere für die Überprüfung eines Entwurfs.