Article 77
Référence : JO OEB 2021, A77
Date de publication en ligne: 30.9.2021
CHAMBRES DE RECOURS
Décision de la Grande Chambre de recours, en date du 10 mars 2021 - G 1/19
(Traduction)
Composition de la Chambre :
Président :
C. Josefsson
Membres :
F. Blumer
G. Eliasson
A. Aslan
I. Beckedorf
T. Bokor
A. Ritzka
Requérant (demandeur) :
Bentley Systems (UK) Limited
Référence :
Simulation de flux de piétons
Dispositions juridiques pertinentes :
Articles 52(1), 52(2), 52(3), 56, et 112(1)a) CBE
Droit d'États non contractants :
États-Unis : Titre 35 du Code des États-Unis (U.S.C.), article 101
Décisions citées de juridictions nationales :
Allemagne : X ZB 15/67 (Rote Taube) et X ZB 11/98 (Logikverifikation) de la Cour fédérale allemande de justice (Bundesgerichtshof)
Mot-clé :
"Recevabilité de la saisine - (oui)" – "Dispositions transitoires de la CBE 2000" – "Brevetabilité des simulations assistées par ordinateur"
Sommaire :
1. Une simulation assistée par ordinateur d'un système ou d'un procédé technique, qui est revendiquée en tant que telle, peut, aux fins de l'appréciation de l'activité inventive, résoudre un problème technique en produisant un effet technique allant au-delà de la mise en œuvre par ordinateur de la simulation.
2. Pour l'appréciation précitée, il ne suffit pas que la simulation repose, en tout ou en partie, sur des principes techniques qui sous-tendent le système ou le procédé simulé.
3. Les réponses à la première et à la deuxième question ne sont pas différentes lorsque la simulation assistée par ordinateur est revendiquée comme faisant partie d'un procédé de conception, notamment dans un but de vérification d'une conception.
Table des matières
A. Résumé de la procédure
I. Questions soumises
II. La demande de brevet en cause
III. Procédure d'examen / décision contestée
IV. Procédure de recours
V. Procédure devant la Grande Chambre de recours
B. Contexte juridique
I. Dispositions de la CBE
II. Jurisprudence constante en ce qui concerne les inventions mises en œuvre par ordinateur, y compris les simulations
a) Exigences prévues à l'article 52 CBE
b) Approche COMVIK de la brevetabilité des inventions mises en œuvre par ordinateur
c) Avis G 3/08
d) Approche des "deux obstacles"
e) Jurisprudence concernant la brevetabilité des simulations
C. Interprétation des questions soumises
I. "Simulation assistée par ordinateur" et "procédé de modélisation mis en œuvre par ordinateur"
II. "Système ou procédé technique" et "principes techniques qui sous-tendent le système ou le procédé simulé"
III. "Problème technique" et "effet technique allant au-delà de la mise en œuvre de la simulation"
IV. "Simulation assistée par ordinateur en tant que telle"
D. Recevabilité de la saisine
I. Conditions de recevabilité
II. Critères pour apprécier la recevabilité des questions soumises
a) Distinction entre questions de droit et questions de fait
b) Nécessité de répondre aux questions soumises pour statuer sur le recours
c) Nécessité d'assurer une application uniforme du droit
d) Question de droit d'importance fondamentale
e) Incidence des réponses apportées par la Grande Chambre aux questions soumises
III. Recevabilité des questions soumises
a) Question 1
b) Question 2A
c) Question 2B
d) Question 3
E. Brevetabilité des simulations assistées par ordinateur
I. Technicité telle qu'exigée par la jurisprudence relative aux inventions mises en œuvre par ordinateur
a) Que signifie le terme "technique" ?
b) Application de l'approche des "deux obstacles" pour établir la technicité des inventions mises en œuvre par ordinateur
c) Aspects liés à la technicité des inventions mises en œuvre par ordinateur
d) Lien direct avec une réalité physique
e) Effets techniques potentiels
f) Effets techniques virtuels ou calculés
g) Critère de l'"effet tangible"
II. Caractéristiques d'une simulation
III. Application de l'approche COMVIK aux simulations assistées par ordinateur
a) Éléments constitutifs d'une simulation assistée par ordinateur
b) Caractéristiques techniques d'une "simulation en tant que telle"
c) Pertinence de la nature technique du système ou du procédé simulé
d) Arguments à l'appui de la pertinence de la nature technique du système ou du procédé simulé
IV. Jurisprudence actuelle concernant les simulations
V. Conclusions en ce qui concerne l'application de l'approche COMVIK aux simulations
F. Conséquences pour les questions soumises
I. Question 1 – Problème technique résolu par une simulation en tant que telle
II Question 2b – Principes techniques comme condition suffisante
III. Question 3 – Simulation faisant partie d'un procédé de conception
G. Dispositif
A. Résumé de la procédure
I. Questions soumises
1. Par sa décision intermédiaire T 489/14, en date du 22 février 2019 (JO OEB 2019, A86, ci-après dénommée la "décision de saisine"), la chambre de recours technique 3.5.07 (ci-après dénommée la "chambre à l'origine de la saisine") a soumis, en application de l'article 112(1)a) CBE, les questions de droit suivantes (ci-après dénommées les "questions soumises") à la Grande Chambre de recours (ci-après dénommée la "Grande Chambre") pour décision :
1. Aux fins de l'appréciation de l'activité inventive, la simulation assistée par ordinateur d'un système ou d'un procédé technique peut-elle résoudre un problème technique en produisant un effet technique allant au-delà de la mise en œuvre par ordinateur de la simulation, lorsque cette simulation assistée par ordinateur est revendiquée en tant que telle ?
2. [2A] S'il est répondu par l'affirmative à la première question, quels sont les critères pertinents pour déterminer si une simulation assistée par ordinateur, revendiquée en tant que telle, résout un problème technique ? [2B] En particulier, suffit-il pour cela que la simulation repose, au moins en partie, sur des principes techniques qui sous-tendent le système ou le procédé simulé ?
3. Comment faut-il répondre à la première et à la deuxième question lorsque la simulation assistée par ordinateur est revendiquée comme faisant partie d'un procédé de conception, notamment dans un but de vérification d'une conception ?
(La numérotation [2A] et [2B] a été ajoutée par la Grande Chambre.)
II. La demande de brevets en cause
2. La demande de brevet européen 03793825.5, publiée en tant que demande internationale WO 2004/023347, s'intitule "Simulation du déplacement d'une entité autonome dans un environnement". L'invention porte en particulier sur la modélisation et la simulation des déplacements d'un piéton dans un environnement. La simulation du déplacement d'un piéton individuel peut s'intégrer à la simulation du mouvement d'une foule de piétons dans un bâtiment. La modélisation d'un bâtiment et la simulation du mouvement d'une foule à l'intérieur de ce bâtiment peuvent être utiles pour vérifier si la conception du bâtiment répond à certaines exigences, par exemple en cas d'évacuation d'un stade ou d'une gare ferroviaire.
3. Alors que l'état de la technique, tel que décrit dans la demande de brevet, utilise à ces fins des modèles macroscopiques (par exemple en assimilant une foule de piétons à un milieu quasi uniforme, comme un liquide, sans tenir compte des piétons individuels), l'approche utilisée dans la demande concernée repose sur la modélisation d'un piéton individuel ayant sa propre intention individuelle de parvenir à une destination, un profil personnel – qui peut comprendre une vitesse de marche préférée et/ou une longueur de pas – ainsi qu'un espace personnel qui l'entoure et dans lequel l'absence d'obstacles (constructions ou autres piétons) est recherchée.
4. La revendication 1 de la demande telle qu'initialement déposée s'énonce comme suit :
"1. Procédé de simulation du déplacement d'une entité autonome dans un environnement, ledit procédé comprenant les étapes suivantes :
fournir un trajet provisoire dans un modèle de l'environnement entre un emplacement actuel et une destination cible ;
fournir un profil de ladite entité autonome ;
déterminer sur la base dudit profil et dudit trajet provisoire un pas préféré dans la direction de ladite destination cible ;
définir un espace personnel autour de ladite entité autonome ;
établir s'il est possible d'effectuer ledit pas préféré en déterminant si des obstructions empiètent sur ledit espace personnel."
5. La simulation du mouvement d'une foule implique d'appliquer une telle simulation d'un pas unique, effectué par un individu, à un nombre important d'individus, et de répéter ce processus pour un nombre important de pas. La demande de brevet contient de nombreux paramètres qui peuvent être utilisés pour perfectionner le modèle de déplacement d'un piéton.
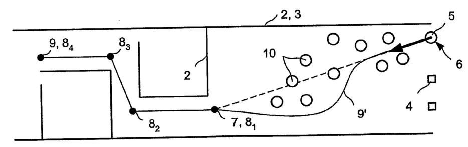
6. À titre d'exemple simple, la figure 2 de la demande de brevet montre comment un piéton (5) est susceptible de se déplacer d'un point de départ (6) vers une destination finale (9), en contournant les murs (2) et d'autres obstacles fixes (4) tout en évitant les autres piétons (10).

7. Certains aspects de la simulation reposent non seulement sur des frontières physiques (comme les murs d'un "environnement" ou d'un bâtiment), mais aussi sur des considérations afférentes au comportement humain, tel que "l'espace personnel" au sein duquel aucun obstacle n'est toléré.
III. Procédure d'examen / décision contestée
8. Au cours de la procédure d'examen, les procédés revendiqués ont été restreints, notamment par la mention selon laquelle les procédés étaient "mis en œuvre par ordinateur", et par une limitation supplémentaire des paramètres sous-tendant le "pas préféré" effectué par l'entité autonome.
9. La division d'examen, dans la décision par laquelle elle a rejeté la demande de brevet, a fait valoir que seule l'utilisation d'un ordinateur contribuait au caractère technique du procédé revendiqué. Par conséquent, le problème technique à résoudre consistait, tel qu'il était formulé, à mettre en œuvre de manière technique un procédé de simulation du déplacement d'une entité autonome dans un environnement, ledit procédé comprenant les étapes définies dans la revendication pertinente. La solution à ce problème, à savoir l'utilisation d'un ordinateur, était dépourvue d'activité inventive.
IV. Procédure de recours
10. Dans son recours contre le rejet de sa demande de brevet, le requérant a fait valoir en particulier que les étapes de procédé de l'invention revendiquée constituaient des caractéristiques techniques ou des paramètres physiques. Même si les étapes du procédé étaient considérées comme étant non techniques, elles contribuaient néanmoins au caractère technique de l'invention puisqu'elles produisaient un effet technique du fait de leur interaction avec l'ordinateur. Il a été renvoyé à l'affaire T 641/00 (COMVIK, JO OEB 2003, 352), ainsi qu'à l'affaire T 1227/05 (JO OEB 2007, 574) qui portait sur des simulations.
11. Dans sa notification accompagnant la citation à une procédure orale, la chambre à l'origine de la saisine a estimé que les étapes constitutives du procédé revendiqué étaient non techniques en soi et qu'elles ne pouvaient contribuer au caractère technique de la revendication que dans la mesure où leur combinaison interagissait avec les caractéristiques techniques de la revendication pour produire un effet technique. Un tel effet technique peut être présent si la conception des étapes de simulation est motivée par des considérations techniques liées au fonctionnement interne de l'ordinateur sur lequel la simulation est mise en œuvre, ou si l'effet technique s'inscrit dans l'objectif global du procédé revendiqué. La chambre à l'origine de la saisine tendait à considérer que le procédé de simulation revendiqué ne répondait pas à un objectif technique et ne contribuait donc pas au caractère technique de l'invention.
12. La revendication 1 selon la requête principale à la base de la décision de saisine s'énonce comme suit (les références étant supprimées) :
"1. Procédé mis en œuvre par ordinateur de modélisation du mouvement d'une foule de piétons dans un environnement, ledit procédé comprenant :
la simulation du mouvement de plusieurs piétons dans l'environnement, caractérisée en ce que la simulation du mouvement de chaque piéton comprend les étapes suivantes :
fournir un trajet provisoire dans un modèle de l'environnement entre un emplacement actuel et une destination cible ;
fournir un profil dudit piéton ;
déterminer sur la base dudit profil et dudit trajet provisoire un pas préféré du piéton vers une position préférée dans la direction de ladite destination cible, la détermination dudit pas préféré comprenant la détermination d'une fonction d'insatisfaction qui exprime le coût du pas effectué et correspond à la somme d'une fonction d'inconfort, exprimant un coût de déviation par rapport à une direction donnée, et d'une fonction de frustration, exprimant un coût de déviation par rapport à une vitesse donnée ;
définir un périmètre autour de ladite position préférée ;
identifier des obstructions situées dans ledit périmètre, lesdites obstructions englobant d'autres piétons ainsi que des obstacles fixes ;
définir un espace personnel autour dudit piéton ;
établir s'il est possible d'effectuer le pas préféré en déterminant si les obstructions empiètent sur ledit espace personnel pendant que le pas préféré est effectué."
13. La revendication 1 selon la première requête subsidiaire diffère de la revendication 1 selon la requête principale en ce que le terme "environnement" est remplacé par "construction".
14. La deuxième requête subsidiaire diffère de la première requête subsidiaire en ce que des précisions sont ajoutées concernant la vitesse de marche du piéton.
15. La revendication 1 selon la troisième requête subsidiaire diffère de la revendication 1 selon la deuxième requête subsidiaire en ce que le texte suivant est ajouté à la fin de la revendication :
"et afficher le mouvement simulé sous la forme d'une série de captures successives indiquant l'emplacement actuel de chaque piéton dans le modèle au fur et à mesure de sa progression".
16. La quatrième requête subsidiaire diffère des requêtes de rang supérieur en ce qu'elle fait référence à des procédés de conception itérative d'une construction. La revendication 1 selon cette requête diffère par ailleurs de la revendication 1 selon la troisième requête subsidiaire d'une part en ce que le début de la revendication (le texte figurant avant "fournir un trajet provisoire") est remplacé par le texte suivant :
"1. Procédé de conception d'une construction, ledit procédé comportant :
la fourniture d'un modèle de ladite construction ;
la simulation assistée par ordinateur du mouvement de plusieurs piétons dans ladite construction, caractérisée en ce que la simulation du mouvement de chaque pas du piéton comprend les étapes suivantes :"
et, d'autre part, en ce que le texte suivant est ajouté à la fin de la revendication :
"et réviser ledit modèle de ladite construction en fonction du mouvement des piétons."
17. La cinquième requête subsidiaire est elle aussi fondée sur la troisième requête subsidiaire, revendiquant des procédés de modélisation des mouvements d'une foule de piétons. La revendication 1 selon cette requête subsidiaire diffère de la revendication 1 selon la troisième requête subsidiaire en ce que le texte suivant est inséré avant "et afficher le mouvement simulé" :
"si le pas préféré n'est pas réalisable, :
déterminer une zone dans laquelle un pas de compromis est recherché, la détermination de cette zone dans laquelle un pas de compromis est recherché comprenant l'adaptation des paramètres du pas du piéton pour déterminer cette zone en fonction d'une mémoire de conditions antérieures ; et
déterminer si au moins un pas de compromis est réalisable ;".
V. Procédure devant la Grande Chambre de recours
18. En application de l'article 9 du règlement de procédure de la Grande Chambre de recours (RPGCR), le Président de l'Office européen des brevets a été invité par lettre du 7 mai 2019 à présenter ses observations par écrit sur les questions de droit soumises à la Grande Chambre. Les observations du Président ont été présentées par lettre datée du 27 août 2019.
19. En mai 2019, la Grande Chambre a publié une communication concernant la procédure G 1/19 (JO OEB 2019, A50), dans laquelle elle a invité les tiers à présenter des observations écrites conformément à l'article 10 RPGCR. En septembre 2019, 23 amici curiae avaient répondu à cette invitation. Leurs observations sont publiées sur le site Internet de la Grande Chambre à l'adresse "epo.org/law-practice/case-law-appeals/eba_fr.html" et il y sera désormais renvoyé selon la numérotation suivante :
(1) Philips International B.V.
(2) Siemens AG
(3) Swen Kiesewetter-Köbinger
(4) FEMIPI – Fédération européenne des mandataires de l'industrie en propriété intellectuelle
(5) CIPA – Chartered Institute of Patent Attorneys
(6) Patentanwaltskammer
(7) Bundesverband Deutscher Patentanwälte
(8) IBM United Kingdom Ltd.
(9) epi – Institut des mandataires agréés près l'Office européen des brevets
(10) FICPI – Fédération internationale des conseils en propriété intellectuelle
(11) ipo – Intellectual Property Owners Association
(12) VPP – Association des Experts en Propriété Industrielle
(13) MAGMA Gießereitechnologie GmbH
(14) Reinier B. Bakels
(15) IP Federation
(16) Martin Wilming
(17) Altair IP
(18) Bardehle Pagenberg
(19) CNCPI – Compagnie Nationale des Conseils en Propriété Industrielle
(20) AIPPI – Association internationale pour la protection de la propriété intellectuelle
(21) Michael M. Fischer
(22) Stefan Schohe
(23) efpia – Fédération européenne des associations de l'industrie pharmaceutique
20. À de rares exceptions près, les amici curiae ayant formulé des observations relèvent de l'une des catégories suivantes :
i) professionnels indépendants en matière de brevets (principalement des conseils en brevets) et associations de tels professionnels ;
ii) grandes entreprises et associations représentant l'industrie qui sont favorables à une conception large de la brevetabilité des simulations assistées par ordinateur et d'autres inventions mises en œuvre par ordinateur.
21. Par lettre datée du 1er septembre 2019, le requérant a présenté des observations sur les questions soumises et a demandé la tenue d'une procédure orale. La date de la procédure orale a été fixée au 15 juillet 2020. En vue de la préparation de cette procédure orale, la Grande Chambre a émis une notification le 22 juin 2020. Celle-ci récapitulait brièvement et sous une forme simplifiée les approches retenues dans les observations d'amicus curiae à l'appui de la brevetabilité des simulations assistées par ordinateur, et énumérait plusieurs questions que la Grande Chambre jugeait pertinentes aux fins de la procédure orale.
22. Au cours de la procédure orale, les représentants du requérant et du Président de l'OEB se sont adressés à la Grande Chambre.
B. Contexte juridique
23. Il n'est pas possible de comprendre les questions soumises et d'examiner la recevabilité de la saisine sans se référer au cadre juridique applicable (y compris à la jurisprudence pertinente). La Grande Chambre présente donc ci-après un aperçu des dispositions applicables de la CBE et de l'interprétation qui en est faite par les chambres de recours et la Grande Chambre de recours.
I. Disposition de la CBE
24. Conformément à l'article 52(1) CBE, "les brevets européens sont délivrés pour toute invention dans tous les domaines technologiques, à condition qu'elle soit nouvelle, qu'elle implique une activité inventive et qu'elle soit susceptible d'application industrielle." La référence à "tous les domaines technologiques" a été introduite dans le cadre de la révision de la CBE (CBE 2000) afin d'aligner l'article 52 CBE sur l'article 27 de l'Accord sur les aspects des droits de propriété intellectuelle qui touchent au commerce (Accord sur les ADPIC). Cette modification spécifie d'une part que la protection par brevet est réservée aux créations dans le domaine de la technique (voir JO OEB, édition spéciale 4/2007, 54). L'objet revendiqué doit présenter un "caractère technique", ou - pour donner une définition plus précise - avoir pour objet "un enseignement pratique en matière technique", c'est-à-dire qu'il doit enseigner à l'homme du métier comment s'y prendre pour résoudre un problème technique donné en mettant en œuvre certains moyens techniques (Proposition de base pour la révision de la CBE, document MR/2/00, page 43, point 4). D'autre part, l'expression "tous les domaines technologiques" reflète le fait que l'Accord sur les ADPIC ne vise pas à exclure les inventions techniques de la brevetabilité, quel que soit le domaine technologique auquel elles appartiennent et donc, notamment, ne vise pas à exclure des programmes d'ordinateur, tels qu'ils figurent dans la liste des inventions non brevetables dressée à l'article 52(2)c) CBE (T 1173/97, JO OEB 1999, 609, point 2.3 des motifs). Dans la proposition de base pour la révision de la CBE, il est indiqué explicitement que les programmes d'ordinateur sont eux aussi évalués à la lumière des considérations susmentionnées concernant le caractère technique des inventions (page 43, point 4).
25. L'article 52(2) CBE comporte une liste non exhaustive de "non-inventions", c'est-à-dire d'objets qui ne peuvent pas être considérés comme une invention au sens de l'article 52(1) CBE (T 154/04, JO OEB 2008, 46, points 6 et 8 des motifs). Sont notamment compris dans cette liste "les plans, principes et méthodes dans l'exercice d'activités intellectuelles, en matière de jeu ou dans le domaine des activités économiques, ainsi que les programmes d'ordinateur" (article 52(2)c) CBE). Même si les "non-inventions" figurant à l'article 52(2)c) CBE couvrent un large éventail d'exclusions, elles ont en commun de se référer à des activités qui ne visent pas à obtenir directement un effet technique, mais qui ont plutôt un caractère abstrait et intellectuel (T 22/85, JO OEB 1990, 12, point 2 des motifs). L'article 52(3) CBE limite l'exclusion de la brevetabilité des éléments énumérés à l'article 52(2) CBE aux cas où ces éléments sont "considérés en tant que tels." Cette limitation est interprétée comme faisant obstacle à une interprétation extensive des "non-inventions" répertoriées à l'article 52(2) CBE (G 2/12, JO OEB 2016, A27, point VII.2(3)b) des motifs, avant-dernier paragraphe, qui renvoie à la décision T 154/04, point 6 des motifs).
26. L'article 56 CBE fournit une définition négative de l'"activité inventive" telle qu'exigée par l'article 52(1) CBE en énonçant qu'une invention est considérée comme impliquant une activité inventive "si, pour un homme du métier, elle ne découle pas d'une manière évidente de l'état de la technique." L'approche dite "problème-solution", qui comporte les étapes décrites ci-dessous, a été développée en vue d'apprécier l'activité inventive d'une manière objective et prévisible :
i) déterminer "l'état de la technique le plus proche" ;
ii) évaluer les résultats (ou effets) techniques obtenus par l'invention revendiquée par rapport à "l'état de la technique le plus proche" qui a été déterminé ;
iii) définir le problème technique que l'invention se propose de résoudre, l'objet de l'invention étant d'obtenir ces résultats techniques ; et
iv) examiner si la solution revendiquée, en partant de l'état de la technique le plus proche et du problème technique objectif, aurait été évidente pour l'homme du métier (voir, par exemple, La Jurisprudence des Chambres de recours, 9e éd. 2019, I.D.2).
27. La demande de brevet à la base de la présente saisine a été déposée en 2003, soit avant l'entrée en vigueur de la CBE 2000. L'Acte portant révision de la CBE, du 29 novembre 2000 ("acte de révision", JO OEB 2001, édition spéciale n°4, 3), dispose à l'article 7 ("Dispositions transitoires") que le texte révisé de la CBE s'applique à toutes les demandes de brevet européen déposées après son entrée en vigueur (soit après le 13 décembre 2007) et qu'il ne s'applique pas aux demandes en instance à cette date, "à moins que le Conseil d'administration de l'Organisation européenne des brevets n'en dispose autrement". En application de l'article 7(2) de l'acte de révision, le Conseil d'administration a pris sa décision du 28 juin 2001 relative aux dispositions transitoires au titre de l'article 7 de l'acte de révision ("Dispositions transitoires", JO OEB 2001, édition spéciale n°4, 139). L'article premier, point 1, de ces dispositions transitoires contient une liste des articles révisés de la CBE qui "sont applicables aux demandes de brevet européen pendantes ainsi qu'aux brevets européens déjà délivrés à la date de leur entrée en vigueur ". Étant donné que cette liste comprend l'article 52 CBE, le texte révisé de l'article 52(1), (2) et (3) CBE s'applique à la demande en cause. En ce qui concerne les articles de la CBE qui ne sont pas expressément mentionnés dans les dispositions transitoires, la chambre à l'origine de la saisine a apparemment appliqué le texte de la CBE 2000. La Grande Chambre ne voit aucune raison de s'écarter de la décision de saisine à cet égard et conclut que les articles révisés ou adaptés de la CBE sont applicables à toutes fins dans le cadre de la présente saisine.
II. Jurisprudence constante en ce qui concerne les inventions mises en œuvre par ordinateur, y compris les simulations
a) Exigences prévues à l'article 52 CBE
28. Une méthode faisant intervenir des moyens techniques constitue une invention au sens de l'article 52(1) CBE. Cette appréciation est faite sans que l'état de la technique soit pris en compte (T 258/03, JO OEB 2004, 575, point I du sommaire et points 4.1 à 4.7 des motifs ; T 388/04, JO OEB 2007, 16, point I du sommaire ; T 1082/13, point 1.1 des motifs). Cette approche a parfois été appelée l'approche "any technical means" (tout moyen technique) ou "any hardware" (tout matériel) (voir référence dans l'avis G 3/08, JO OEB 2011, 10, point 10.6 des motifs).
29. Selon la jurisprudence constante, une revendication portant sur une invention mise en œuvre par ordinateur échappe à l'exclusion prévue par l'article 52 CBE simplement en mentionnant l'utilisation d'un ordinateur, d'un support d'enregistrement de données déchiffrables par ordinateur, ou d'un autre moyen technique (T 697/17, point 3.4 des motifs). Une caractéristique technique peut être décrite de manière très abstraite ou de manière fonctionnelle, et il peut apparaître implicitement qu'une méthode revendiquée est mise en œuvre par ordinateur et qu'elle est donc technique (T 697/17, points 3.3 et 3.5 des motifs). Cela étant, la simple possibilité de recourir à un ordinateur non spécifié pour mettre en œuvre une méthode revendiquée ne suffit pas pour conclure à l'utilisation de moyens techniques aux fins de l'article 52 CBE (T 388/04, point 3 des motifs).
b) Approche COMVIK de la brevetabilité des inventions mises en œuvre par ordinateur
30. La jurisprudence des chambres de recours concernant l'application des articles 52, 54 et 56 CBE dans le cadre des éléments exclus de la brevetabilité en vertu de l'article 52(2) CBE a été résumée dans la décision T 154/04 (point 5 des motifs ; voir également observations d'amicus curiae (1)) par les principes suivants :
A) L'article 52(1) CBE énonce les quatre exigences que doit remplir une invention pour être brevetable : il doit s'agir d'une "invention" et, si tel est le cas, celle-ci doit satisfaire aux exigences de nouveauté, d'activité inventive et d'applicabilité industrielle.
B) Une condition implicite d'une "invention" au sens de l'article 52(1) CBE est qu'elle doit présenter un caractère technique (critère de "technicité").
C) L'article 52(2) CBE n'exclut de la brevetabilité aucun objet ou activité possédant un caractère technique, même si cet objet ou cette activité se rapporte à des éléments énumérés dans cet article, étant donné que ces éléments sont seulement exclus "en tant que tels" (article 52(3) CBE).
D) Les quatre exigences (invention, nouveauté, activité inventive et applicabilité industrielle) sont pour l'essentiel des critères de brevetabilité distincts et indépendants, qui peuvent donner lieu à des objections concomitantes. La nouveauté, notamment, n'est pas une condition à remplir pour qu'il y ait invention au sens de l'article 52(1) CBE, mais une exigence de brevetabilité distincte.
E) Lors de l'examen de la brevetabilité d'une invention faisant l'objet d'une revendication donnée, il convient d'interpréter la revendication en vue de déterminer les caractéristiques techniques de l'invention, c.-à-d. les caractéristiques qui contribuent au caractère technique de l'invention.
F) Une revendication peut à la fois comprendre des caractéristiques techniques et "non techniques", les caractéristiques "non techniques" pouvant même constituer la majeure partie de l'objet revendiqué. Toutefois, la nouveauté et l'activité inventive ne peuvent reposer que sur des caractéristiques techniques, qui doivent donc être clairement définies dans la revendication. Les caractéristiques "non techniques" qui n'interagissent pas avec l'objet technique de la revendication aux fins de résoudre un problème technique, c.-à-d. les caractéristiques non techniques "en tant que telles", n'apportent pas de contribution technique à l'état de la technique et ne sont donc pas prises en compte lors de l'examen de la nouveauté et de l'activité inventive.
G) Aux fins de l'approche problème-solution, le problème doit être un problème technique que l'homme du métier du domaine technique concerné pouvait être amené à résoudre à la date de priorité. Il est possible de formuler le problème technique au moyen d'un objectif à atteindre dans un domaine non technique, cet objectif ne faisant par conséquent pas partie de la contribution technique de l'invention à l'état de la technique. À cet effet, on peut en particulier définir une contrainte à respecter (même si l'objectif provient d'une connaissance a posteriori de l'invention).
31. Les principes F) et G) ci-dessus avaient été posés dans la décision T 641/00 (COMVIK), dont le sommaire s'énonce comme suit :
1. Lorsqu'une invention se compose d'un ensemble de caractéristiques techniques et non techniques et qu'elle présente globalement un caractère technique, l'exigence d'activité inventive doit être appréciée en tenant compte de toutes les caractéristiques qui contribuent audit caractère technique, les caractéristiques qui n'apportent pas une telle contribution ne pouvant étayer l'existence d'une activité inventive.
2. Bien que la formulation du problème technique à résoudre ne doive ni comporter d'indices de solution ni anticiper partiellement la solution, une caractéristique donnée n'est pas automatiquement exclue de la formulation du problème au seul motif qu'elle figure dans la revendication. En particulier, lorsque la revendication se réfère à un but à atteindre dans un domaine non technique, ce but peut légitimement être énoncé dans la formulation du problème en tant que partie du cadre dans lequel s'inscrit le problème technique à résoudre, notamment en tant que contrainte à respecter.
Les principes énoncés dans le sommaire précité concernant le traitement des caractéristiques non techniques lors de l'appréciation de l'activité inventive des inventions mises en œuvre par ordinateur seront désignés ci-après sous l'appellation "approche COMVIK".
32. Dans ce contexte, on entend par "caractéristiques non techniques" les caractéristiques qui, en tant que telles, seraient considérées comme des "non-inventions" en vertu de l'article 52(2) CBE. La question de savoir si de telles caractéristiques contribuent au caractère technique de l'invention doit être évaluée au regard de l'invention dans son ensemble.
33. La même méthode d'évaluation s'applique aux caractéristiques qui peuvent être considérées comme étant techniques en soi, celles-ci ne contribuant pas nécessairement à la solution technique d'un problème technique. Une invention peut comporter i) des caractéristiques techniques qui contribuent, ii) des caractéristiques techniques qui ne contribuent pas, iii) des caractéristiques non techniques qui contribuent, et iv) des caractéristiques non techniques qui ne contribuent pas à la solution technique d'un problème technique, et donc éventuellement à la présence ou non d'une activité inventive. Si les cas de figure i) et iv) s'expliquent d'eux-mêmes, le cas de figure iii) vise des caractéristiques établies par la jurisprudence précitée (principe F) : caractéristiques non techniques qui interagissent avec l'objet technique de la revendication pour résoudre un problème technique). Le cas de figure ii) se présente quant à lui lorsque des caractéristiques qui sont en soi de nature technique ne peuvent pas contribuer à l'activité inventive puisqu'elles ne remplissent aucune fonction technique dans le contexte de l'invention revendiquée (voir, par exemple, T 619/02, JO OEB 2007, 63, points 2.2 et 2.6.2 des motifs, concernant des parfums). Même avant que l'approche COMVIK ne soit établie, les modifications non fonctionnelles sur le plan technique pouvaient être considérées comme dépourvues de pertinence aux fins de l'appréciation de l'activité inventive (même si elles pouvaient être jugées techniques en soi) (voir T 72/95, point 5.4 des motifs).
34. L'approche COMVIK a été élaborée pour permettre l'application de l'approche problème-solution aux inventions mises en œuvre par ordinateur qui englobent des caractéristiques non techniques (voir principe F) ci-dessus). Il a été relevé dans des affaires ultérieures que l'approche COMVIK n'est pas en contradiction avec l'approche problème-solution, mais qu'elle constitue une application spécifique de cette approche aux inventions qui comportent à la fois des caractéristiques techniques et des caractéristiques non techniques (T 1503/12, point 3.3 des motifs).
c) Avis G 3/08
35. Dans la procédure G 3/08, la Présidente de l'OEB avait soumis des questions relatives à la brevetabilité des inventions mises en œuvre par ordinateur à la Grande Chambre de recours. Cette saisine était irrecevable au motif qu'il n'avait pas été satisfait aux conditions prévues par l'article 112(1)b) CBE (avis G 3/08 du 12 mai 2010, JO OEB 2011, 10).
36. Dans son avis, la Grande Chambre de recours a néanmoins pris position sur la jurisprudence alors applicable. Après avoir déclaré qu'il n'appartenait pas à la Grande Chambre de recours d'évaluer si le système exposé dans l'affaire T 154/04 était correct, elle a fait observer que les chambres "s'accommodent généralement plutôt bien" de l'approche COMVIK et a conclu que la jurisprudence, telle que résumée dans l'affaire T 154/04, a "créé un système praticable pour délimiter les innovations susceptibles d'être brevetées" (G 3/08, points 10.13.1 et 10.13.2 des motifs). Dans l'avis G 3/08, la Grande Chambre de recours a établi une distinction entre les activités purement cognitives et les activités techniques, mais elle a précisé (voir points 13.2 et 13.3 des motifs) que les activités intellectuelles (par exemple la conception d'une bicyclette ou la programmation d'un ordinateur) peuvent aussi impliquer des considérations techniques. Eu égard à la pertinence des caractéristiques non techniques dans le cadre de l'approche COMVIK, il a été relevé dans l'avis G 3/08 que la liste des "non-inventions" figurant à l'article 52(2) CBE peut jouer un rôle très important pour la détermination de l'activité inventive de l'objet revendiqué (point 10.13.1 des motifs).
d) Approche des "deux obstacles"
37. Pour être brevetable, toute invention doit d'une part être du type, tel que prévu par l'article 52 CBE, susceptible de protection par brevet (elle ne doit pas figurer dans la liste des "non-inventions" dressée par cet article) et satisfaire d'autre part aux autres critères mentionnés dans cet article (nouveauté, activité inventive, etc.). En ce qui concerne les inventions mises en œuvre par ordinateur, le test en deux volets destiné à établir si elles sont du type susceptible de protection par brevet et si elles impliquent une activité inventive (selon les critères COMVIK) est souvent appelé l'approche des "deux obstacles" (voir par exemple l'exposé de W. Chandler intitulé "Brevetabilité des inventions mises en œuvre par ordinateur : état des lieux et développements", JO OEB, Publication supplémentaire 5/2015, 73).
38. Il se peut que l'importance relative de chacun de ces obstacles ait évolué en ce sens qu'il est désormais plus aisé de franchir l'obstacle à la protection prévu par l'article 52 CBE (voir point B.II.a) ci-dessus), mais plus difficile de franchir celui de l'activité inventive prévu par l'article 56 CBE (voir point B.II.b) ci-dessus). En raison de cette évolution, on peut dire que dans les faits, il existe désormais une étape intermédiaire supplémentaire consistant à déterminer si "une caractéristique est susceptible de contribuer à l'activité inventive".
39. Pour les inventions mises en œuvre par ordinateur, l'approche des "deux obstacles" comporte en réalité trois étapes. Déterminer si une caractéristique contribue au caractère technique d'une invention constitue une étape intermédiaire entre i) celle qui consiste à déterminer si l'invention est du type susceptible de protection par brevet au titre de l'article 52 CBE, et ii) celle qui consiste à déterminer si l'invention implique une activité inventive par rapport à l'état de la technique le plus proche. Cette étape intermédiaire supplémentaire, qui sert de filtre, permet de détecter les caractéristiques qui contribuent à la solution technique d'un problème technique compte tenu de l'état de la technique le plus proche. Seules ces caractéristiques distinctives peuvent contribuer à l'activité inventive.
e) Jurisprudence concernant la brevetabilité des simulations
40. L'affaire T 1227/05 concernait une simulation numérique d'un circuit électronique soumis à un bruit 1/f permettant d'économiser des ressources (voir aussi l'analyse au point E.IV. ci-dessous). Les revendications pertinentes prévoyaient le calcul d'un vecteur de sortie du circuit à l'aide d'un modèle, d'un vecteur d'entrée et d'un vecteur de bruit. Se fondant sur l'affaire T 641/00 (COMVIK), la chambre a notamment estimé que la simulation constituait un objectif technique suffisamment défini d'un procédé assisté par ordinateur, dans la mesure où le procédé se limitait fonctionnellement à cet objectif technique (point 3.1 des motifs). Le comportement des composantes du circuit électronique était décrit au moyen d'équations différentielles et constituait bel et bien une classe suffisamment définie d'objets techniques, dont la simulation pouvait être une caractéristique technique fonctionnelle (point 3.1.1 des motifs). Un effet technique a été reconnu à la simulation même si l'invention revendiquée n'englobait pas le produit final sous forme matérielle (point 3.4.2 des motifs).
41. Dans la décision T 625/11, la chambre qui statuait a suivi le raisonnement retenu dans la décision T 1227/05, après avoir toutefois analysé en détail les arguments susceptibles de s'y opposer. L'affaire T 625/11 portait sur un procédé mis en œuvre par ordinateur permettant de déterminer une valeur limite d'un paramètre de fonctionnement d'un réacteur nucléaire à partir d'une simulation du réacteur. Il a été conclu que la détermination d'un paramètre de fonctionnement d'un réacteur nucléaire à partir d'une simulation contribuait au caractère technique de l'invention, même si l'utilisation de cette valeur limite pour le fonctionnement du réacteur nucléaire n'était pas revendiquée (décision de saisine, point 37 des motifs ; T 625/11, point 8.4 des motifs).
42. Les observations d'amicus curiae en faveur de la brevetabilité des simulations numériques considérées en tant que telles s'appuient principalement sur les deux décisions citées dans les deux paragraphes précédents. Il a été avancé que le faible nombre de décisions relatives à la brevetabilité des simulations peut tenir au fait que les demandeurs font souvent le choix d'éviter la question critique (l'obstacle intermédiaire décrit ci-dessus) en revendiquant des étapes qui engendrent clairement un effet technique en tant que produit de la simulation revendiquée. Dans l'affaire T 1842/10, par exemple, il a été relevé que les procédés de modélisation ou de simulation qui ne visaient qu'à obtenir des connaissances sur le fonctionnement d'un système technique réel ne répondaient pas à un objectif technique. Cette conclusion n'était toutefois pas déterminante, étant donné que les revendications selon la requête principale alors en instance, présentée au cours de la procédure orale, englobaient des caractéristiques qui étaient manifestement de nature technique (T 1842/10, point 5.3 des motifs). En particulier, la revendication de procédé en cause comprenait une étape dans laquelle l'ordinateur commandait un dispositif de contrôle de manière à influencer un volume d'acier réel (EP 1 711 868 B2, revendication 1, étape l ; voir aussi point 40 des motifs de la décision de saisine). Le demandeur/requérant dans l'affaire T 625/11 avait adopté une approche similaire : les revendications d'une requête subsidiaire englobaient une étape consistant à faire fonctionner le réacteur nucléaire réel objet de la simulation (T 625/11, point XII).
C. Interprétation des questions soumises
43. La portée des questions soumises, comprises à la lumière du cadre juridique pertinent, dépend de la manière dont sont interprétées ces questions, et notamment certaines des expressions qu'elles emploient. Ce dernier aspect est pertinent d'une part pour déterminer si toutes les conditions de recevabilité des questions sont remplies et d'autre part pour répondre aux questions soumises proprement dites.
I. "Simulation assistée par ordinateur" et "procédé de modélisation mis en œuvre par ordinateur"
44. Les questions soumises font référence aux "simulations assistées par ordinateur", alors que les revendications selon toutes les requêtes à la base de la décision de saisine, excepté la quatrième requête subsidiaire, font référence à des "procédés de modélisation mis en œuvre par ordinateur". Toutes les revendications déposées au cours de la procédure d'examen et ayant donné lieu à la décision de rejet par la division d'examen font référence uniquement aux simulations. Les revendications déposées avec le mémoire exposant les motifs du recours établissent une distinction entre les procédés de "modélisation du mouvement d'une foule de piétons" et la "simulation du mouvement de plusieurs piétons". Le requérant n'a pas fourni de raison particulière expliquant ce passage de la "simulation" à la "modélisation", si ce n'est en renvoyant à la demande initialement déposée, dans laquelle l'invention est décrite comme portant sur un "procédé de simulation du déplacement d'une entité autonome dans un environnement, destiné à être utilisé en particulier, mais pas exclusivement, dans un procédé de modélisation du mouvement d'une foule de piétons" (page 1, lignes 4 à 6). Ainsi, le terme "simulation" est employé pour désigner la simulation du déplacement d'un ou de plusieurs piétons individuels et le terme "modélisation" pour désigner la simulation du mouvement d'un groupe (ou d'une "foule") de piétons (voir, par exemple, la revendication 1 selon la requête principale à la base de la décision de saisine, point A.IV. ci-dessus). Il est supposé que le requérant a employé les termes "modélisation" et "simulation" de manière interchangeable dans ses revendications.
45. Dans les questions soumises, la chambre à l'origine de la saisine ne fait donc référence qu'aux "simulations". Sauf dans les cas où le requérant est cité, la décision de saisine ne mentionne les "modèles" ou la "modélisation" que dans le contexte de la modélisation du système devant être simulé (modèles des piétons ou de l'environnement). Selon la définition figurant au point 21 des motifs de la décision de saisine, on entend par simulation "une imitation approximative du fonctionnement d'un système ou procédé à partir d'un modèle de ce système ou procédé" (voir le point E.II. ci-dessous). Il en ressort que la réalisation d'un modèle est une condition préalable à toute simulation.
II. "Système ou procédé technique" et "principes techniques qui sous-tendent le système ou le procédé simulé"
46. Les questions soumises concernent la brevetabilité des simulations assistées par ordinateur d'un "système ou d'un procédé technique", autrement dit d'un système ou d'un procédé qui peut être considéré comme relevant d'un "domaine technologique" au sens de l'article 52 CBE.
47. Un "système ou procédé technique" suppose qu'un objet est créé ou qu'un procédé est exécuté dans un but donné, découlant de la créativité humaine (voir le point E.I.a) ci-dessous). La météo, à titre d'exemple inverse, n'est pas un système technique que l'homme du métier peut perfectionner, mais un système physique qui peut être modélisé de sorte que son fonctionnement soit représenté (voir T 1798/13, exergue). Cependant, lorsqu'un système ou un procédé est modélisé ou simulé, les mêmes lois de la nature et bases mathématiques sont applicables, que ce système ou procédé soit naturel ou technique. Dans l'un comme dans l'autre cas, les principes scientifiques (par exemple mathématiques ou physiques) sont mis en œuvre dans les limites définies par le système ou procédé (naturel ou technique) concerné.
48. La demande de brevet à la base de la présente saisine porte sur la simulation d'un procédé qui est modélisé à l'aide non seulement de paramètres techniques mesurables et physiques, mais aussi de facteurs humains comme une "fonction d'insatisfaction", une "fonction d'inconfort" et "une fonction de frustration". La chambre à l'origine de la saisine a toutefois expliqué pourquoi elle a reconnu un caractère technique aux procédés simulés (voir point 10 de la décision de saisine, où la chambre accepte l'argument du requérant selon lequel le mouvement de piétons peut être assimilé au mouvement d'électrons). La Grande Chambre n'a pas l'intention de s'écarter de l'interprétation retenue à cet égard par la chambre à l'origine de la saisine. Il convient d'interpréter de manière large les expressions "système ou procédé technique" et "principes techniques qui sous-tendent le système ou le procédé simulé". Dans le cadre de la saisine, ces expressions ne se rapportent pas à la simulation ni à la brevetabilité de la simulation, mais au système, au procédé et aux principes reflétés par la simulation.
III. "Problème technique" et "effet technique allant au-delà de la mise en œuvre de la simulation"
49. Ces expressions, contrairement à celles examinées dans le paragraphe précédent, se rapportent aux inventions portant sur une simulation et à la brevetabilité de ces inventions. La question de savoir si une simulation peut résoudre un problème technique en produisant un effet technique allant au-delà de la mise en œuvre par ordinateur de la simulation, ne peut être comprise que dans le contexte de l'approche COMVIK. En partant de l'état de la technique le plus proche, l'invention doit remplir les critères visés (ou présenter un "caractère technique") pour être considérée comme une invention technique. Les caractéristiques qui distinguent l'invention revendiquée de l'état de la technique le plus proche doivent contribuer à ce caractère technique pour être prises en compte en vertu de l'article 56 CBE. Si l'invention ne résout aucun problème technique, elle ne possède aucune caractéristique distinctive susceptible de contribuer à l'activité inventive.
50. Le critère de l'"effet technique allant au-delà de la mise en œuvre de la simulation" est interprété comme désignant "un effet technique supplémentaire" allant au-delà des interactions physiques "normales" existant entre le programme et l'ordinateur sur lequel il fonctionne (voir T 1173/97, point 13 des motifs ; G 3/08, point 10.2.1 des motifs).
51. Tout effet technique allant au-delà des interactions électriques normales à l'intérieur de l'ordinateur sur lequel la simulation est mise en œuvre peut entrer en ligne de compte aux fins de l'activité inventive. Selon la logique de l'approche COMVIK, un tel effet serait généralement un "effet technique sur une entité physique dans le monde réel" (voir le libellé de la question 3 dans l'avis G 3/08) ou un effet technique qui exige "un lien direct avec une réalité physique" (voir décision de saisine, point 11 des motifs), mais il pourrait également s'agir d'un autre effet, par exemple un effet technique obtenu au sein du système ou du réseau informatique (par exemple au moyen d'une adaptation du système informatique). L'expression "effet technique allant au-delà de la mise en œuvre de la simulation" peut ainsi être reformulée comme suit : "effet technique allant au-delà d'une simple mise en œuvre, ou d'une mise en œuvre non déterminée, de la simulation dans un système informatique classique", un tel effet pouvant à ce titre contribuer à une activité inventive dans le cadre de l'approche problème-solution.
IV. "Simulation assistée par ordinateur en tant que telle"
52. L'expression "simulation en tant que telle " fait écho à l'article 52(3) CBE qui n'exclut les "non-inventions" visées à l'article 52(2) CBE que dans la mesure où elles sont revendiquées "en tant que telles" (concernant la genèse de cette disposition, voir, par exemple, T 1924/17, points 17 à 19.4 des motifs). Les simulations ne sauraient toutefois être considérées comme constituant une "non-invention" supplémentaire en sus de celles énumérées à l'article 52(2) CBE. Les "simulations en tant que telles" seraient sinon automatiquement exclues de la brevetabilité.
53. La décision de saisine emploie également l'expression "une simulation au sens strict", définie comme une imitation approximative du fonctionnement d'un système ou procédé à partir d'un modèle de ce système ou procédé. Dans le cas d'une simulation assistée par ordinateur, le modèle n'existe que dans l'ordinateur et la simulation permet d'évaluer ou de prédire le fonctionnement du système ou du procédé modélisé (point 21 des motifs). Sur cette base, l'expression "simulation en tant que telle" assistée par ordinateur désigne, dans le sens où l'entend la Grande Chambre, un procédé de simulation qui ne comprend que des entrées et des sorties numériques (que celles-ci reposent ou non sur des paramètres physiques), c'est-à-dire qui n'interagit pas avec la réalité physique extérieure. À ce sujet, il convient de se reporter également à la définition donnée dans la note de bas de page 16 des observations présentées par écrit par le Président de l'OEB et reformulée comme suit par le représentant du Président au cours de la procédure orale : "revendications qui ne couvrent pas les étapes qui précèdent ou qui suivent la simulation". Par conséquent, les simulations physiques (comme les expériences en soufflerie) ne sont pas des simulations en tant que telles, pas plus que ne le sont des procédés qui englobent la mesure de valeurs physiques (comme la répartition de températures) utilisées ensuite à des fins de simulation lors d'étapes de procédé ultérieures (voir T 438/14 – procédé et caméra infrarouge permettant de déterminer le risque de condensation).
D. Recevabilité de la saisine
I. Conditions de recevabilité
54. Conformément à l'article 112(1)a) CBE, "[a]fin d'assurer une application uniforme du droit ou si une question de droit d'importance fondamentale se pose", une chambre de recours "soit d'office, soit à la requête de l'une des parties, saisit en cours d'instance la Grande Chambre de recours lorsqu'elle estime qu'une décision est nécessaire à ces fins."
55. Même si l'exigence selon laquelle deux chambres doivent avoir rendu des décisions divergentes dans le cas d'une saisine par le Président de l'OEB (article 112(1)b) CBE) ne s'applique pas aux saisines par les chambres de recours, ces dernières doivent en tout état de cause chercher à limiter autant que possible les incohérences dans la jurisprudence.
56. La Grande Chambre de recours doit examiner les conditions de recevabilité susvisées pour chacune des questions soumises (voir, par exemple, G 3/08 et G 2/19). Elle peut reformuler les questions soumises si, par exemple, cela est opportun et utile en vue de mieux traiter les questions juridiques soulevées (G 2/19, A.II ; G 1/12, JO OEB 2014, A114, point 16 des motifs ; G 3/19, JO OEB 2020, A119, point III des motifs).
II. Critères pour apprécier la recevabilité des questions soumises
a) Distinction entre questions de droit et questions de fait
57. Dans les observations d'un des amici curiae, il a été avancé à l'encontre de la recevabilité de la saisine que la question 2 était d'ordre factuel et non juridique. Il a notamment été affirmé que cette question était une question technique ayant trait aux principes techniques qui sous-tendent un système ou un procédé simulé, à laquelle il ne pouvait être répondu que sur la base des circonstances de l'affaire spécifique concernée (observations d'amicus curiae (13)).
58. L'"application uniforme du droit" aux demandes de brevet et aux brevets implique que pour toute disposition juridique donnée, un même ensemble de faits est évalué selon les mêmes critères et principes. En vue d'assurer une application uniforme du droit matériel des brevets, il est nécessaire dans la plupart des cas de décrire en des termes techniques les faits qui devraient entraîner une conséquence juridique spécifique. Indépendamment de la question de savoir si la première condition énoncée à l'article 112(1)a) CBE suppose une limitation absolue aux questions de droit, la Grande Chambre estime que les questions soumises sont de nature juridique ne serait-ce que parce que les aspects sous-jacents ont trait à l'interprétation du terme "technique" et à la notion de "domaine technologique", ce dernier terme étant employé à l'article 52(1) CBE dans le cadre d'une définition juridique complétée, à l'article 52(2) CBE, par une liste non exhaustive d'éléments "non techniques".
b) Nécessité de répondre aux questions soumises pour statuer sur le recours
59. Les questions soumises supposent que les systèmes et procédés qui sous-tendent les procédés de simulation assistée par ordinateur revendiqués sont de nature technique. Si les systèmes et procédés simulés n'étaient pas considérés comme étant techniques, les questions soumises ne seraient pas pertinentes pour l'affaire que la chambre à l'origine de la saisine est appelée à trancher.
60. La question de savoir si le mouvement de foules de piétons est d'ordre purement technique est discutable, étant donné qu'un tel mouvement de foule met en jeu des actions ou des décisions humaines, autant de facteurs qui sont exprimés dans les revendications par des paramètres tels que le "pas préféré", "l'espace personnel" ou la "fonction de frustration". Consciente de cette difficulté, la chambre à l'origine de la saisine a fourni des raisons solides justifiant pourquoi elle considère les systèmes et les procédés simulés comme étant de nature technique. La Grande Chambre ne voit aucune raison de revenir sur cette évaluation et part ainsi du principe que les systèmes et procédés simulés sont techniques et que les simulations revendiquées s'inscrivent dans le cadre des questions soumises.
61. Il peut en outre être déduit de toutes les questions soumises par la chambre à l'origine de la saisine que celle-ci, pour déterminer s'il est satisfait à l'exigence de l'activité inventive, appliquera l'approche COMVIK ou une méthode similaire (à savoir en recherchant les effets techniques produits par chacune des caractéristiques techniques et non techniques). Si de tels critères n'étaient pas appliqués et que l'exigence de l'activité inventive était examinée selon d'autres critères, il ne serait pas nécessaire aux fins de cette appréciation de répondre aux questions soumises. Or, l'approche COMVIK est depuis longtemps la méthode la plus couramment utilisée pour évaluer les inventions mises en œuvre par ordinateur et la Grande Chambre de recours l'a qualifiée de "système praticable" à cette fin (G 3/08, voir point B.II.c) ci-dessus). Au vu de ces circonstances, la Grande Chambre se garde d'empiéter sur le choix de l'approche COMVIK retenu par la chambre à l'origine de la saisine. Les réponses aux questions soumises sont pertinentes pour déterminer comment cette approche doit être appliquée. La question de savoir si ces réponses sont nécessaires afin de pouvoir statuer sur le recours doit être examinée tour à tour pour chacune des questions soumises (voir point D.I. ci-dessus).
c) Nécessité d'assurer une application uniforme du droit
62. La chambre à l'origine de la saisine estime que son avis sur la brevetabilité des procédés de simulation revendiqués s'écarte de la jurisprudence antérieure (en particulier de la décision T 1227/05, voir point A.IV. ci-dessus et le point 15 des motifs de la décision de saisine). La Grande Chambre comprend que la chambre à l'origine de la saisine veuille éviter des divergences dans la jurisprudence future concernant les simulations assistées par ordinateur (voir points 17 à 19 des motifs de la décision de saisine). La Grande Chambre reconnaît la nécessité de veiller à une harmonisation. La jurisprudence relative aux simulations assistées par ordinateur pourrait évoluer dans des directions différentes à l'avenir si un premier courant jurisprudentiel suit l'affaire T 1227/05 (telle qu'interprétée par la chambre à l'origine de la saisine) et si la chambre à l'origine de la saisine établit un autre courant jurisprudentiel fondé sur une solution qui, selon elle, s'écarte de la solution adoptée dans l'affaire T 1227/05. Il pourrait également se révéler nécessaire d'assurer une harmonisation au sein d'une catégorie plus large d'inventions mises en œuvre par ordinateur (voir, par exemple, les considérations de la chambre à l'origine de la saisine concernant l'exigence d'un lien direct avec la réalité physique, exigence qui pourrait être pertinente tant pour les simulations que pour d'autres inventions mises en œuvre par ordinateur).
d) Question de droit d'importance fondamentale
63. De nombreux tiers ont souligné dans leurs observations d'amicus curiae l'importance sur le plan économique des simulations assistées par ordinateur et ont fait observer que les questions soumises revêtent une importance fondamentale au regard des intérêts des demandeurs et de la manière dont ils orienteront leur future stratégie en matière de brevets dans ce domaine. Pourtant, jusqu'à présent, les chambres de recours n'ont été amenées à trancher la question de la brevetabilité des simulations assistées par ordinateur que dans un nombre réduit d'affaires. En tout état de cause, il est difficile d'évaluer dans quelle mesure les demandeurs revendiquent, en lieu et place d'une "simulation en tant que telle", d'autres procédés ou systèmes qui englobent des procédés de simulation ou sont adaptés à des fins de simulation. Dans un nombre indéterminé de cas, la question de la brevetabilité des "simulations en tant que telles" est contournée en introduisant dans les procédés revendiqués des étapes de procédé qui impliquent un lien direct avec une réalité physique (voir point B.II.e) ci-dessus). Les questions soumises peuvent également être pertinentes dans de tels cas. Ces éléments de réflexion doivent être pris en considération au regard de l'exigence liée à l'importance fondamentale d'une question de droit, exigence à laquelle il est satisfait si l'incidence de la question de droit soumise va au-delà de l'affaire spécifique concernée et que la question de droit est susceptible d'être pertinente dans un grand nombre d'affaires similaires (G 1/12, point 10 des motifs ; G 1/13, point 2.1 des motifs).
64. Certains tiers ont avancé dans leurs observations d'amicus curiae que les réponses aux questions soumises auraient une incidence sur la brevetabilité d'un large éventail d'inventions mises en œuvre par ordinateur autres que des simulations. Cependant, la question de savoir si une décision concernant les simulations pourrait avoir une incidence sur la brevetabilité d'autres inventions mises en œuvre par ordinateur est peu pertinente aux fins de la recevabilité de la présente saisine, car il est impossible de prévoir dans quelle mesure les conclusions de la Grande Chambre au sujet de la présente affaire influeront sur la jurisprudence future relative aux inventions mises en œuvre par ordinateur autres que des simulations.
e) Incidence des réponses apportées par la Grande Chambre aux questions soumises
65. Il n'est pas possible de comprendre les questions soumises sans se référer à la jurisprudence qui s'est développée au fil de décennies (COMVIK, voir point C.III. ci-dessus). Les critères utilisés dans les questions, comme celui du "problème technique" ou de l'"effet technique allant au-delà de la mise en œuvre de la simulation", ne sont pas des exigences qui ont été définies par le législateur, mais ont été établis par la seule jurisprudence. Ces critères doivent pouvoir encore évoluer à mesure que la technologie avance, et d'autres critères doivent même pouvoir se faire jour s'ils conduisent à des interprétations plus pertinentes du droit.
III. Recevabilité des questions soumises
a) Question 1
66. La question 1 concerne une question de droit d'importance fondamentale ; une réponse est nécessaire pour i) statuer sur le recours en instance selon la chambre à l'origine de la saisine, et ii) assurer une application uniforme du droit dans le domaine des simulations assistées par ordinateur. La question 1 est donc recevable.
b) Question 2A
67. La Grande Chambre estime qu'il n'est jamais possible de donner une liste exhaustive des critères (positifs ou négatifs, alternatifs ou cumulatifs) permettant de déterminer si un procédé mis en œuvre par ordinateur résout un problème technique en produisant un effet technique allant au-delà de la mise en œuvre par ordinateur dudit procédé. Cela vaut pour tous les procédés mis en œuvre par ordinateur, et non uniquement pour les simulations.
68. Par ailleurs, la chambre à l'origine de la saisine n'aura pas besoin d'une réponse à la question 2A pour statuer sur l'affaire concernée, s'il est répondu par la négative à la question 2B. Ladite chambre a précisé qu'en pareil cas, elle appliquerait sans difficulté les critères COMVIK et parviendrait probablement à une conclusion défavorable au titre de l'article 56 CBE. S'il est répondu par l'affirmative à la question 2B, il ne sera pas nécessaire d'établir d'autres critères, puisque le critère relatif aux principes techniques qui sous-tendent le système ou le procédé simulé suffira (voir point D.III.c) ci-dessous). Les questions soumises à la Grande Chambre de recours peuvent rester sans réponse si elles vont au-delà d'un véritable besoin de clarification ("Soweit die Vorlagefragen über den wirklichen Klärungsbedarf hinausgehen, können sie unbeantwortet bleiben.", G 2/19, point A.II des motifs).
69. Par conséquent, la question générale 2A concernant les critères permettant de "déterminer si une simulation assistée par ordinateur, revendiquée en tant que telle, résout un problème technique" est irrecevable.
c) Question 2B
70. La question 2B est plus spécifique que la question 2A en ce qu'elle retient un critère particulier pour déterminer si une simulation assistée par ordinateur revendiquée en tant que telle résout un problème technique. S'il est répondu par l'affirmative à la question 2B, il ne sera pas nécessaire de formuler d'autres critères aux fins de l'appréciation correspondante, dès lors qu'il est conclu que la simulation repose, au moins en partie, sur des principes techniques qui sous-tendent le système ou le procédé simulé. S'il est répondu par la négative à la question 2B, la chambre à l'origine de la saisine devra étudier la question de savoir si d'autres critères pourraient être utilisés pour établir le caractère technique (ou l'absence de caractère technique) de l'objet revendiqué. Une réponse à la question 2B fournira ainsi à la chambre à l'origine de la saisine les orientations nécessaires pour déterminer si d'autres critères doivent être envisagés. La question 2B est dès lors recevable.
71. La question 2B étant fondée sur la question 2A et ne pouvant être comprise qu'en lien avec cette dernière, la Grande Chambre a reformulé comme suit la question 2B (autrement dit la partie recevable de la question 2) :
"Pour déterminer si une simulation assistée par ordinateur, qui est revendiquée en tant que telle, résout un problème technique, suffit-il que la simulation repose, au moins en partie, sur des principes techniques qui sous-tendent le système ou le procédé simulé ?"
d) Question 3
72. Bien que la brevetabilité des simulations assistées par ordinateur soit au centre des questions soumises et de la demande de brevet concernée, la revendication 1 selon la quatrième requête subsidiaire porte sur un procédé de conception d'une construction. Le procédé revendiqué comprend la fourniture d'un modèle d'une construction donnée, la simulation du mouvement de piétons dans ladite construction, et la révision du modèle de ladite construction en fonction du mouvement des piétons (point A.IV ci-dessus). D'une part ce processus itératif constitue un procédé de conception, et d'autre part il englobe la vérification d'une conception. C'est pourquoi la Grande Chambre estime qu'il est nécessaire de répondre à la question 3 aux fins visées à l'article 112(1)a) CBE, à savoir pour assurer une application uniforme du droit ou pour clarifier une question de droit d'importance fondamentale (point D.I ci-dessus).
73. Il est difficile de savoir si les simulations relatives à des conceptions revêtent une importance aussi fondamentale que les simulations en général et si elles sont susceptibles, de la même manière que ces dernières, de créer des divergences dans la jurisprudence. La vérification d'une conception semble toutefois être l'un des principaux buts de la simulation de systèmes techniques (voir les revendications à la base des questions soumises et l'affaire T 1227/05). La Grande Chambre estime par ailleurs que des revendications de simulations assistées par ordinateur comme faisant partie d'un procédé de conception peuvent jouer un rôle dans d'autres contextes. Des algorithmes évolutifs associés à des étapes de simulation peuvent par exemple faire partie d'un procédé de conception automatisé ou semi-automatisé pour des systèmes techniques comme des antennes.
74. Au vu de ce qui précède, la question 3 est recevable.
E. Brevetabilité des simulations assistées par ordinateur
I. Technicité telle qu'exigée par la jurisprudence relative aux inventions mises en œuvre par ordinateur
a) Que signifie le terme "technique" ?
75. La CBE, à l'instar des lois nationales sur les brevets, ne définit pas le terme "invention" ou le terme "technique". Il peut toutefois être déduit de l'article 52 CBE que seules les inventions "techniques" sont brevetables ("dans tous les domaines technologiques", voir aussi G 2/07, JO OEB 2012, 130, point 6.4.2.1 des motifs). Dans l'affaire G 2/07, qui concerne une saisine dans le domaine des biotechnologies, la Grande Chambre a cité la définition du terme "invention" que la Cour fédérale allemande de justice ("Bundesgerichtshof") a donnée dans son arrêt "Rote Taube" du 27 mars 1969 (affaire X ZB 15/67). Selon cet arrêt, le terme "invention" implique un enseignement technique, qualifié d'enseignement pour utiliser méthodiquement des forces naturelles contrôlables pour atteindre un résultat causal et perceptible" ("eine Lehre zum planmässigen Handeln unter Einsatz beherrschbarer Naturkräfte zur Erreichung eines kausal übersehbaren Erfolgs", voir la version allemande originale dans GRUR 1969, 672, point 3, et la traduction anglaise publiée dans 1 IIC (1970), 136). Dans sa décision G 2/07, la Grande Chambre de recours a estimé qu'il s'agit d'une norme "qui reste valable aujourd'hui et dont on peut affirmer qu'elle est conforme au concept d'"invention" au sens de la CBE" (G 2/07, point 6.4.2.1 des motifs, quatrième paragraphe). L'arrêt "Rote Taube" est antérieur à la liste non exhaustive d'exclusions de la brevetabilité prévue par l'article 52(2) CBE. Cependant, en renvoyant à cet arrêt, la Grande Chambre de recours a dû estimer qu'il n'y avait pas de contradiction entre les conclusions qui y étaient formulées et la définition négative découlant de la liste d'exclusions prévue par la CBE. Conformément à sa jurisprudence antérieure et à l'approche retenue par le législateur, la Grande Chambre se gardera également, dans la présente affaire, de proposer une définition du terme "technique".
76. Il est généralement reconnu dans la jurisprudence des chambres de recours que le contenu cognitif des données n'est pas de nature technique (voir par exemple T 1000/09, point 7 des motifs). L'idée de considérer les informations comme relevant de la notion de "forces naturelles" ne s'est pas ancrée (voir Zech dans "Methodenfragen des Patentrechts" (Mohr Siebeck, Tübingen 2018, 137, 140)). Le fait que la liste des "non-inventions" prévue à l'article 52(2) CBE a été examinée mais n'a pas été modifiée dans le cadre du projet de révision de la CBE (CBE 2000) confirme la position selon laquelle le terme "technique" doit rester ouvert, notamment en prévision de nouveaux développements possibles.
77. Au cours de la procédure orale, les représentants du Président de l'OEB ont fait valoir que les définitions selon l'arrêt "Rote Taube" ne couvraient pas nécessairement toute la portée de ce qui pourrait être considéré comme étant technique, mais seulement le noyau dur de cette notion ("Begriffskern"). La Grande Chambre aurait tendance à partager l'avis selon lequel toute définition de la notion d'invention technique devra éventuellement être élargie au fil du temps pour prendre en compte de nouveaux développements techniques ou scientifiques ainsi que des changements sociétaux. Cependant, l'affaire "Rote Taube" concernait la question de savoir si la définition devrait couvrir un domaine scientifique (en l'occurrence la biologie) qui, auparavant, n'avait pas été considéré de manière catégorique comme étant technique aux fins de la protection par brevet. Par opposition, l'approche COMVIK et la présente saisine se concentrent davantage sur la question de savoir en quoi une invention revendiquée apporte une contribution technique, quel que soit le domaine technologique concerné. La chambre à l'origine de la saisine est apparemment disposée à accepter une conception large de la notion de technicité, puisqu'elle considère qu'un procédé défini en partie par des paramètres tels qu'une fonction de frustration est de nature technique.
b) Application de l'approche des "deux obstacles" pour établir la technicité des inventions mises en œuvre par ordinateur
78. Le critère déterminant le type d'invention susceptible de protection par brevet, le premier obstacle, doit être examiné conformément à l'article 52 CBE sans prendre en compte l'état de la technique, c'est-à-dire en faisant abstraction de la question de savoir si les ordinateurs existaient à la date de priorité de l'invention. L'utilisation d'un ordinateur pour l'objet revendiqué le rend donc susceptible de protection par brevet au titre de l'article 52 CBE (point B.II.a) ci-dessus).
79. En ce qui concerne le second obstacle, l'état de la technique doit être pris en considération. L'activité inventive repose sur la différence entre l'état de la technique et l'objet revendiqué. La condition selon laquelle les caractéristiques fondant l'activité inventive doivent contribuer à une solution technique d'un problème technique signifie que l'invention, interprétée en tant qu'enseignement basé sur l'état de la technique existant, doit être une "invention technique". L'utilisation d'un ordinateur universel constitue toujours un élément de l'état de la technique dans ce contexte. L'invention devant être examinée conformément aux dispositions applicables doit présenter une "technicité" allant au-delà de l'utilisation d'un ordinateur universel. Aux fins de cet examen, la définition d'une invention technique prévue à l'article 52 CBE, en particulier la liste des "non-inventions" figurant à l'article 52(2) CBE, peut être utile pour déterminer si des caractéristiques spécifiques contribuent à l'activité inventive (voir G 3/08, point 10.13.1 des motifs).
80. De manière générale, il est possible que des caractéristiques pouvant être considérées comme étant techniques en soi ne contribuent pas pour autant à l'activité inventive si elles ne contribuent pas à la solution d'un problème technique (voir point B.II.b) ci-dessus). Conformément à ce principe, une étape technique d'un procédé mis en œuvre par ordinateur peut ou non contribuer au problème que résout l'invention. Dans l'affaire T 1670/07, la revendication portait sur une "méthode destinée à faciliter les achats à l'aide d'un dispositif mobile sans fil de communication permettant d'acheter en magasins plusieurs produits (…) auprès d'un groupe de vendeurs situés dans une zone commerciale." La chambre a estimé que la nature technique inhérente à une mise en œuvre par ordinateur ne suffisait pas à conférer un caractère technique à l'ensemble de la méthode, puisque la "sélection des vendeurs" présentée à l'utilisateur dans le cadre de la méthode revendiquée n'était pas un effet technique et que la transmission de cette sélection se réduisait à diffuser des informations (point 9 des motifs).
81. Si l'article 52 CBE sert de cadre pour établir l'existence d'une invention technique, l'approche COMVIK prévoit l'application des mêmes critères pour examiner d'une part si l'objet revendiqué satisfait aux dispositions de l'article 52 CBE et d'autre part si des caractéristiques distinctives peuvent entrer en ligne de compte aux fins de l'analyse effectuée en vertu de l'article 56 CBE. Dans la mesure où seules les différences par rapport à l'état de la technique qui contribuent à résoudre un problème technique peuvent être prises en compte aux fins de l'analyse de l'activité inventive, cette exigence sert de filtre à travers lequel doivent d'abord passer les caractéristiques qui distinguent une invention par rapport à l'état de la technique.
82. Selon un principe général, la question de savoir si une caractéristique contribue au caractère technique de l'objet revendiqué doit être évaluée en tenant compte de toute l'étendue de la revendication. L'analyse effectuée au titre de l'article 56 CBE à l'aide de l'approche problème-solution peut révéler qu'un problème spécifique n'est pas résolu (qu'un effet spécifique n'est pas produit) dans toute l'étendue de la revendication. En pareils cas, ledit problème spécifique ne peut pas servir de base à l'analyse de l'activité inventive, à moins que la revendication ne soit limitée de telle sorte que pratiquement tous les modes de réalisation qu'elle englobe produisent l'effet recherché (voir, par exemple, l'affaire T 939/92, JO OEB 1996, 309, point 2.6 des motifs, dans laquelle la chambre n'était pas convaincue que pratiquement tous les composés chimiques revendiqués avaient probablement une activité herbicide). Une telle limitation peut généralement être obtenue en réduisant la portée d'une ou de plusieurs caractéristiques (par exemple une plage de températures ou de concentrations pour un procédé chimique) et/ou en ajoutant une ou plusieurs caractéristiques restrictives. Le principe susvisé, tel que formulé dans la décision T 939/92, fréquemment citée, ne fait que spécifier le principe général supplémentaire, selon lequel tout - ou pratiquement tout - l'objet revendiqué doit satisfaire aux conditions de brevetabilité. Un autre exemple serait celui des méthodes de traitement du corps humain qui ont à la fois des effets non thérapeutiques et des effets thérapeutiques, ces derniers tombant sous le coup de l'exception à la brevetabilité prévue par l'article 53c) CBE (voir, par exemple, l'affaire T 1635/09, JO OEB 2011, 542, points 3 et 5 des motifs, dans laquelle les revendications ne pouvaient pas être limitées à une méthode non thérapeutique, étant donné que les éléments thérapeutiques et les éléments non thérapeutiques de l'usage revendiqué étaient indissociables).
83. De la même manière, une invention mise en œuvre par ordinateur peut présenter un caractère technique et une caractéristique peut contribuer au caractère technique de l'invention en ce qui concerne des parties seulement de l'objet revendiqué. Par exemple, une vitesse accrue (l'effet technique) résultant d'un procédé inventif de transmission de données ne peut être obtenue que si la taille des paquets de données transmis dépasse une certaine valeur minimum. En pareil cas, il peut être nécessaire de limiter en conséquence la taille des paquets de données dans la caractéristique correspondante de la revendication. Pour limiter l'objet revendiqué à l'étendue dans laquelle un effet technique peut être reconnu, il est possible d'ajouter de nouvelles caractéristiques restrictives telles que des étapes qui établissent une interaction avec une réalité physique extérieure.
84. Suivant l'approche COMVIK, une caractéristique n'entre en ligne de compte aux fins de l'activité inventive que si, et dans la mesure où, elle contribue au caractère technique de l'objet revendiqué. Pour satisfaire à l'exigence selon laquelle l'invention revendiquée doit impliquer une activité inventive dans toute l'étendue de la revendication, cette invention doit présenter aussi, et c'est là une condition préalable, un caractère technique dans toute l'étendue de la revendication. Par conséquent, il n'est pas satisfait à cette exigence si la caractéristique revendiquée en question ne contribue au caractère technique que pour certains modes de réalisation de l'invention revendiquée.
c) Aspects liés à la technicité des inventions mises en œuvre par ordinateur

85. Le graphique ci-dessus présente – sous forme simplifiée et non exhaustive – comment et quand des "effets techniques" ou "des interactions techniques" peuvent se produire dans le contexte d'un procédé mis en œuvre par ordinateur. Les flèches représentent les interactions qui se distinguent des opérations abstraites d'entrées et de sorties de données, ou de traitement ou de transfert interne de données. Les entrées techniques peuvent prendre la forme de mesures et les sorties techniques celle de signaux de commande d'une machine. Les entrées et sorties techniques découlent généralement de liens directs avec la réalité physique. Les adaptations apportées à un ordinateur ou à son fonctionnement, qui aboutissent à des effets techniques (par exemple à une meilleure utilisation des capacités de stockage ou de la bande passante), sont également des exemples de caractéristiques susceptibles de contribuer à l'activité inventive (une liste d'exemples et de renvois aux décisions pertinentes des chambres de recours est donnée dans la décision T 697/17, point 5.2.5 des motifs). En résumé, des effets techniques peuvent se produire dans le cadre du procédé mis en œuvre par ordinateur (par exemple par l'intermédiaire d'adaptations spécifiques apportées à l'ordinateur ou aux mécanismes de transfert ou de stockage de données) et aux niveaux des entrées et des sorties du procédé. Les entrées et sorties peuvent avoir lieu non seulement au début et à la fin d'un procédé mis en œuvre par ordinateur, mais aussi pendant son exécution (par exemple au moyen de la réception de données de mesure périodiques et/ou de l'envoi continu de signaux de commande à un système technique).
86. Il est évident que les entrées et les sorties ne sont jamais autre chose que des données si l'on ne prend en considération que le traitement des données à l'intérieur de l'ordinateur. Cependant, les procédés mis en œuvre par ordinateur comprennent souvent des caractéristiques – techniques ou non techniques en soi – qui reflètent l'interaction de l'ordinateur avec le monde extérieur. Comme expliqué plus haut, il est impossible de décrire (ou de représenter sous forme graphique) de manière exhaustive tous les types de caractéristiques d'une invention mise en œuvre par ordinateur qui peuvent contribuer au caractère technique de l'invention.
d) Lien direct avec une réalité physique
87. La décision de saisine (point 31 des motifs), se fondant sur l'avis G 3/08, traite la question de savoir si une caractéristique revendiquée doit produire un effet technique sur une entité physique dans le monde réel pour contribuer au caractère technique de la revendication. Dans l'avis G 3/08, cette question a été jugée irrecevable en vertu de l'article 112(1)b) CBE, étant donné qu'il ne pouvait pas être établi que deux chambres avaient rendu des décisions divergentes sur la question. Citant d'autres décisions, outre celles mentionnées dans l'avis G 3/08, la chambre à l'origine de la saisine a identifié des affaires dans lesquelles un effet technique directement lié à une réalité physique semblait être exigé, mais aussi d'autres qui donnaient à penser qu'un effet technique potentiel, c'est-à-dire un effet obtenu seulement en combinaison avec des caractéristiques non revendiquées, avait été pris en considération (points 36 et 37 des motifs).
88. Suivant la jurisprudence actuelle et compte tenu des dispositions juridiques pertinentes, la Grande Chambre ne juge pas nécessaire d'exiger dans tous les cas un lien direct avec une réalité physique (extérieure). D'une part, des caractéristiques à l'intérieur du système informatique utilisé peuvent également apporter des contributions techniques (voir point E.I.b) ci-dessus). D'autre part, dans de nombreux cas, des effets techniques potentiels – lesquels peuvent être différenciés des effets techniques directs sur une réalité physique – ont été pris en considération pour apprécier la technicité / l'activité inventive (voir point E.I.e) ci-dessous). L'existence d'un lien direct avec une réalité physique, reposant sur des caractéristiques qui, en soi, sont techniques et/ou non techniques, ne saurait constituer une condition nécessaire, ne serait-ce que parce que la notion de technicité doit rester ouverte, même si un tel lien suffit dans la plupart des cas pour établir la technicité.
e) Effets techniques potentiels
89. Dans leurs observations d'amicus curiae, certains tiers citent la décision T 1173/97 à l'appui de l'argument selon lequel il suffit qu'une invention mise en œuvre par ordinateur ait la capacité ("en puissance") de produire un effet technique. Dans cette décision, il est reconnu qu'un produit "programme d'ordinateur" peut avoir la capacité d'engendrer un effet technique supplémentaire prédéterminé, c'est-à-dire un effet technique allant au-delà des effets techniques qui se produisent nécessairement à l'intérieur de l'ordinateur lorsqu'un programme est exécuté sur cet ordinateur (points 6 et 7 des motifs). Les revendications à la base de cette décision portaient notamment sur un "produit 'programme d'ordinateur' chargeable directement dans la mémoire interne d'un ordinateur numérique" et sur un "produit 'programme d'ordinateur' enregistré sur un support utilisable dans un ordinateur". La seule question à trancher était celle de savoir si ces revendications étaient exclues de la brevetabilité en vertu de l'article 52(2) et (3) CBE (point 9.1 des motifs). Dans ce contexte, la chambre a estimé que puisqu'un effet (technique ou non) ne peut être obtenu par un programme d'ordinateur que lorsque ce programme est exécuté sur un ordinateur, un programme a seulement la "capacité" de produire un effet quelconque (point 9.4 des motifs). Néanmoins, la chambre a conclu qu'"[u]n produit 'programme d'ordinateur' présentant (implicitement) toutes les caractéristiques d'une méthode brevetable" est "réputé en tout état de cause n'être pas exclu de la brevetabilité au titre de l'article 52(2) et (3) CBE" (point 9.6 des motifs).
90. Le fait qu'une "capacité" de produire un effet technique a été reconnue dans la décision T 1173/97 a signifié que l'effet d'un programme d'ordinateur lors de son exécution sur un ordinateur devait être pris en considération pour évaluer la brevetabilité, ou, autrement formulé, que la condition "lors de son exécution sur un ordinateur" était contenue implicitement dans une revendication portant sur un produit "programme d'ordinateur". Au vu de cette conclusion, l'affaire a été renvoyée devant l'instance du premier degré afin qu'elle poursuive la procédure et "qu'elle examine notamment si la formulation des revendications dans la version" concernée pouvait "permettre d'éviter que ne joue l'exclusion de la brevetabilité au titre des articles 52(2) et (3) CBE" (point 2 du dispositif). Dans cette décision, la question de savoir si l'invention revendiquée présentait un caractère technique n'est pas abordée, mais il est précisé que les modifications physiques qui résultent de l'exécution des instructions données par le programme ne peuvent, en soi, conférer à l'invention un caractère technique (point 6.6 des motifs).
91. Le principe établi dans la décision T 1173/97 – selon lequel un logiciel (en soi susceptible de n'avoir que des "effets potentiels") est considéré comme un logiciel fonctionnant sur un ordinateur – est toujours appliqué, mais la suite de l'analyse (qui consiste à déterminer si le logiciel produit des effets techniques supplémentaires) repose désormais sur l'approche COMVIK. Lors de l'exécution sur un ordinateur, la combinaison des caractéristiques revendiquées doit être constitutive d'une invention technique. Selon l'analyse au titre de l'approche COMVIK, les caractéristiques doivent être examinées au regard de leur contribution au caractère technique de l'invention. La décision T 1173/97 a bien établi une distinction entre les effets produits par tout programme d'ordinateur lorsqu'il est exécuté sur un ordinateur et l'"effet technique supplémentaire" pouvant résulter de l'exécution du programme sur l'ordinateur (point 9.4 des motifs). Il va de soi que de tels "effets techniques supplémentaires" sont eux aussi susceptibles de n'être obtenus qu'au moment de l'exécution du programme sur l'ordinateur, autrement dit le programme peut avoir la capacité d'engendrer de tels effets techniques supplémentaires, lesquels pourraient ainsi être dénommés "effets techniques supplémentaires potentiels". Il n'a toutefois pas été déterminé dans l'affaire T 1173/97 si le programme d'ordinateur revendiqué était associé à un quelconque effet technique supplémentaire ; il a simplement été précisé qu'un produit "programme d'ordinateur" n'est pas inévitablement exclu de la brevetabilité (point 12.2 des motifs). En particulier, il ne ressort pas de cette décision qu'à partir du moment où le logiciel fonctionne sur un ordinateur, des effets techniques "potentiels" (tels que les entend la chambre à l'origine de la saisine, voir point E.I.d) ci-dessus) peuvent toujours être considérés comme des effets techniques "réels" aux fins de l'analyse selon l'approche COMVIK.
92. La décision de saisine mentionne d'autres décisions qui ont donné à penser qu'un effet technique potentiel, "c'est-à-dire un effet obtenu seulement en combinaison avec des caractéristiques non revendiquées, peut être pris en considération pour l'appréciation de l'activité inventive" (point 37 des motifs). Elle renvoie à l'affaire T 1351/04, dans laquelle – dans le cadre de l'approche COMVIK – il a été estimé qu'un procédé de création d'un fichier d'index ainsi que le fichier d'index ainsi créé constituaient des moyens techniques, puisqu'ils déterminaient la façon dont l'ordinateur recherchait des informations, ladite recherche étant une tâche technique (T 1351/04, exergue et point 7 des motifs). Cette décision fait référence aux "données fonctionnelles destinées à commander un dispositif technique", qui sont "normalement considérées comme présentant un caractère technique" (point 7.2 des motifs), et mentionne également l'exemple de l'affaire T 110/90 (JO OEB 1994, 557), portant sur des signaux de commande d'une imprimante considérés comme des caractéristiques techniques du système de traitement de texte auquel ils appartiennent (point 4 des motifs).
93. Le requérant et le Président de l'OEB, parmi d'autres, ont renvoyé à la décision T 208/84 (VICOM, JO OEB 1987, 14), qui fournit un autre exemple où le traitement de données est considéré comme produisant un effet technique. Dans cette affaire, une distinction est établie entre méthode de traitement numérique d'images et méthode mathématique en tant que telle (points 5 et 6 des motifs). Il convient de mentionner également à ce sujet l'affaire T 163/85 (JO OEB 1990, 379). Cette dernière concernait des revendications relatives à un signal de télévision couleur apte à engendrer une image sur des récepteurs de télévision déterminés. La chambre qui a statué sur cette affaire a conclu que le signal de télévision revendiqué comprenait intrinsèquement les caractéristiques techniques du système de télévision dans lequel il était utilisé (point 2 des motifs).
94. La jurisprudence plus ancienne mentionnée ci-dessus semble confirmer que les données utilisées pour commander un dispositif technique peuvent être considérées comme présentant un caractère technique, puisqu'elles ont la capacité de produire des effets techniques. Dans le cadre de l'approche problème-solution et de l'approche COMVIK, il est possible de prendre en considération de tels effets techniques potentiels si les données résultant d'un procédé revendiqué sont adaptées de manière spécifique aux fins de l'utilisation technique recherchée. En pareils cas, soit l'effet technique qui résulterait de l'utilisation des données recherchée pourrait être considéré comme "étant contenu implicitement" dans la revendication, soit l'utilisation des données recherchée (c'est-à-dire l'utilisation en lien avec un dispositif technique) pourrait être considérée comme s'étendant sur pratiquement toute l'étendue du procédé de traitement de données revendiqué.
95. Il n'est pas pour autant possible de faire valoir cette argumentation si les données revendiquées ou les données résultant d'un procédé revendiqué se prêtent à des utilisations autres qu'une utilisation liée à un dispositif technique (par exemple en vue de commander un dispositif technique). Il se peut dans un tel cas que l'analyse au titre de l'article 56 CBE ne permette pas de conclure qu'un effet technique est obtenu dans pratiquement toute l'étendue de l'invention revendiquée (voir point E.I.b) ci-dessus).
96. De l'avis de la Grande Chambre, il y a lieu d'établir une distinction entre les effets techniques potentiels mentionnés ci-dessus (qui pourraient être considérés comme des effets techniques sous réserve de certaines conditions) et les effets potentiels qui sont abordés dans l'affaire T 1173/97. Les seconds couvrent tous les effets (techniques et non techniques) résultant directement de l'exécution d'un programme sur un ordinateur, c'est-à-dire les effets qui se produisent à l'intérieur de l'ordinateur et qui sont liés au matériel qui exécute le programme. En revanche, les premiers sont des effets "en aval" qui peuvent ou non être engendrés par une telle sortie de données. La sortie de données numériques qui provient de l'ordinateur est bien entendu une condition préalable impérative pour qu'un effet quelconque soit produit, et les "effets en aval" peuvent être considérés comme des effets potentiels du logiciel. Le caractère nécessairement technique de certains effets à l'intérieur de l'ordinateur ne signifie pas pour autant que les effets "en aval" produits par la sortie de données de l'ordinateur sont nécessairement de nature technique. Dans l'affaire T 1173/97, de tels effets (dans la mesure où ils ont été considérés comme techniques) ont été désignés par l'expression "effets techniques supplémentaires" (voir point 9.4 des motifs).
f) Effets techniques virtuels ou calculés
97. Il a été avancé au cours de la présente procédure de saisine que les effets techniques qui ne sont pas produits au moyen d'une interaction avec la réalité physique, mais qui sont calculés de manière qu'ils correspondent étroitement à des entités physiques ou à des effets techniques "réels", doivent être considérés comme des effets techniques aux fins de l'approche COMVIK. De l'avis de la Grande Chambre, les effets techniques virtuels ou calculés doivent être différenciés des effets techniques potentiels, lesquels deviennent par la force des choses des effets techniques réels, par exemple lorsqu'un programme d'ordinateur ou un signal de commande d'un dispositif d'affichage d'images sont utilisés de la manière envisagée.
98. Des données calculées relatives à l'état d'un objet concret, ou des propriétés physiques calculées pour un tel objet, sont des informations qui peuvent faire ressortir des propriétés susceptibles de se présenter dans le monde réel. Cependant, il s'agit avant tout de simples données qui peuvent être utilisées de nombreuses manières différentes. Il se peut que, dans des cas exceptionnels, de telles informations soient destinées à une utilisation technique implicite qui pourrait fonder un effet technique implicite. En général, les données relatives à un effet technique calculé ne sont toutefois que de simples données qui peuvent être utilisées, par exemple, pour obtenir des connaissances scientifiques concernant un système technique ou naturel, pour prendre des décisions éclairées concernant des mesures de protection, voire pour produire un effet technique. Par conséquent, une revendication de portée large qui a trait au calcul de données techniques et qui n'est pas limitée à des utilisations techniques spécifiques donnera lieu normalement à des objections eu égard au principe selon lequel l'objet revendiqué doit constituer une invention technique dans pratiquement toute l'étendue des revendications (voir point E.I.b) ci-dessus, renvoyant à la décision T 939/92).
99. Le calcul de l'état physique d'un objet (par exemple de sa température) relève normalement d'un procédé de mesure. Il est généralement admis que les mesures présentent un caractère technique car elles reposent sur une interaction avec la réalité physique dès le début du procédé de mesure. Les mesures se font souvent par voie indirecte, par exemple, la mesure d'une entité physique spécifique à un endroit spécifique peut s'effectuer par la mesure d'une autre entité physique et/ou par des mesures réalisées à un autre endroit (voir par exemple T 91/10, point 5.2.1 des motifs ; T 1148/00, point 9 des motifs). Même si de telles mesures indirectes peuvent exiger des calculs considérables, elles n'en sont pas moins liées à une réalité physique et sont dès lors de nature technique, quelle que soit l'utilisation faite des résultats (en ce qui concerne une combinaison de mesures et de simulations, voir par exemple T 438/14).
g) Critère de l'"effet tangible"
100. Pour étayer l'argument selon lequel les données (techniques) calculées sont de nature technique, il a été avancé que dans la jurisprudence des chambres de recours, l'obtention d'un "effet tangible" n'est pas une condition à la brevetabilité d'une invention. Les représentants du Président de l'OEB ont renvoyé en particulier à l'affaire T 533/09. Dans cette décision, des revendications portant sur un train d'impulsions de défibrillation (voir le brevet EP 1 284 788 B1) ont été jugées admissibles. Les impulsions de défibrillation sont des décharges électriques administrées à un patient au moyen d'un dispositif de défibrillation (voir paragraphe [0069] et fig. 1 dudit brevet). Dans le contexte de l'article 57 CBE (application industrielle), la chambre a estimé que la notion d'invention brevetable n'est pas liée à un "caractère tangible, au sens de matériel" (point 7.2 des motifs). Faisant référence aux travaux préparatoires, la chambre a fait observer que la CBE ne limite pas la brevetabilité à certaines catégories d'inventions (par exemple aux produits et aux procédés). La chambre a souligné à cet égard la différence par rapport au droit américain qui, contrairement à la CBE, limite les inventions brevetables à "un procédé, une machine, un article manufacturé ou une composition de matières, nouveau et utile" en vertu du Titre 35, article 101 du Code des États-Unis d'Amérique (U.S.C) (point 7.2 des motifs). Bien que la décision T 533/09 ne se limite pas aux inventions mises en œuvre par ordinateur, les trains d'impulsions revendiqués peuvent être assimilés à des signaux de commande produisant des effets techniques supplémentaires potentiels lorsqu'ils sont utilisés de la manière envisagée (voir point E.I.e) ci-dessus, eu égard en particulier à l'affaire T 163/85 – signal de télévision couleur).
101. Dans de nombreuses affaires où il est fait référence aux effets "tangibles", l'absence de tels effets sert d'argument à l'encontre de la brevetabilité (voir l'exemple récent de l'affaire T 215/13, points 5 et 6 des motifs, où aucun problème technique tangible n'est résolu). Cependant, la Grande Chambre adhère pleinement à l'avis exprimé dans la décision T 533/09 (point 7.2 des motifs) selon lequel aucune exigence relative à un effet tangible n'est prévue dans la CBE. De plus, la mesure dans laquelle les notions d"effet tangible" et d'"effet technique supplémentaire" se recoupent n'est pas clairement établie. Un critère fondé sur le caractère tangible – en sus de l'exigence de technicité – ne saurait dès lors contribuer à une délimitation plus précise des inventions brevetables.
II. Caractéristiques d'une simulation
102. Dans la décision de saisine (point 21 des motifs), une simulation est définie comme étant "une imitation approximative du fonctionnement d'un système ou procédé à partir d'un modèle de ce système ou procédé. Dans le cas d'une simulation assistée par ordinateur, le modèle n'existe qu'à l'intérieur de l'ordinateur et la simulation permet d'évaluer ou de prédire le fonctionnement du système ou du procédé modélisé." L'association des ingénieurs allemands (VDI) définit quant à elle une simulation comme "l'imitation d'un système et des processus dynamiques de ce système, à partir d'un modèle utilisable dans le cadre d'expériences, pour obtenir des connaissances susceptibles d'être transposées dans le monde réel" (Directive VDI 3633, traduite en anglais dans les observations d'amicus curiae (21)). Ces deux définitions prennent en considération le fait que les systèmes ou les procédés techniques ne sont pas les seuls objets qui peuvent être simulés. Si la définition du VDI est plus étroite en ce sens qu'elle se limite aux systèmes et à leurs processus dynamiques (c'est-à-dire à l'évolution de l'état du système au fil du temps), la définition donnée dans la décision de saisine est dirigée de manière plus spécifique sur les simulations (numériques) assistées par ordinateur.
103. Avant que la puissance de calcul nécessaire pour effectuer des simulations numériques précises ne soit disponible, des simulations physiques étaient utilisées, par exemple des simulations de cours d'eau à l'aide de maquettes dans le sable, ou des expériences en soufflerie pour des véhicules et des aéronefs. Les simulations physiques peuvent reposer sur des modèles qui font intervenir des entités physiques différentes de celles qui sont pertinentes pour le système modélisé. Par exemple, des systèmes mécaniques peuvent être modélisés au moyen de circuits électroniques analogiques qui présentent le même comportement dynamique que le système mécanique modélisé. Les simulations physiques sont encore utilisées pour certains systèmes. Quelles que soient la nature de la simulation (physique ou numérique) et la définition considérée, les résultats de la simulation sont des informations relatives au comportement potentiel du système ou du procédé modélisé.
104. Les principales caractéristiques d'une simulation assistée par ordinateur peuvent être résumées comme suit :
i) modèle numérique d'un système ou procédé (qui peut être technique ou non technique) qui se présente sous la forme de données pouvant être traitées par ordinateur ;
ii) équations représentant le comportement du modèle (pouvant être incluses des fonctions aléatoires) ;
iii) algorithmes générant des sorties numériques qui représentent l'état calculé du système ou du procédé modélisé (en particulier, par intervalles de temps ou sous la forme d'une somme ou d'une moyenne résultant d'un calcul effectué à partir de multiples événements aléatoires).
105. Le système ou procédé devant être simulé ne fait pas partie de la simulation. Il définit simplement le point de départ ou le cadre de la simulation, un peu comme une vraie forêt pour la peinture d'un paysage par exemple. Au regard du droit des brevets, le système ou procédé simulé fait généralement partie de l'état de la technique pour les inventions portant sur des simulations. Les contributions créatives des simulations numériques résident généralement dans le développement, la sélection ou l'amélioration des équations ou des algorithmes sous-jacents, ou encore dans des utilisations ou des adaptations spécifiques des ordinateurs servant à effectuer les simulations.
III. Application de l'approche COMVIK aux simulations assistées par ordinateur
a) Éléments constitutifs d'une simulation assistée par ordinateur
i) Modèle et équations représentant le modèle
106. Un modèle et les équations qui le représentent sont de nature mathématique – et ce, que le système ou le procédé modélisé soit "technique" ou "non technique". Un exemple relevant de cette dernière catégorie serait un modèle basé sur la théorie des jeux. La création du modèle et des équations est une activité purement intellectuelle, même si des ordinateurs peuvent être utilisés pour ces activités, par exemple lors de l'élaboration d'une grille spatiale adaptée au système mécanique devant être simulé.
107. Si c'est un système ou un procédé existant qui doit être simulé, le modèle doit représenter la réalité physique de telle manière que, sur les plages pertinentes, la simulation basée sur ce modèle représente, au moins dans une certaine mesure, la "réalité". Il peut se révéler superflu d'obtenir un niveau élevé de précision ou de prendre en considération toutes les lois de la nature applicables. Ainsi, pour simuler la trajectoire de vol d'un objet, il peut être fait abstraction des effets de résistance aérodynamique lorsque la simulation concerne la chute d'une pierre depuis une tour, alors que ces effets devront éventuellement être pris en considération s'il s'agit de simuler la trajectoire du volant dans un jeu de badminton. Il peut être fait abstraction des effets relativistes dans le contexte de la vitesse de véhicules routiers, alors que ces effets peuvent être importants dans le contexte de la navigation par satellite. La réalité physique ne peut jamais être représentée de manière exacte.
108. Un modèle de système ou de procédé repose sur des hypothèses qui, en fonction des principes applicables, peuvent être difficiles à vérifier. Si les lois de la physique sont généralement bien connues, les liens de dépendance et les paramètres nécessaires dans le cadre d'un modèle peuvent être plus difficiles à identifier si des facteurs humains ou des événements aléatoires entrent en jeu. Les revendications de la demande de brevet à la base de la saisine, par exemple, englobent des paramètres tels que l'"espace personnel", une "fonction d'insatisfaction" et une "fonction de frustration", qui ne peuvent être quantifiés et intégrés à un modèle que sur la base d'hypothèses, lesquelles devront éventuellement être adaptées de manière significative lors de la mise au point d'une simulation.
109. On peut se demander s'il est possible dans l'absolu de "modéliser" ou de "simuler" un système ou un procédé qui n'existe pas. Cependant, aux fins de créer un modèle et de le représenter sous forme d'équations, il importe peu de savoir si le système ou le procédé a déjà existé ou existera un jour. Simuler des systèmes constituant des améliorations qui n'ont pas encore été apportées à des systèmes existants, voire simuler des processus dynamiques qui n'interviennent pas, ou qu'il y a lieu en fait d'éviter, dans le monde physique semblent représenter d'importantes applications des simulations (voir par exemple T 625/11 – déterminer une valeur limite d'un paramètre de fonctionnement d'un réacteur nucléaire). Une simulation peut permettre d'étudier un système sans avoir à le construire (voir T 1227/05).
110. Suivant l'approche COMVIK, les modèles à la base d'une simulation représentent des contraintes (techniques ou non) qui ne présentent pas de caractère technique aux fins de la simulation en soi. Ils peuvent toutefois contribuer à la technicité de l'invention s'ils donnent lieu par exemple à une adaptation de l'ordinateur ou de son fonctionnement, ou s'ils contribuent à des effets techniques liés aux résultats de la simulation.
111. La question de savoir si une simulation contribue au caractère technique de l'objet revendiqué ne dépend pas de la qualité du modèle sous-jacent ou de la mesure dans laquelle cette simulation représente la "réalité". La précision d'une simulation est toutefois un facteur qui peut avoir une incidence sur un effet technique allant au-delà de la mise en œuvre de la simulation, et qui peut donc entrer en ligne de compte pour l'appréciation en vertu de l'article 56 CBE. Aux fins de l'article 56 CBE, une amélioration alléguée peut ne pas être obtenue si la simulation est trop imprécise pour la finalité (technique) envisagée, le procédé de simulation revendiqué pouvant dès lors être considéré comme dépourvu d'activité inventive même si la simulation contribue au caractère technique de l'invention. À l'inverse, un procédé faisant intervenir des simulations numériques peut produire un effet technique alors même que certains paramètres de la simulation sont imprécis. Si une amélioration ou une fonction spécifique est exposée dans la revendication mais qu'elle ne peut pas être obtenue au moyen d'une simulation qui reflète de manière trop imprécise la "réalité", des objections pourraient également être soulevées au titre de l'article 83 CBE dans les cas où l'homme de métier n'est pas en mesure d'identifier sans effort excessif les modèles et équations pertinents.
ii) Algorithmes
112. Les algorithmes constituent la base de toute invention mise en œuvre par ordinateur. La formulation d'un algorithme, tout comme l'élaboration d'un modèle, est une activité cognitive. La définition d'un algorithme n'implique pas nécessairement des considérations techniques (G 3/08, point 13.5.1 des motifs, citant les travaux préparatoires). Un algorithme ne contribue au caractère technique d'un procédé mis en œuvre par ordinateur que dans la mesure où il répond à une finalité technique (voir T 1358/09, citant T 1784/06). Par exemple, un algorithme peut se prêter tout particulièrement à une mise en œuvre sur un ordinateur dans la mesure où sa conception repose sur des considérations techniques liées au fonctionnement interne de l'ordinateur (voir T 1358/09, point 5.5).
113. Une fois reconnu comme contribuant au caractère technique d'une simulation, un algorithme, tout comme un modèle ou des équations, peut être pertinent pour la dernière étape de l'appréciation effectuée en vertu de l'article 56 CBE. Si un algorithme ne permet pas de résoudre de manière suffisamment fiable et rapide les équations applicables, la simulation en découlant peut ne pas résoudre le problème qui est déterminant dans le cadre de l'approche problème-solution.
b) Caractéristiques techniques d'une "simulation en tant que telle"
114. Les simulations assistées par ordinateur sont des procédés mis en œuvre par ordinateur qui comprennent généralement une combinaison de caractéristiques techniques et non techniques. La Grande Chambre part donc du principe que les critères formulés dans le cadre de l'approche COMVIK sont applicables.
115. Sur la base du graphique ci-dessus (point E.I.c)) et des considérations relatives aux effets pouvant être considérés comme étant techniques (points E.I.c) à E.I.g)), il semblerait que la plupart des "simulations en tant que telles" produisent peu d'effets techniques pour ce qui est des entrées et des sorties (qui, dans une "simulation en tant que telle", consistent en des données). Cependant, même en l'absence d'effets physiques extérieurs réels, le logiciel – y compris les algorithmes sous-jacents – peut malgré tout contribuer au caractère technique d'une invention mise en œuvre par ordinateur dans la mesure où il est adapté au fonctionnement interne de l'ordinateur ou du système/réseau informatique (voir observations d'amicus curiae (6), page 6 ; voir aussi T 697/17). Une simulation peut même exiger une puissance informatique qu'un ordinateur classique ne peut pas fournir (le recours à l'informatique quantique pourrait par exemple être nécessaire pour des simulations de turbulence ou des simulations moléculaires). Des éléments spécifiques du logiciel de mise en œuvre pourraient également conduire à une amélioration technique des simulations en tant que telles.
116. Il serait toutefois nécessaire de divulguer dans la demande de brevet de tels éléments de mise en œuvre relevant du matériel ou du logiciel. Pour qu'une quelconque amélioration technique fondée sur des éléments de mise en œuvre puisse être prise en considération aux fins de l'article 56 CBE, ces éléments doivent figurer en tant que caractéristiques restrictives dans les revendications de brevet pertinentes, faute de quoi la revendication engloberait des modes de réalisation qui n'apportent pas l'amélioration technique alléguée (voir T 939/92).
117. L'évaluation de la question de savoir si une caractéristique contribue ou non au caractère technique d'une invention mise en œuvre par ordinateur ne diffère vraisemblablement pas selon qu'elle porte sur des simulations assistées par ordinateur ou sur d'autres inventions mises en œuvre par ordinateur. Certains procédés mis en œuvre par ordinateur pour formuler des prévisions sur l'état d'un système (technique ou non technique), par exemple, ne sont pas considérés comme des simulations mais soulèvent les mêmes questions en ce qui concerne leur caractère technique.
c) Pertinence de la nature technique du système ou du procédé simulé
118. Une simulation se borne à fournir des informations au sujet du modèle qui la sous-tend. Si le modèle est suffisamment précis et adéquatement reproduit par des équations et des algorithmes adaptés, la simulation peut permettre de tirer des conclusions concernant la réalité physique modélisée. L'invention à la base de la décision de saisine peut tester comment une construction donnée – telle que représentée par le modèle – influerait sur le mouvement d'"entités autonomes" ou de piétons lorsqu'ils se déplacent de la manière décrite par le modèle. Si la simulation conduit à un résultat différent de celui auquel aboutissent des expériences réalisées dans le "monde physique", il faudra éventuellement adapter le modèle. Dans la pratique, les modèles sont améliorés au moyen d'adaptations qui leur permettent de générer des données qui reflètent plus précisément la réalité physique modélisée.
119. Il se peut que certaines simulations de systèmes techniques ne contribuent pas à l'activité inventive. Dans un jeu informatique, par exemple, la simulation d'une boule de billard jouée peut être considérée comme ne résolvant pas de problème technique. À l'inverse, suivant l'approche COMVIK, des simulations de systèmes non techniques (telles que des simulations météorologiques) peuvent tout à fait contribuer à l'activité inventive.
120. Selon l'approche COMVIK, le fait que le système ou le procédé simulé est technique ou non n'est pas déterminant. Ce qu'il importe d'établir, c'est si la simulation du système ou du procédé contribue à la solution d'un problème technique. Il y a lieu de répondre à cette question en appliquant les mêmes critères que pour les autres inventions mises en œuvre par ordinateur. Si une simulation est destinée à vérifier ou à améliorer un système technique, c'est bien entendu le système technique qui est simulé (sur la base des principes techniques qui le sous-tendent). Cependant, le simple calcul du comportement d'un système (technique) tel qu'il existe sur l'ordinateur, et le produit numérique d'un tel calcul, ne doivent pas être confondus avec un quelconque effet technique du procédé de simulation.
121. Même si le système ou le procédé simulé est technique, il doit d'abord être traduit en modèles et en algorithmes (c'est-à-dire en informations non techniques) en amont de la simulation. Ce n'est qu'après cette première étape que ces informations non techniques peuvent représenter un système ou un procédé technique. De tels modèles et algorithmes définissent dans un premier temps les contraintes (non techniques) à prendre en considération dans le cadre de l'approche COMVIK. Selon qu'ils contribuent à un quelconque effet technique de l'invention revendiquée, portant sur une simulation, ils pourront ou non être effectivement pris en compte aux fins de l'appréciation de l'activité inventive.
d) Arguments à l'appui de la pertinence de la nature technique du système ou du procédé simulé
122. Il a été avancé au cours de la présente procédure de saisine qu'une simulation est de nature technique et produit des effets techniques si l'homme du métier concerné est une personne techniquement compétente dans le domaine du système ou du procédé simulé (voir par exemple les observations du Président de l'OEB, points 23 à 25). Cet argument s'appuie en partie sur la décision T 817/16 (voir point 3.12 des motifs), qui part de l'homme du métier (techniquement compétent) pour établir une distinction entre les caractéristiques techniques et non techniques. Cette approche peut convenir dans certains cas, mais elle peut aussi poser problème dans d'autres où l'homme du métier pertinent pour la simulation est différent de celui qui est pertinent pour le système représenté par le modèle sur lequel la simulation repose. L'homme du métier entre en ligne de compte pour l'appréciation de l'activité inventive. Un système technique ou non technique représenté par un procédé de simulation fait généralement partie de l'état de la technique et détermine la base de la simulation. À moins qu'il ne soit prévu d'améliorer ce système (et non simplement de le simuler), l'homme du métier du domaine dont relève le système est moins approprié que celui qui est pertinent pour la simulation (et/ou sa fonction), laquelle constitue l'objet de l'invention.
123. Dans les observations d'au moins un amicus curiae, il est avancé que le fait d'éviter la nécessité de construire des prototypes est un effet technique. Cet argument n'est pas convaincant, car la décision de construire ou non un prototype est une décision liée à une activité économique qui est prise par un être humain. Dans le même ordre d'idées, il pourrait être avancé que le fait de prévoir du mauvais temps conduit à une plus faible consommation de carburant. Cet effet technique n'est pas la conséquence directe des données produites par le procédé de prévision météorologique, mais n'intervient que si, par exemple, des êtres humains décident de renoncer à des excursions en voiture par temps de pluie.
124. Un autre argument, qui sous-tend certains éléments de la jurisprudence actuelle concernant les simulations numériques (voir point B.II.d) ci-dessus), et qui a également été avancé dans les observations du Président de l'OEB, consiste à assimiler le résultat de la simulation à "l'effet technique" devant être pris en considération selon l'approche problème-solution (point 29). L'argument selon lequel l'effet technique va donc au-delà de la mise en œuvre par ordinateur de la simulation et de son résultat numérique est utilisé, entre autres, lorsque la simulation est décrite comme constituant une étape (intermédiaire) dans la production d'un système technique. Cet argument a été accepté dans l'arrêt "Logikverifikation" de la Cour fédérale allemande de justice (affaire X ZB 11/98, GRUR 2000, 498, voir décision de saisine, point 21 des motifs). La Grande Chambre estime toutefois que seuls les effets techniques qui sont au moins implicitement contenus dans les revendications devraient être pris en considération pour apprécier l'activité inventive. Si le procédé revendiqué génère une série de valeurs numériques, la question de savoir si un effet technique produit peut être pris en compte lors de l'appréciation de l'activité inventive dépend de l'utilisation qui sera faite ensuite des données correspondantes (utilisation qui peut résulter d'une action humaine ou intervenir automatiquement dans le cadre d'un procédé technique plus général). Si cette utilisation ultérieure n'est pas, au moins implicitement, contenue dans la revendication, elle ne sera pas prise en considération aux fins susvisées.
125. Dans leurs observations, plusieurs amici curiae ont renvoyé à la décision T 769/92 (JO OEB 1995, 525) pour étayer l'argument selon lequel les principes techniques qui sous-tendent le système ou le procédé simulé suffisent pour établir un problème technique. Au point I du sommaire de cette décision, l'intervention "de considérations techniques portant sur certains éléments de la solution du problème résolu par l'invention" est posée comme condition. Ainsi que le mentionne la décision de saisine, ce critère a été utilisé dans la décision T 769/92 pour appliquer l'obstacle posé par l'article 52(2)c) et (3) CBE quant au type d'invention susceptible de protection par brevet, puisque cette décision suivait encore "l'approche de la contribution à l'état de la technique" (point 34 des motifs de la décision de saisine, citant l'avis G 3/08, points 10.6et 10.7 des motifs). S'il est vrai que des considérations similaires liées à la "technicité" entrent en jeu pour les deux obstacles de l'approche COMVIK (voir point B.II.c) ci-dessus et G 3/08, point 10.13.1 des motifs), c'est le second obstacle qui est pertinent aux fins de l'article 56 CBE. Toutes les considérations techniques doivent ainsi se rapporter à l'invention, c'est-à-dire à la simulation, et non à l'état de la technique qui englobe le système ou le procédé simulé. Les considérations techniques qui peuvent être nécessaires pour comprendre le système ou le procédé simulé ne sont pas forcément pertinentes pour déterminer si l'invention résout un problème technique en produisant un effet technique. Selon l'approche COMVIK, les "considérations techniques" devraient conduire à des contributions au caractère technique de l'invention proprement dite. Si l'on applique ce raisonnement aux simulations assistées par ordinateur, seules les considérations techniques liées à une contribution possible au caractère technique de la simulation peuvent entrer en ligne de compte pour apprécier l'activité inventive.
126. Il semble que des principes similaires ont été appliqués dans la décision T 769/92 – même si cette dernière a été rendue bien avant l'affaire COMVIK. Les revendications en question portaient sur une invention mise en œuvre par ordinateur destinée à une utilisation dans un contexte commercial ("au moins pour la gestion financière et la gestion de stocks", voir revendications 1 et 2 citées au point V de l'exposé des faits et conclusions). La chambre ayant statué sur cette affaire a estimé qu'il était sans importance de savoir si les caractéristiques de "gestion" avaient trait à la gestion de processus commerciaux ou à celle de processus techniques, mais elle a fait observer que l'exclusion de la brevetabilité ne s'applique pas aux inventions "dont la réalisation dans le détail fait nécessairement intervenir des considérations techniques" (points 3.2 et 3.3 des motifs). L'invention revendiquée se caractérisait en particulier par la gestion indépendante de deux types différents de données, qui faisait appel à une seule interface utilisateur commune se présentant sous la forme d'un "bordereau de transfert" (points 3.7 et 3.8 des motifs). Autrement dit, "les considérations techniques" visées dans le sommaire de cette décision se rapportent aux considérations techniques nécessaires dans le contexte de la mise en œuvre du traitement des données, et non à la nature des données traitées ou au contexte économique ou technique dans lequel l'invention est appliquée.
IV. Jurisprudence actuelle concernant les simulations
127. La décision T 1227/05 est manifestement celle qui a été le plus souvent citée dans le cadre de la présente procédure. La demande en cause dans cette affaire portait sur un procédé assisté par ordinateur pour la simulation numérique d'un circuit électronique soumis à un bruit 1/f, la solution de la demande partant du principe selon lequel il est possible de simuler un bruit 1/f dans un circuit en alimentant le modèle avec des nombres aléatoires appropriés. De l'avis de la chambre ayant statué sur cette affaire, la facilité avec laquelle les nombres aléatoires étaient produits et la possibilité de calculer ces nombres séparément, avant même la simulation du circuit, permettaient d'obtenir une simulation sur ordinateur qui soit économique (point 1.3 des motifs). Dans son analyse au titre de l'article 56 CBE, la chambre a fait explicitement référence à l'approche COMVIK et a conclu que la simulation d'un circuit soumis à un bruit 1/f constitue un objectif technique suffisamment défini d'une invention mise en œuvre par ordinateur "dans la mesure où le procédé se limite fonctionnellement à l'objectif technique" (point 3.1 des motifs). Étant donné que le procédé était fonctionnellement limité à la simulation d'un circuit soumis à un bruit, la chambre a conclu qu'une telle simulation pouvait être considérée comme une caractéristique technique fonctionnelle (points 3.1.1 et 3.1.2 des motifs). Elle a précisé par ailleurs que l'indication générale d'un objectif technique (indéterminé) ne saurait être jugée suffisante. Il a été renvoyé à la revendication 4 de la demande de brevet initialement déposée ; cette revendication portait sur un procédé de simulation d'un système technique soumis à un bruit 1/f, mais elle n'a pas été maintenue au stade du recours (voir point 3.1.1 des motifs).
128. D'après la Grande Chambre, dans ce cas particulier, la chambre a conclu que l'effet de la simulation revendiquée pouvait être reconnu comme un effet technique. L'accent a été mis sur l'objectif "spécifique" et "limité" du produit généré par les procédés de simulation revendiqués, qui a été considéré comme présentant un caractère technique aux fins de l'article 52 CBE (voir l'intitulé du point 3 des motifs). Dans sa conclusion, la chambre n'a pas mentionné explicitement la constatation, citée plus haut, qu'elle avait faite et selon laquelle le procédé revendiqué permettait d'obtenir une simulation sur ordinateur qui soit économique. De l'avis de la Grande Chambre, des données numériques calculées, reflétant le comportement physique d'un système modélisé dans un ordinateur, ne sauraient d'ordinaire conférer à une invention un caractère technique en application de l'approche COMVIK, même si le comportement calculé reflète correctement le comportement d'un système réel qui sous-tend la simulation. Ce n'est que dans des cas exceptionnels que de tels effets calculés peuvent être considérés comme des effets techniques implicites (par exemple si de telles données ne peuvent être utilisées qu'à des fins techniques, voir point E.I.f) ci-dessus). Dans ce contexte, il n'appartient pas à la Grande Chambre de réexaminer la décision T 1227/05, qui a été prise compte tenu des circonstances spécifiques de l'affaire concernée, ni de déterminer si la position envisagée par la chambre à l'origine de la présente saisine s'écarterait de la décision T 1227/05. Comme il a été relevé plus haut (point 127), la chambre ayant statué sur l'affaire T 1227/05 n'a pas fondé sa décision sur la seule conclusion selon laquelle le système simulé constituait un système technique et ne pouvait être appréhendé et modélisé qu'en passant par des considérations techniques.
129. L'affaire T 625/11 concernait un procédé de détermination par un système informatique d'au moins une valeur limite d'au moins un paramètre de fonctionnement d'un réacteur nucléaire, ledit procédé comprenant une étape de simulation et aboutissant à une ou plusieurs valeur(s) numériques(s) pour une ou plusieurs valeur(s) limite(s), par exemple la puissance globale (P) du réacteur. La chambre a examiné en détail les exigences posées par l'approche COMVIK en matière de technicité, prenant en compte aussi bien les arguments favorables que les arguments défavorables à une reconnaissance de la position selon laquelle le calcul des valeurs limites conférait un caractère technique à l'invention revendiquée (points 7 et 8.4 des motifs). Selon l'un des principaux arguments défavorables examinés, les revendications qui ne couvraient aucune application technique des valeurs calculées engloberaient des utilisations à des fins non techniques, par exemple des utilisations par des autorités publiques ou à des fins pédagogiques (voir points 7.2.6 et 8.1 des motifs). Par conséquent, l'objet revendiqué ne pouvait pas être considéré comme impliquant une activité inventive dans toute l'étendue de la revendication (voir point 7.2.6 des motifs, citant la décision T 939/92 ; voir aussi le point E.I.b) ci-dessus).
130. La chambre ayant statué sur l'affaire T 625/11 a toutefois estimé que les questions pertinentes étaient les mêmes que dans l'affaire T 1227/05 et, suivant en définitive les conclusions formulées dans cette décision, elle a admis que les valeurs limites calculées pour le fonctionnement d'un réacteur nucléaire conféraient un caractère technique à l'invention (point 8.4 des motifs).
131. Le critère relatif à la nature technique ou non technique du système simulé en cause est également abordé dans la décision T 625/11, qui fait référence aux décisions T 531/09 et T 1265/09 (concernant toutes deux des simulations), décisions que la chambre a différenciées de la décision T 1227/05 au motif que les objets simulés dans ces affaires n'étaient pas de nature technique (point 8.3 des motifs). L'affaire T 531/09 portait sur un système informatique destiné à simuler un "poste de contrôle de sécurité, destiné au contrôle des personnes et de leurs bagages à main", par exemple dans un aéroport. La chambre ayant statué sur cette affaire a conclu que les retards techniques modélisés dans le contexte des simulations du poste de contrôle n'étaient pas techniques (puisqu'ils n'étaient pas liés aux spécifications techniques des appareils à rayons X ou des détecteurs de métaux utilisés au poste de contrôle) et que le procédé revendiqué était dès lors non technique (points 4 et 5 des motifs). La décision T 1265/09 portait sur des procédés mis en œuvre par ordinateur consistant à déterminer un programme efficace pour une pluralité d'agents planifiés dans un centre d'appels téléphoniques. Il a été considéré que l'effet lié à un programme efficace est un objectif commercial qui n'implique pas nécessairement d'effet technique (point 1.4 des motifs). Il semble que dans ces deux décisions, le résultat défavorable de l'appréciation au titre de l'article 56 CBE reposait (ou aurait pu reposer) sur l'absence d'effet technique produit par la simulation, et non sur la nature non technique du système simulé. Un autre exemple dans ce contexte est la décision T 1798/13, relative à un procédé de prévision de la valeur d'un produit financier structuré fondé sur la météo, lequel se basait sur l'entrée de données météorologiques réelles et le calcul d'une prévision météorologique. La chambre ayant statué sur cette affaire a estimé que la météo n'est pas un système technique, mais un système physique qui peut être modélisé à des fins de représentation du fonctionnement de ce système, et elle a rejeté l'argument du requérant selon lequel améliorer la fiabilité et la prévisibilité des données de prévision météorologique était un problème technique (points 2.10 et 2.11 des motifs). Il peut être ajouté que si l'amélioration des prévisions météorologiques ne peut assurément pas contribuer au caractère technique d'une invention lorsque la revendication en question porte sur la prévision de la valeur d'un produit financier, il en ira probablement autrement dans le cas où les données de prévision météorologique sont utilisées, par exemple, pour ouvrir ou fermer automatiquement les volets d'un bâtiment. La décision T 1798/13 mentionne aussi l'affaire T 2331/10, dans laquelle est notamment examinée la question de savoir si le fonctionnement d'éoliennes fondé sur des prévisions météorologiques répond à une finalité technique ou commerciale.
132. Ainsi qu'il a déjà été mentionné dans les parties introductives de la présente décision (point B.II.e) ci-dessus), la question de la brevetabilité des simulations en tant que telles ne s'est pas posée très souvent, ce qui tient en partie au fait qu'il est possible de l'éviter en revendiquant des étapes qui confèrent clairement un caractère technique à l'invention. Parmi les affaires où cette question s'est posée, on constate que la décision T 625/11 suit la décision T 1227/05, tandis que d'autres décisions s'écartent de l'approche retenue dans ces deux affaires (voir par exemple T 2331/10, point 5.4 des motifs).
133. La Grande Chambre adhère aux conclusions formulées dans les décisions T 1227/05 et T 625/11 dans la mesure où elles sont interprétées en ce sens que, selon elles, les procédés de simulation revendiqués dans ces affaires particulières avaient une fonction technique intrinsèque. La prise en compte, selon l'approche COMVIK, d'effets techniques potentiels, ou d'effets techniques qui sont simplement calculés, est toutefois soumise à des limites assez strictes (voir points E.I.d) à E.I.g) ci-dessus). Le critère souvent cité de l'affaire T 1227/05, selon lequel la simulation constitue un objectif technique suffisamment défini d'un procédé de simulation numérique si ce procédé se limite fonctionnellement à cet objectif, ne devrait pas être considéré comme un critère de l'approche COMVIK qui serait applicable de manière générale aux simulations assistées par ordinateur, les conclusions formulées dans l'affaire T 1227/05 étant fondées sur des circonstances spécifiques qui ne sont pas d'application générale.
134. La Grande Chambre n'a pu mettre en évidence aucune jurisprudence concernant des simulations assistées par ordinateur revendiquées comme faisant partie d'un procédé de conception (question de saisine 3). La jurisprudence afférente aux procédés de conception, en particulier les décisions T 453/91 et T 471/05, a toutefois été citée dans le cadre de la présente procédure. Dans la première décision, les revendications de procédé jugées admissibles portaient sur des procédés pour fabriquer des puces de semiconducteurs comprenant les deux étapes suivantes : a) concevoir et b) produire matériellement la puce (voir les revendications 3 et 4 du brevet EP 0 271 596). Au regard de la présente saisine, les revendications ne portaient pas sur des procédés de conception "en tant que tels". La présence d'une étape de fabrication serait bien entendu un argument en faveur de la brevetabilité de l'invention en application de l'approche COMVIK (développée ultérieurement). Dans la deuxième décision (T 471/05), un procédé pour concevoir un système optique utilisant un programme de conception optique a été jugé brevetable (voir revendication 1 du brevet EP 0 932 845). La référence à la mise en œuvre au moyen d'un programme informatique a permis de surmonter les objections soulevées au titre de l'article 52 CBE (point 4.1 des motifs). Cependant, dans le contexte de l'activité inventive, il n'a pas été fait référence à la nature technique ou non technique du procédé ou des étapes du procédé ni d'une quelconque manière à l'approche COMVIK (point 4.3 des motifs). La pertinence de cette décision pour les questions soumises est donc limitée. Par conséquent, la Grande Chambre ne voit aucune jurisprudence qu'il y aurait lieu de prendre en considération aux fins de la question de saisine 3.
135. Dans le cadre de la présente procédure de saisine, il a été renvoyé à un certain nombre de décisions nationales, notamment à l'arrêt "Logikverifikation" rendu par la Cour fédérale allemande de justice le 13 décembre 1999 (affaire X ZB 11/98) et à la décision Halliburton v. Comptroller-General of Patents [2011] EWHC 2508 (Pat) rendue par la Haute Cour d'Angleterre et du Pays de Galle (voir points 46 et 48 des motifs de la décision de saisine). Cependant, étant donné que les questions soumises ne sont interprétées que dans le cadre de l'approche COMVIK, approche qui a été spécifiquement établie dans la jurisprudence des chambres de recours et qui ne constitue pas le fondement de ces décisions nationales, la Grande Chambre ne juge pas opportun de traiter en détail ces décisions.
V. Conclusions en ce qui concerne l'application de l'approche COMVIK aux simulations
136. De l'avis de la Grande Chambre, l'approche COMVIK se prête à l'appréciation des simulations assistées par ordinateur. Comme toutes les autres inventions mises en œuvre par ordinateur, une simulation numérique peut être brevetable si une activité inventive peut être fondée sur des caractéristiques qui contribuent au caractère technique du procédé de simulation revendiqué.
137. Lorsque l'on applique l'approche COMVIK à des simulations, les modèles qui sous-tendent les simulations constituent des délimitations, qui peuvent être techniques ou non techniques. S'agissant de la simulation proprement dite, ces délimitations ne sont pas techniques. Elles peuvent toutefois contribuer au caractère technique si, par exemple, elles donnent lieu à une adaptation de l'ordinateur ou de son fonctionnement, ou si elles sont à l'origine d'une nouvelle utilisation technique du produit de la simulation (par exemple une utilisation ayant une incidence sur la réalité physique). Afin d'éviter qu'une protection par brevet ne soit accordée pour un objet non brevetable, une telle utilisation ultérieure doit être contenue, au moins implicitement, dans la revendication. Cela vaut aussi pour toute adaptation de l'ordinateur ou de son fonctionnement.
138. Ces mêmes considérations s'appliquent aux simulations qui sont revendiquées comme faisant partie d'un procédé de conception. Un procédé de conception constitue normalement une activité cognitive. Cependant, on ne saurait assurément exclure que des étapes d'un procédé de conception impliquant des simulations puissent à l'avenir contribuer au caractère technique d'une invention. De plus, le terme "conception" n'est pas clairement défini et il pourrait très bien y avoir des fonctions logicielles pouvant être associées, voire pouvant aboutir, à une "conception".
F. Conséquences pour les questions soumises
I. Question 1 – Problème technique résolu par une simulation en tant que telle
139. Aucune catégorie d'inventions mises en œuvre par ordinateur ne peut être exclue a priori de la protection par brevet. Ne serait-ce que pour cette raison, il doit être répondu par l'affirmative à la question 1. De plus, l'approche COMVIK exige d'évaluer la contribution technique apportée par chacune des caractéristiques d'une invention mise en œuvre par ordinateur. À l'instar de tout procédé mis en œuvre par ordinateur, une simulation dépourvue de produit ayant un lien direct avec la réalité physique peut néanmoins résoudre un problème technique.
II. Question 2B – Principes techniques comme condition suffisante
140. Il a été établi dans le cadre de l'approche COMVIK que, selon le contexte technique, des caractéristiques non techniques en soi peuvent néanmoins contribuer au caractère technique d'une invention revendiquée, tout comme des caractéristiques techniques en soi ne vont pas nécessairement y contribuer. De la même manière, la simulation de procédés non techniques peut contribuer au caractère technique d'une invention. Inversement, il se peut que la simulation d'un système technique ne contribue pas au caractère technique d'une invention.
141. Une simulation se fonde nécessairement sur les principes qui sous-tendent le système ou le procédé simulé. Même si ces principes peuvent être décrits comme étant de nature technique, la simulation ne présente pas nécessairement un caractère technique. S'il suffisait, aux fins de la question 2B, que la simulation repose sur des principes techniques, les simulations assistées par ordinateur seraient avantagées au sein de la catégorie plus générale des inventions mises en œuvre par ordinateur, sans pour autant qu'il y ait de fondement juridique qui explique un tel avantage. Il y a donc lieu de répondre par la négative à la question 2B, en conséquence de quoi, pour les simulations numériques également, il doit être déterminé au cas par cas s'il est satisfait aux critères classiques de technicité, tels qu'applicables aux inventions mises en œuvre par ordinateur.
142. Une simulation numérique qui contribue à la solution technique d'un problème technique peut même refléter des aspects non techniques, comme le comportement humain, lequel peut par exemple être représenté à l'aide de modèles reposant sur la théorie des jeux. Si le fait qu'un système ou un procédé simulé repose sur des principes non techniques signifiait nécessairement que cette simulation ne pouvait pas présenter de caractère technique, une catégorie spécifique de simulations numériques serait désavantagée, sans pour autant qu'il y ait de fondement juridique qui explique un tel désavantage. C'est pourquoi, la Grande Chambre ne juge ni suffisant ni nécessaire de prévoir une condition selon laquelle une simulation numérique devrait reposer, au moins en partie, sur des principes techniques qui sous-tendent le système ou le procédé simulé.
III. Question 3 – Simulation faisant partie d'un procédé de conception
143. D'après la Grande Chambre, la question 3 se rapporte aux revendications qui mentionnent explicitement un procédé de conception, en particulier un procédé de vérification d'une conception. Un procédé de conception constitue normalement une activité cognitive. Cependant, suivant l'approche COMVIK et selon le contexte technique, des caractéristiques relatives à une conception sont, ou ne sont pas, susceptibles de contribuer au caractère technique d'une invention revendiquée.
144. La Grande Chambre ne voit aucune raison de soumettre à des règles particulières les simulations qui sont revendiquées comme faisant partie d'un procédé de conception. Tout traitement particulier réservé à de telles combinaisons poserait des problèmes de délimitation, puisque la "conception" n'est pas un critère clair et que le terme proprement dit n'apparaîtra même pas nécessairement dans une revendication relative à un procédé de conception. De plus, il pourrait y avoir des incertitudes concernant l'applicabilité de telles règles particulières, étant donné que des étapes de conception peuvent être revendiquées dans des contextes qui ne sont pas liés aux simulations.
G. Dispositif
Par ces motifs, la Grande Chambre de recours répond comme suit aux questions de droit qui lui ont été soumises :
1. Une simulation assistée par ordinateur d'un système ou d'un procédé technique, qui est revendiquée en tant que telle, peut, aux fins de l'appréciation de l'activité inventive, résoudre un problème technique en produisant un effet technique allant au-delà de la mise en œuvre par ordinateur de la simulation.
2. Pour l'appréciation précitée, il ne suffit pas que la simulation repose, en tout ou en partie, sur des principes techniques qui sous-tendent le système ou le procédé simulé.
3. Les réponses à la première et à la deuxième question ne sont pas différentes lorsque la simulation assistée par ordinateur est revendiquée comme faisant partie d'un procédé de conception, notamment dans un but de vérification d'une conception.