Annexe II – Exemples de demandes de brevet européen
|
Le texte révisé de cette publication est entré en vigueur. |
Dispositif de pédalage pour bicyclette
Titre de l'invention (l'indication dans la requête en délivrance suffit)
La présente invention concerne un dispositif de pédalage et, plus particulièrement, un dispositif de pédalage pour bicyclette.
R. 42(1)a)
Domaine technique auquel se rapporte l'invention
Un dispositif de pédalage classique pour bicyclette selon l'état de la technique comme le montre la figure 10 comprend une bielle 60, deux pédales 61, une roue à chaîne 62, et une chaîne 64. Par conséquent, lorsque la bielle 60 est entrainée par les pédales 61, la roue à chaîne 62 est mise en rotation par la bielle 60 et entraine la chaîne 64 afin de faire avancer la bicyclette. Cependant, le bras de levier défini entre le centre de la roue à chaîne 62 et chacune des pédales 61 est plus court, de telle sorte que le cycliste doit exercer une force plus grande sur les pédales 61 pour faire avancer la bicyclette, ce qui représente un grand gaspillage d'énergie et d'efforts manuels pour le cycliste.
R. 42(1)b)
Indication de l'état de la technique
La présente invention a pour objet un dispositif de pédalage, et plus particulièrement un dispositif de pédalage pour bicyclette qui permet au cycliste d'actionner les pédales en économisant son énergie.
R. 42(1)c)
Problème technique à résoudre
La présente invention propose un dispositif de pédalage, comportant un siège de support, un arbre rotatif monté en rotation sur une première extrémité du siège de support, une roue à chaîne fixée et mise en rotation par l'arbre rotatif, deux roues à cliquet unidirectionnelles opposées chacune montée sur l'arbre rotatif pour la rotation de l'arbre rotatif, deux membres d'entraînement opposés ayant chacun une première extrémité disposée avec une douille à cliquet montée sur une roue à cliquet respective pour la rotation de manière unidirectionnelle de la roue à cliquet respective et une seconde extrémité formée avec une glissière allongée, une bielle montée de manière rotative sur une seconde extrémité du siège de support, deux arbres d'entraînement opposés disposés sur deux côtés opposés de la bielle pour sa mise en rotation, deux pédales montées chacune en rotation sur un arbre d'entraînement respectif, et deux supports de coulisseaux opposés chacun monté de manière pivotante sur un arbre d'entraînement respectif pour un déplacement solidaire de celui-ci et monté chacun de manière coulissante sur la glissière d'un membre d'entraînement respectif.
R. 42(1)c)
Exposé de l'invention
L'invention présente cet avantage que le bras de levier des membres d'entraînement entre la bielle et la roue à chaîne est plus long, ce qui augmente le moment de force du dispositif de pédalage, permettant d'économiser l'énergie et les efforts manuels du cycliste.
D'autres avantages et bénéfices de la présente invention deviendront apparents après une lecture attentive de la description détaillée avec une référence appropriée aux dessins accompagnants.
Dans les dessins :
R. 42(1)d)
Brève description des dessins
La figure 1 est une vue en perspective d'un dispositif de pédalage dans le mode de réalisation préféré de la présente invention.
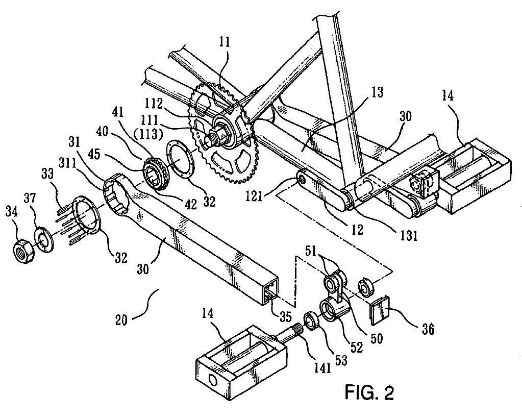
La figure 2 est une vue en perspective éclatée du dispositif de pédalage tel que représenté sur la figure 1.
La figure 3 est une vue en plan du dispositif de pédalage pour bicyclette tel que représenté sur la figure 1.
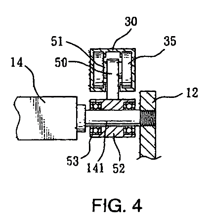
La figure 4 est une coupe transversale en plan du dispositif de pédalage tel que représenté sur la figure 1.
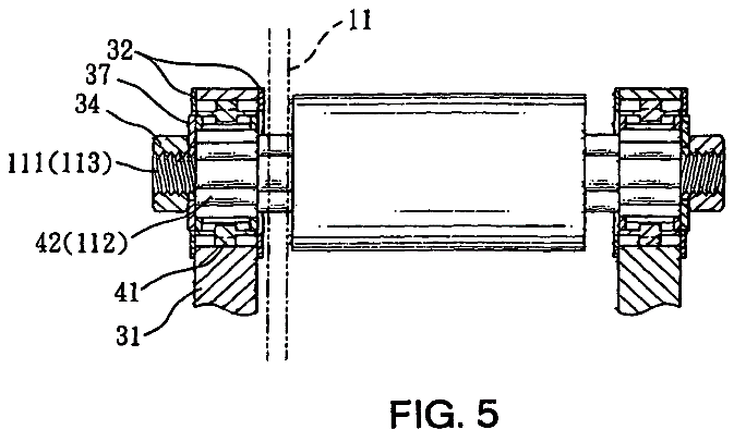
La figure 5 est une coupe transversale en plan du dispositif de pédalage tel que représenté sur la figure 1.
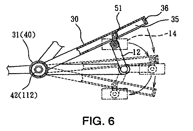
La figure 6 est une vue opérationnelle en coupe transversale en plan du dispositif de pédalage tel que représenté sur la figure 1.
La figure 7 est une vue localement élargie du dispositif de pédalage tel que représenté sur la figure 6.
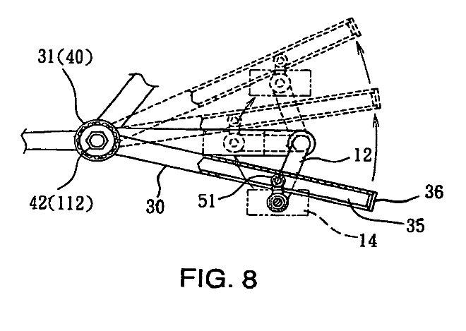
La figure 8 est un schéma opérationnel du dispositif de pédalage tel que représenté sur la figure 6.
La figure 9 est un schéma opérationnel du dispositif de pédalage tel que représenté sur la figure 7.
La figure 10 est une vue en perspective d'un dispositif classique de pédalage pour bicyclette selon l'état de la technique.
Concernant les dessins et initialement les figures 1 à 7, un dispositif de pédalage 20 pour bicyclette 10 dans le mode de réalisation préféré de la présente invention comporte un siège de support 13, un arbre rotatif 111 monté en rotation sur une première extrémité du siège de support 13, une roue à chaîne 11 fixée et mise en rotation par l'arbre rotatif 111, deux roues à cliquet unidirectionnelles opposées 40 chacune montée sur l'arbre rotatif 111 pour la rotation de l'arbre rotatif 111, deux membres d'entraînement opposés 30 ayant chacun une première extrémité disposée avec une douille à cliquet 31 montée sur une roue à cliquet respective 40 pour la rotation de manière unidirectionnelle de la roue à cliquet respective 40 et une seconde extrémité formée avec une glissière allongée 35, une bielle 12 montée de manière rotative sur une seconde extrémité du siège de support 13, deux arbres d'entraînement opposés 141 disposés sur deux côtés opposés de la bielle 12 pour sa mise en rotation 12, deux pédales 14 montées chacune en rotation sur un arbre d'entraînement respectif 141, et deux supports de coulisseaux opposés 50 chacun monté de manière pivotante sur un arbre d'entraînement respectif 141 pour un déplacement solidaire de celui-ci et monté chacun de manière coulissante sur la glissière 35 d'un membre d'entraînement respectif 30.
R. 42(1)e)
Description d'au moins un mode de réalisation de l'invention
L'arbre rotatif 111 a deux extrémités opposées formée chacune de 5 tenons de fixation hexagonaux 112 et d'une tige filetée 113.
Chacune des roues à cliquet 40 comporte une partie intérieure 45 formée avec un trou de fixation hexagonal 42 fixé sur le tenon de fixation 112 de l'arbre rotatif 111 pour la rotation de l'arbre rotatif 111, une partie extérieure 43 montée de manière rotative sur la partie intérieure 45 et ayant une paroi extérieure formée avec un engrenage d'entraînement 41 et une paroi intérieure formée avec une pluralité de rainures de blocage 430, et une pluralité des encliquetages unidirectionnels 44 ayant chacun une première extrémité montée de manière pivotante sur la partie intérieure 45 et une deuxième extrémité engagée sur la rainure de blocage respectif 430 de la partie extérieure 43.
La douille à cliquet 31 de chacun des membres d'entraînement 30 dispose d'une paroi intérieure formée à dents d'entraînement 311 engrenant avec un élément à dents entraîné 41 de la roue à cliquet respective 40 pour la rotation de la roue à cliquet respective 40. La douille à cliquet 31 de chacun des membres d'entraînement 30 est combinée avec la roue à cliquet respective 40 par deux bagues d'étanchéité opposées 32 qui sont disposées sur deux côtés opposés de la douille à cliquet 31 de chacun des membres d'entraînement 30 et sont fixés au moyen d'une pluralité de rivets 33.
Le dispositif de pédalage 20 comporte en outre deux rondelles 37 montées chacune sur une tige filetée respective 113 de l'arbre de rotation 111 et chacune reposée sur une roue à cliquet respective 40, et deux écrous 34 vissés chacun sur une tige filetée respective 113 de l'arbre de rotation 111 et chacun disposé sur une rondelle respective 37.
La deuxième extrémité du siège de support 13 est formée avec un trou de pivot 131. La bielle 12 est montée de manière pivotante dans le trou de pivot 131 du siège de support 13. Chacun des deux côtés de la bielle 12 dispose d'une extrémité distale formée avec un alésage de vis 121. Chacun des deux arbres d'entraînement 141 a une extrémité distale filetée vissée dans l'alésage de vis respectif 121 de la bielle 12 pour fixer chacun des arbres d'entraînement 141 à la bielle 12.
Chacun des supports de coulisseaux 50 dispose d'une première extrémité équipée des deux premiers roulements 51 montés de manière coulissante dans la glissière 35 du membre d'entraînement respectif 30 et d'une deuxième extrémité équipée avec un manchon 52 pour monter deux roulements secondaires 53 qui sont montés de manière rotative sur l'arbre d'entraînement respectif 141. Les premiers roulements 51 de chacun des supports de coulisseaux 50 sont limités dans la glissière 35 du membre d'entraînement respectif 30 par une capsule de coulisse 36 qui est montée sur une extrémité ouverte de la glissière 35 afin d'empêcher les premiers roulements 51 de chacun des deux supports de coulisseaux 50 d'être libérés de la glissière 35 du membre d'entraînement respectif 30.
En mode opératoire, selon les figures 1-9, lorsque le cycliste appuie sur les pédales 14, la bielle 12 est mise en rotation et elle fait se déplacer les deux supports de coulisseaux 50 vers le haut et vers le bas pour entraîner les membres d'entraînement 30 en pivot vers le haut et vers le bas comme le montre la figure 6, de sorte que la douille à cliquet 31 de chacun des membres d'entraînement 30 est mise en rotation pour faire effectuer une rotation à la roue à cliquet respective 40.
Comme le montre la figure 7, lorsque l'on fait pivoter l'un des membres d'entraînement 30 vers le bas, la roue à cliquet respective 40 est mise en rotation dans le sens des aiguilles d'une montre pour déplacer la partie extérieure 43 en rotation dans le sens des aiguilles d'une montre. À ce moment-là, les encliquetages unidirectionnels 44 de chacune des roues à cliquet 40 sont engagés dans les rainures de blocage 430 de la partie extérieure, de sorte que la partie intérieure 45 est entraînée et mise en rotation par la partie extérieure 43 pour actionner en rotation le trou de fixation 42 qui déplace en rotation le tenon de fixation 112 de l'arbre rotatif 111, afin de faire effectuer une rotation à l'arbre rotatif 111. Par conséquent, lorsque la roue à cliquet 40 est mise en rotation dans le sens des aiguilles d'une montre, l'arbre rotatif 111 effectue une rotation et met en rotation la roue à chaîne 11 qui fait avancer la bicyclette.
En sens contraire, lorsque l'on fait pivoter l'un des membres d'entraînement 30 vers le haut comme indiqué à la figure 8, la roue à cliquet respective 40 est mise en rotation dans le sens contraire des aiguilles d'une montre pour actionner en rotation la partie extérieure 43 comme indiqué à la figure 9. À ce moment-là, les encliquetages unidirectionnels 44 de chacune des roues à cliquet 40 sont désengagés des rainures de blocage 430 de la partie extérieure 43, de sorte que la partie intérieure 45 n'est pas mise en rotation par la partie extérieure 43, et la partie extérieure 43 effectue une rotation dans le vide. Par conséquent, lorsque la roue à cliquet 40 est mise en rotation dans le sens opposé à celui des aiguilles d'une montre, l'arbre rotatif 111 arrête d'effectuer une rotation, de sorte que la roue à chaîne n'effectue plus de rotation.
De cette manière, lorsque l'un des membres d'entraînement 30 pivote vers le haut comme indiqué à la figure 8, l'autre membre d'entraînement 30 pivote vers le bas comme indiqué à la figure 6, de sorte que la roue à chaîne 11 est mise en rotation successivement pour faire avancer la bicyclette successivement.
En conséquence, cela allonge le bras de levier des membres d'entraînement 30 entre la bielle 12 et la roue à chaîne 11, ce qui augmente le moment de force du dispositif de pédalage 20 de sorte que le cycliste peut appuyer sur les pédales 14 en économisant de l'énergie et des efforts manuels.
L'invention a été expliquée selon son (ses) mode(s) de réalisation préféré(s) tel(s) que décrit(s) ci-dessus. Il faut toutefois préciser que de nombreuses autres modifications ou variations possibles peuvent être effectuées sans altérer la portée de la présente invention. Il est entendu que la (les) revendication(s) en annexe inclue(nt) lesdites modifications ou lesdites variations entrant dans la portée réelle de l'invention.
1. Un dispositif de pédalier, comportant:
un siège de support 13 ;
un arbre rotatif 111, monté en rotation sur une première extrémité du siège de support 13;
une roue à chaîne 11, fixée et mise en rotation par l'arbre rotatif 111;
deux roues à cliquet unidirectionnelles opposées 40, chacune montée sur l'arbre rotatif 111 pour la rotation de l'arbre rotatif 111;
deux membres d'entraînement opposés 30, ayant chacun une première extrémité disposée avec une douille à cliquet 31, montée sur une roue à cliquet respective 40 pour la rotation de manière unidirectionnelle de la roue à cliquet respective 40 et une seconde extrémité formée avec une glissière allongée 35;
une bielle 12, montée de manière rotative sur une seconde extrémité du siège de support 13;
deux arbres d'entraînement opposés 141, disposés sur deux côtés opposés de la bielle 12 pour sa mise en rotation 12;
deux pédales 14 montées chacune en rotation sur un arbre d'entraînement respectif 141;
deux supports de coulisseaux opposés 50 chacun monté de manière pivotante sur un arbre d'entraînement respectif 141 pour un déplacement solidaire de celui-ci et monté chacun de manière coulissante sur la glissière 35 d'un membre d'entraînement respectif 30.
l'arbre rotatif 111 a deux extrémités opposées formées chacune avec un tenon de fixation hexagonal 112 et une tige filetée 113;
chacune des roues à cliquet 40 comporte une partie intérieure 45 formée avec un trou de fixation hexagonal 42 fixé sur le tenon de fixation 112 de l'arbre rotatif 111 pour la rotation de l'arbre rotatif 111 et une partie extérieure 43 montée de manière rotative sur la partie intérieure 45 et ayant une paroi extérieure formée avec un engrenage d'entraînement 41 ;
la douille à cliquet 31 de chacun des membres d'entraînement 30 dispose d'une paroi intérieure formée à dents d'entraînement 311 engrenant avec un élément à dents entraîné 41 de la roue à cliquet respective 40 pour la rotation de la roue à cliquet respective 40.
3. Le dispositif de pédalier selon la revendication 2, comportant en outre deux rondelles 37 montées chacune sur une tige filetée respective 113 de l'arbre de rotation 111 et chacune reposée sur une roue à cliquet respective 40 et de deux écrous 34 vissés chacun sur une tige filetée respective 113 de l'arbre rotatif 111 et chacun disposé sur une rondelle respective 37.
4. Le dispositif de pédalier selon la revendication 2, caractérisé en ce que la douille à cliquet 31 de chacun des membres d'entraînement 30 est combinée avec la roue à cliquet respective 40 par deux bagues d'étanchéité opposées 32.
5. Le dispositif de pédalier selon la revendication 4, caractérisé en ce que les bagues d'étanchéité 32 sont disposées sur deux côtés opposés de la douille à cliquet 31 de chacun des membres d'entraînement 30 et sont fixées au moyen d'une pluralité de rivets 33.
6. Le dispositif de pédalier selon la revendication 1, caractérisé en ce que chacun des deux supports de coulisseaux 50 dispose d'une première extrémité équipée des deux premiers roulements 51 montés de manière coulissante dans la glissière 35 du membre d'entraînement respectif 30 et d'une deuxième extrémité équipée avec un manchon 52 pour monter deux roulements secondaires 53 qui sont montés de manière rotative sur l'arbre d'entraînement respectif 141.
7. Le dispositif de pédalier selon la revendication 6, caractérisé en ce que les premiers roulements 51 de chacun des deux supports de coulisseaux 50 sont limités dans la glissière 35 du membre d'entraînement respectif 30 par une capsule de coulisse 36 qui est montée sur une extrémité ouverte de la glissière 35 afin d'empêcher les premiers roulements 51 de chacun des sièges de coulisse 50 d'être libérés de la glissière 35 du membre d'entraînement respectif 30.
8. Le dispositif de pédalier selon la revendication 1, caractérisé en ce que la deuxième extrémité du siège de support 13 est formée avec un trou de pivot 131, et en ce que la bielle 12 est montée de manière pivotante dans le trou de pivot 131 du siège de support 13.
9. Le dispositif de pédalier selon la revendication 1, caractérisé en ce que chacun des deux côtés de la bielle 12 dispose d'une extrémité distale formée avec un alésage de vis 121, et en ce que chacun des deux arbres d'entraînement 141 a une extrémité distale filetée vissée dans l'alésage de vis respectif 121 de la bielle 12 pour fixer chacun des arbres d'entraînement 141 à la bielle 12.
10. Le dispositif de pédalier selon la revendication 1, caractérisé en ce que la partie extérieure de chacune des roues à cliquet 40 dispose d'une paroi intérieure formée avec une pluralité de rainures de blocage 430, et en ce que chacune des roues à cliquet 40 inclut en outre une pluralité d'encliquetages unidirectionnels 44 ayant chacun une première extrémité montée de manière pivotante sur la partie intérieure et une deuxième extrémité engagée sur la rainure de blocage respectif 430 de la partie extérieure 43.
Abrégé
Dispositif de pédalage pour bicyclette
R. 47(1)
Titre de l'invention
Un dispositif de pédalage pour bicyclette comporte un siège de support 13, un arbre rotatif 111, une roue à chaîne 11, deux roues à cliquet unidirectionnelles opposées 40, deux membres d'entraînement opposés 30, une bielle 12, deux arbres d'entraînement opposés 141, deux pédales 14, et deux supports de coulisseaux opposés 50. Par conséquent, cela allonge le bras de levier des membres d'entraînement entre la bielle et la roue à chaîne, ce qui augmente le moment de force du dispositif de pédalage de sorte que le cycliste peut appuyer sur les pédales en économisant de l'énergie et des efforts manuels.






